国防科技大学本硕博,长期从事密码工程研究,曾任鼎铉公司副总工程师、区块链事业部部长,中国密码学会区块链专委会秘书长,深圳市坪山区高层次人才,北京大学网络空间安全研究院专家,深圳市商用密码行业协会专家。
鼎链数科是一家聚焦新型密码技术的新一代信息技术企业,面向政务、金融、能源、医疗、教育等行业需求,提供商用密码、区块链、隐私计算等产品和融合解决方案,解决数据确权、数据交易、安全存储、安全计算、权责追溯等关键问题,保障数据要素安全流通。鼎链数科研发的区块链密码节点机产品获得了国家密码管理局颁发的全国首张“区块链密码模块”证书,标志着公司在区块链关键技术自主创新方面取得了全国首创成果。
鼎链数科拥有高新技术企业、创新型中小企业等资质,获得“2022年数字中国创新大赛一等奖”、“大湾区高成长性企业 TOP50”、“产业区块链企业100强”等多项荣誉,成功入选工信部《区块链典型应用案例名单》及《首届全国商用密码应用优秀案例》。
鼎链数科是中国密码学会区块链专委会依托单位、可信区块链推进计划理事成员单位、司法部信息安全与智能装备重点实验室共建单位,牵头及参与编制《区块链密码使用指南》等多项行业标准和国家标准。鼎链数科,以新型密码技术赋能数据要素安全流通,助力数字经济发展。命力;致力于为各类客户供给高端品质的产品和技术服务。
首席市场官徐江斌博士:国防科技大学本硕博,曾负责中国电科信创市场业务开拓和生态建设,拥有卓越的市场洞察力和渠道建设能力,负责公司市场团队建设和公司业务开拓,军队科技进步三等奖,排名第一,军队科技进步二等奖,排名第二。
创始人&首席科学家李大为博士:哈工大(深圳)二级研究员、浙江大学兼职教授,中国密码学会区块链专委会主任、深圳市商用密码行业协会会长,曾任国家密码管理局检测中心主任,国家科学技术进步奖二等奖2 项(排名第1和第2),国家技术发明二等奖1项,百千万人才工程国家级人选。
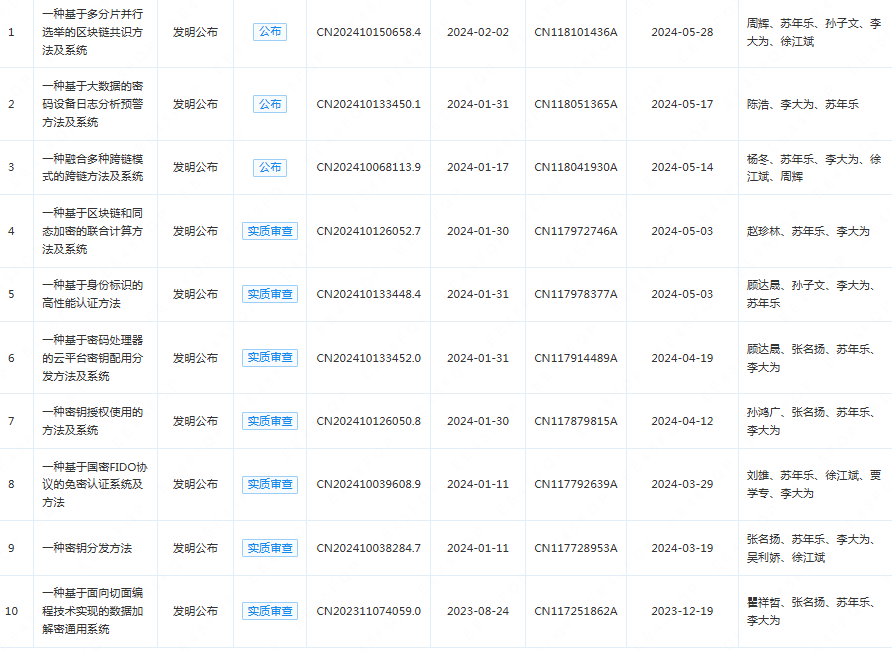
鼎链数字科技拥有多项知识产权,基中29项专利,27项软件著作权。





"i福田"小程序
幸福福田公众号
福田政务公众号