福田区人民政府办公室关于印发《福田区政府投资项目设计—采购—施工(EPC)工程总承包管理办法》的通知
信息提供日期 : 2021-12-30 17:29 来源 :深圳市福田区人民政府办公室
(2021年12月28日)
福府办规〔2021〕9号
各街道办事处、区政府直属各单位,市驻区各单位:
《福田区政府投资项目设计—采购—施工(EPC)工程总承包管理办法》已经区政府八届四次常务会议审议通过,现予印发,请结合实际认真贯彻落实。
福田区政府投资项目设计—采购—施工(EPC)工程总承包管理办法
第一章 总则
第一条 为规范福田区政府投资项目设计—采购—施工(EPC)工程总承包活动,提升工程建设质量和效益,根据《政府投资条例》(国令第712号)、《住房和城乡建设部 国家发展改革委关于印发房屋建筑和市政基础设施项目工程总承包管理办法的通知》(建市规〔2019〕12号)及相关法律、法规和规定,结合福田区实际,制定本办法。
第二条 本办法所称设计—采购—施工(EPC)工程总承包(以下简称“EPC总承包”),是指总承包单位按照与建设单位签订的合同,对工程设计、采购、施工等阶段实行总承包,并对工程的质量、安全、工期和造价等全面负责的工程建设组织实施方式。
第三条 EPC总承包项目原则上适用于建设内容明确、技术方案成熟的工程项目,如学校、保障性住房、市政道路、装配式建筑等房屋建筑和市政工程项目;建设规模较大、内容复杂的信息化建设项目,如智慧城市、智慧园区(信息化建设)、数据中心等;以及其他经区政府会议审定需采用EPC模式推进的项目。
第四条 EPC总承包活动应当遵循合法、公平、择优和诚实守信的原则,合理分担风险,保证工程质量和安全,节约能源,保护生态环境,不得损害社会公共利益和他人的合法权益。
第五条 鼓励需策划运营的EPC总承包项目采用EPC+O模式提高项目运营效率。采用该模式的,应在总承包方案、招标文件中明确对项目的运维要求、运营方案、服务需求等相关事项,并应符合相关法律法规规定。
第二章 发包与承包阶段
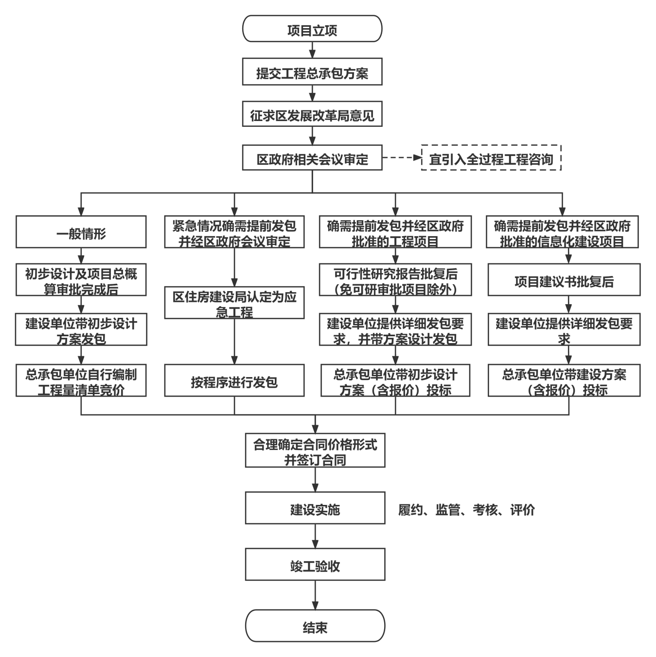
第六条 拟实行EPC总承包的项目,由建设单位提出总承包方案,经征求区发展改革局意见后报区政府相关会议审定。总承包方案内容包括项目基本情况、选择方式、建设标准、组织实施方式、计价模式、监督方式和运营方案(如有)、专用合同条款(或补充协议)等内容。
EPC总承包项目应当严格执行基本建设程序,遵守政府投资项目管理的各项规定。
第七条 采用EPC总承包模式的政府投资项目,原则上应当在初步设计及项目总概算审批完成后进行EPC总承包项目发包。
对于建设规模与标准明确,建设内容及方案预期稳定,且属于紧急情况确需提前发包的,可由建设单位报区政府会议审定后,向区住房建设局提出申请认定为应急工程后进行EPC总承包项目发包。
工程项目确需提前发包的,且建设规模与标准明确,建设内容及方案预期稳定的,应当经区政府批准,在可行性研究报告批复(免可研审批项目除外)后进行EPC总承包项目发包。信息化建设项目确需提前发包的,应当经区政府批准,在项目建议书批复后进行EPC总承包项目发包。
第八条 建设单位依法采用招标或直接发包等方式选择总承包单位,并负责合同签订和合同管理工作。EPC总承包项目范围内的设计、采购或者施工中有任一项属于依法必须进行招标的项目范围且达到国家规定规模标准的,应当采用招标的方式选择总承包单位。
第九条 EPC总承包项目招标,在坚持“公开、公平、公正”原则基础上,分以下情况进行:
(一)初步设计及项目总概算审批完成后发包的EPC总承包项目,由建设单位带初步设计方案进行发包,总承包单位自行编制工程量清单进行竞价;
(二)可行性研究报告批复(免可研审批项目除外)后发包的EPC总承包项目,由建设单位提供详细发包要求,带方案设计进行发包,总承包单位带初步设计方案(含报价)进行投标;
(三)项目建议书批复(仅限信息化建设项目)后发包的EPC总承包项目,由建设单位提供详细发包要求,总承包单位带建设方案(含报价)进行投标。
第十条 建设单位应当根据招标项目的特点和需要提前编制EPC总承包项目招标文件。建设单位应当在招标文件中明确工程支付担保的要求,同时提出对履约担保的要求,依法要求投标文件载明拟分包的内容;对后续运营阶段有需求的项目,应在招标文件里提出运营需求;对于设有最高投标限价的,应当明确最高投标限价或者最高投标限价的计算方法。
第十一条 建设单位应根据项目特点合理确定合同价格形式,并在合同中具体约定计量规则和计价方法。
(一)采取固定总价合同的,建设单位在明确初步设计方案、项目总概算、建设规模、建设标准后,负责编制招标控制总价和招标估算工程量清单或招标单位经济指标。由总承包单位自行编制投标总价和投标估算工程量清单或投标单位经济指标进行竞价。原则上,地下部分采用固定单价,地上部分采用固定总价,房屋建筑项目应同时实行单位经济指标包干。
(二)采用固定综合单价包干合同的,建设单位在明确方案设计、建设规模、建设标准后,负责编制招标估算工程量清单和招标综合单价。总承包单位按招标估算工程量清单填报投标综合单价竞价。合同明确约定投标竞价作为最终结算依据,工程量按实结算。
(三)采用EPC模式发包的信息化建设项目,建设单位在明确建设规模、建设标准等内容后,负责编制招标控制总价,总承包单位自行编制建设方案、配置清单、投标总价和下浮率进行竞价。
第十二条 建设单位和总承包单位应当加强风险管理,合理分担风险。建设单位承担的风险主要包括:
(一)主要工程材料、设备、人工价格与招标时基期价相比,波动幅度超过合同约定幅度的部分;
(二)因国家法律法规政策变化引起的合同价格的变化;
(三)不可预见的地质条件造成的工程费用和工期的变化;
(四)因建设单位原因产生的工程费用和工期的变化;
(五)不可抗力造成的工程费用和工期的变化。
具体风险分担内容由双方在合同中约定。鼓励建设单位和总承包单位运用保险手段增强防范风险能力。
第十三条 EPC总承包项目宜引入全过程工程咨询服务,以满足建设单位一体化服务需求,增强工程建设过程的协同性。全过程工程咨询单位应按照合同约定,负责协助分析建设单位投资风险,固化设计方案,明确建设标准和规范,对EPC总承包单位进行监理等工作。
对于引入全过程工程咨询单位的项目,建设单位应与全过程工程咨询单位签订全过程工程咨询合同,合同中应明确约定双方的权利义务、咨询服务范围、内容、成果文件表现形式,成果质量与工期目标,全过程工程咨询服务酬金(或计费方式)、变更程序等内容。委托双方应当严格按照合同约定履行义务,不得将项目转包或违法分包。
第三章 实施阶段
第十四条 EPC总承包项目招标可以按下列方式之一设置投标人资格条件:
(一)具备EPC总承包管理能力的独立法人单位;
(二)具备与招标工程规模相适应的工程设计资质(事务所资质除外)或施工总承包资质;
(三)具备与招标项目规模相适应的信息化相关资质(仅限信息化建设项目)。
前款第(一)项所称具备EPC总承包管理能力的独立法人,必须具有与EPC总承包相适应的组织机构、项目管理体系、专业管理人员,以及同类工程建设管理的经验(业绩)。具体标准由招标人在招标文件中明确。
EPC总承包项目实施时,承担设计、施工任务的单位应当具有相应的资质条件。按照前款第(一)项确定总承包单位的EPC总承包项目,总承包单位不具备工程规模相适应的工程设计或施工总承包资质的,总承包单位应当在建设工程交易服务平台通过公开招标方式择优确定符合资质要求的单位承担相应工程任务。
第十五条 除上述资格条件外,总承包单位还应当满足下列条件:
(一)具有相应的组织机构、项目管理体系、项目管理专业人员、项目管理能力、财务和风险承担能力;
(二)具有与发包工程相类似的设计、施工或者EPC总承包业绩;
(三)具有良好的资信水平,能提供不低于总承包合同额或投标价10%的履约保函等;
(四)相关法律法规规定的其他条件,具体由招标人在招标文件中明确。
第十六条 承接装饰装修工程的EPC总承包单位应当同时具有与工程规模相适应的建筑装饰装修工程设计与施工资质,或者由具有相应资质的设计单位和施工单位组成联合体。
第十七条 设计单位和施工单位组成联合体的,应基于项目特点,由总承包单位合理明确双方职责,确保项目顺利推进。
第十八条 EPC总承包项目经理应当具备下列条件:
(一)对工程类EPC项目,取得相应工程建设类注册执业资格,包括注册建筑师、勘察设计注册工程师、注册建造师、注册造价工程师、注册监理工程师等一项或多项执业资格或拥有与工程建设相关的专业技术和项目管理能力;对信息化建设类EPC项目,取得相应项目管理专业资格认证;
(二)担任过与拟建项目相类似的EPC总承包项目经理、项目设计负责人、施工总承包项目经理或者项目总监理工程师;
(三)熟悉工程技术和EPC总承包项目管理知识以及相关法律法规、标准规范;
(四)具有较强的组织协调能力和良好的职业道德。
EPC总承包项目经理不得同时在两个或者两个以上工程项目担任EPC总承包项目经理、施工项目负责人。以联合体形式承接项目的总承包单位,EPC总承包项目经理应由联合体牵头单位派员担任,满足相应条件的可以兼任其承接业务的设计负责人或施工负责人。
第十九条 全过程工程咨询单位应当具有与工程规模及委托内容相适应的管理能力或资质条件。同一项目的全过程工程咨询单位与总承包、施工、材料设备供应单位之间不得有利害关系。
以联合体形式实施的全过程工程咨询,应当明确牵头单位及各联合体成员单位的权利、义务和责任。联合体各方应当共同与建设单位签订全过程工程咨询服务合同,就工程咨询业务对建设单位承担连带责任。
第二十条 全过程工程咨询项目负责人应当取得工程建设类注册执业资格且具有工程类、工程经济类高级职称,并具有类似工程经验。信息化建设类EPC项目,全过程工程咨询项目负责人应当取得电子工程类、信息工程类注册执业资格。对于全过程工程咨询服务中承担工程设计、监理或造价咨询业务的相应负责人,应具有法律法规规定的相应执业资格。
第二十一条 除以暂估价形式包括在总承包合同范围内且依法必须进行公开招标的项目外,总承包单位可以直接分包总承包合同中涵盖的其他专业业务。专业工程分包除合同中另有约定外,必须经建设单位认可。分包的范围、内容和分包单位的资质条件、选择方式及程序等应在总承包合同中明确。
总承包单位应当对其承包的全部建设工程质量负责,分包单位对其分包工程的质量负责,分包不免除总承包单位对其承包的全部建设工程所负的质量责任。
总承包单位、EPC总承包项目经理依法承担质量终身责任。
第二十二条 总承包单位不得将EPC总承包项目进行转包,不得将EPC总承包项目工程主体结构的设计、施工业务分包给其他单位,钢结构工程除外。不得将工程分包给不具备相应资质条件的单位。分包单位不得将其承包的工程再分包。
第二十三条 建设单位和总承包单位不得擅自变更建设内容、扩大建设规模和提高建设标准。确有需要进行工程变更的,应在确保技术标准和工程质量的前提下,按照能够显著控制或降低工程造价、有利于加快施工进度和提升施工品质的原则提出。工程发生较大变更时需进行多方案比选,选取最优方案变更。
总承包单位须建立完备的总承包项目管理体系,加强设计、采购、施工之间的专业协作,减少不必要的工程变更。
第二十四条 总承包单位、监理单位等项目参建单位应参与建设单位组织的工程竣工验收;工程竣工验收中总承包范围内涉及设计、施工等由总承包单位全面负责。
第二十五条 EPC总承包项目应明确约定提前退出的责任划分、退出程序、赔偿条款以及应急方案等。
第二十六条 总承包合同存续期间发生争议的,当事各方在争议解决过程中,应当继续履行总承包合同义务,保证EPC总承包项目的正常开展。不能达成共识的,依法提请仲裁机构或法院裁决。
第二十七条 EPC总承包项目应纳入智慧化全过程监管平台,各审批监管部门应对EPC总承包项目从立项到运营全过程重要节点进行行为记录和实时评分,促使项目规范高效推进。
第二十八条 建设单位应按照相关政府投资项目履约评价规定对EPC总承包项目进行履约评价,并对履约评价结果负责。区住房建设局负责在区政府相关网站公示EPC总承包项目的履约评价结果。
第二十九条 区审计局依法对EPC总承包项目进行审计监督,有重点地对项目建设和管理情况实施跟踪审计,促进EPC总承包项目规范管理,提高政府投资绩效。
第四章 参建各方的责任与义务
第三十条 建设单位的主要职责:
(一)不得迫使总承包单位以低于成本的价格竞标,不得明示或者暗示总承包单位违反工程建设强制性标准、降低建设工程质量,不得以任何方式要求检测机构出具虚假报告,不得明示或者暗示总承包单位使用不合格的建筑材料、建筑构配件和设备;
(二)不得对总承包单位提出不符合建设工程安全生产法律法规和强制性标准规定的要求,不得明示或者暗示总承包单位购买、租赁、使用不符合安全施工要求的安全防护用具、机械设备、施工机具及配件、消防设施和器材;
(三)不得设置不合理工期,不得任意压缩合理工期;
(四)应明确建设需求,组织编制项目建议书、可行性研究报告、方案设计、初步设计和总承包方案等,做好EPC总承包项目发包工作;
(五)应开展与项目相关的拆迁补偿工作,协助总承包单位开展管线搬迁和“三通一平”等工作,并向总承包单位、监理单位等提供与项目相关的原始资料;
(六)应协助总承包单位报批报建工作,协调相关政府部门加快办理项目相关手续;
(七)应确认总承包单位提交的扩大初步设计(如有)、施工图设计、分项工程设计、工程变更、项目总概算(如有)和预算等;
(八)应监督总承包单位对建设资金的使用情况,对不符合要求的款项支付有权要求整改;
(九)应监督项目的造价、质量、进度、安全、环保、节能减排和工期等,要求总承包单位、分包单位等对违规行为进行纠正;
(十)应履行合同中约定的合同价格调整、付款、竣工结算义务,协助总承包单位完成工程结算审计,负责项目竣工财务决算报审工作;
(十一)应对EPC总承包项目开展客观、全面和公正的履约评价;
(十二)总承包合同约定及法定的其他事项。
第三十一条 总承包单位的主要职责:
(一)按照总承包合同约定,负责项目的设计、采购、施工、交付等项目全过程管理工作,严格控制投资、质量和工期,对项目的安全、文明施工负责;
(二)建立与EPC总承包项目相适应的组织机构和管理制度,形成项目设计、采购、施工、试运行管理以及质量、安全、工期、造价、节约能源和生态环境保护管理等EPC总承包综合管理能力;
(三)设立项目管理机构,设置项目经理,配备相应管理人员,加强设计、采购与施工的协调,完善和优化设计,改进施工方案,并定期向建设单位汇报EPC总承包项目的实施进展;
(四)编制和报批相关文件,包括设计、项目总概算(如有)、施工图设计和开工许可等,其中设计、项目总概算等文件需经建设单位确认后申报;
(五)选择、管理和监督分包单位的职责履行,按期报送分包合同、材料设备供应合同等至建设单位备案;
(六)向建设单位申报年度资金使用计划、管理项目建设资金的使用,并按进度支付分包合同和材料设备供应合同等合同价款;
(七)负责编制竣工文件、工程结算资料,竣工验收时提交完整的过程资料和报告;
(八)完成项目移交及总承包合同中约定的管理和维护等工作,配合建设单位完成竣工后试运行工作;
(九)与EPC总承包项目经理对已交付使用的工程承担质量终身责任,对出现的质量缺陷及时维修并承担其责任范围内的相关费用;
(十)总承包合同约定的其他事项。
第三十二条 分包单位的主要职责:
(一)对其分包工程的质量负责;
(二)服从总承包单位的安全生产管理,分包单位不服从管理导致生产安全事故的,由分包单位承担主要责任,分包不免除总承包单位的安全责任;
(三)分包合同约定的其他事项。
第三十三条 监理单位由建设单位按有关规定委托。监理单位的主要职责:
(一)对EPC总承包范围内的工程质量和施工安全实施监督管理,配备与监理工作相适应的监理人员,并承担相应监理责任;
(二)在项目实施过程中发现设计、施工行为违反法律法规或者合同约定的,应当要求总承包单位予以改正;总承包单位拒不改正的,应当及时报告建设单位;
(三)监理合同约定的其他事项。
第五章 附则
第三十四条 本办法由福田区发展改革局负责解释。
第三十五条 本办法自2022年1月7日起施行,有效期3年。
附件:1.福田区政府投资项目设计—采购—施工(EPC)工程总承包实施细则
2.福田区政府投资项目设计—采购—施工(EPC)工程总承包实施流程图
3.福田区政府投资项目设计—采购—施工(EPC)工程总承包合同指南
附件1
福田区政府投资项目设计—采购—施工(EPC)
工程总承包实施细则
第一章 总则
第一条 为规范福田区政府投资设计—采购—施工(EPC)工程总承包(以下简称“EPC总承包”)实施,细化EPC总承包项目的操作流程,根据《福田区政府投资项目设计—采购—施工(EPC)工程总承包管理办法》及相关法律、法规和规定,制定本实施细则。
第二条 福田区政府投资的EPC总承包项目适用本细则。
第三条 对设计个性化要求较高、建筑材料及施工工艺特殊、建设需求不明确、预期不稳定、地下工程占比较大的项目不宜采用EPC模式。
第二章 发包与承包阶段
第四条 EPC总承包项目招标文件的编制按照国家有关规定执行:
(一)招标文件主要包括以下内容:
1.投标人须知;
2.评标办法和标准;
3.拟签订合同的主要条款;
4.建设单位要求;
5.建设单位提供的资料和条件;
6.投标文件格式;
7.要求投标人提交的其他材料。
(二)建设单位提供的资料和条件,包括发包前完成的水文地质、工程地质、地形等勘察资料,以及可行性研究报告、方案设计文件或者初步设计文件等;
(三)招标文件中应当列明项目的目标、内容、范围、设计和其他技术标准,包括对项目的内容、范围、规模、标准、功能、质量、安全、节约能源、生态环境保护、工期、验收和运营(如有)等的明确要求;
(四)招标文件中应当明确建设单位和中标人的责任和权利,主要包括:工作范围、风险分配、项目目标、奖惩条款、计量支付条款、变更程序及变更价款的确定条款、价格调整条款、索赔程序及条款、工程保险、不可抗力处理条款等;
(五)招标文件中应当要求投标人在其投标文件中载明拟分包内容;
(六)对于设有最高投标限价的,建设单位应当在招标文件中明确最高投标限价或者最高投标限价的计算方法。
第五条 依法必须进行招标的EPC总承包项目,招标文件自开始发布至提交投标文件截止,不得少于二十日。工期特别紧急,且不要求投标人编制技术标书,不进行技术标评审的,招标文件自开始公布至提交投标文件截止不得少于五个工作日。
第六条 建设单位和总承包单位就技术问题和商务条件达成一致后依法签订总承包合同。合同载明双方的权利义务、项目的质量和工期目标、费用的计量和支付、设计变更的程序等内容。
第七条 建设单位应根据法律、法规和规章的规定,结合具体工程实际与以往项目经验,就工期、质量、安全、造价、监管等方面的内容制定专用条款或补充协议,强化合同精细化管理。
提前发包的信息化建设项目,建设单位应签署过程监管协议作为正式合同的补充文件。
第八条 总承包单位签收中标通知书后三十日内需与建设单位签订合同。当合同内容存在理解歧义或者与原招标文件偏离度大的,建设单位与总承包单位需进行澄清,澄清内容不得背离原招标文件约定,且不改变合同实质性内容。
第三章 实施阶段
第九条 总承包单位根据总承包合同或建设单位的授权委托书直接到政府部门申请办理相关审批手续,各政府部门应予以认可并加快办理。
第十条 总承包单位按合同约定选择分包单位和材料设备供应单位,须将相应的单位名录、资质条件以及合同文本等文件及时报建设单位备案。
第十一条 EPC总承包项目应推行限额设计,按照批复的投资估算控制初步设计,按照批复的项目总概算控制施工图设计,并按照分配限额控制各个专业的设计。
第十二条 建设单位应当根据工程项目的规模和复杂程度,咨询服务的范围、内容和期限等确定全过程工程咨询服务酬金。全过程工程咨询服务酬金可按项目管理酬金叠加各专业咨询服务酬金计取,也可按人工成本加酬金方式计取。全过程工程咨询服务酬金在项目投资中列支的,所对应的单项咨询服务费用不再列支。
第十三条 总承包单位应当根据实际工作进度和资金需求,代编年度资金计划和项目用款报告,报建设单位审核。建设单位按程序向区发展改革局和区财政局申请下达资金,并依据区政府相关核算制度和总承包合同约定向区国库支付中心申请资金拨付。
第十四条 总承包单位应根据规划及设计要求,充分考虑技术、投资、效益等因素以及后续施工过程中涉及的重要施工措施,把控设计关键节点,科学合理确定设计总进度及分阶段进度计划,对所负责设计工作的质量全面把关,避免后续环节中工程变更的发生。
第十五条 建设单位提出工程变更的,应说明计划变更的范围和内容,并通过书面形式发出。所有设计图纸经审核完成并经建设单位确认以后方可施工。工程变更导致的费用和工期增加按总承包合同约定及相关规定执行。
第十六条 总承包单位提出工程变更的,应说明变更的内容、理由以及实施该变更对合同价格和工期的影响。建设单位应对工程变更的必要性及内容进行书面确认批准。
第十七条 建设单位与总承包单位应当在EPC总承包合同中对履约评价的内容做出详细约定。对总承包单位履约评价可包括但不限于以下内容:人员配备与履职、质量控制、安全管理、进度控制、成本与资金管理、转包与分包、现场管理等。
依照合同约定,总承包单位存在不良履约行为或履约行为与EPC总承包合同存在偏差的,建设单位应及时纠正或追究总承包单位的责任。
第十八条 建设单位和总承包单位应根据项目特点,建立完整的工程项目档案,保管好项目审批、实施阶段的过程资料,特别是基础工程、隐蔽工程的资料。建设单位应及时完成总承包单位、监理单位的资料移交工作,在竣工验收合格后按规定的期限向档案管理机构移交建设工程档案。
第十九条 当项目完工且具备完整的技术档案、施工管理资料、材料设备试验报告、各方签署的质量合格文件以及工程保修书时,总承包单位可向建设单位申请办理工程竣工验收。由建设单位组织总承包单位、监理单位等项目参建单位进行工程竣工验收。
第二十条 建设单位、总承包单位应按照相关规定和合同要求,完成工程结算、竣工决算等手续。
(一)工程竣工验收后,总承包单位应在自项目竣工验收之日起两个月内,按合同要求及时编制工程结算资料,送监理单位和造价咨询单位(如有)审核。建设单位出具审查意见后报结决算单位审定。
(二)合同的结算价不得超过批复后的项目总概算(含调整概算)中的相应费用。
(三)建设单位应当在结算审核后二十日内按要求完成竣工决算报告的编制,向结决算单位提交决算审核资料,总承包单位、监理单位等单位做好配合工作。
第二十一条 工程保修书由建设单位与总承包单位签署,保修期内总承包单位应当根据法律法规规定以及合同约定承担保修责任,总承包单位不得以其与分包单位之间保修责任划分而拒绝履行保修责任。
第二十二条 在缺陷责任期内,总承包单位及时安排相关人员对出现的质量缺陷进行维修。如总承包单位未履行维修责任的,视作履约失信行为。相应的维修费用由建设单位按合同约定从履约保函中扣除,超出保证金额的按合同约定索赔。履约保函期限应当覆盖缺陷责任期。
第二十三条 采用EPC+O模式进行发包的EPC总承包项目,总承包单位应根据合同的规定对工程进行设计、采购、施工和运营。在运营服务期间,总承包单位应持续提供服务。运营服务期结束时,应组织性能测试,总承包单位应保证项目功能的正常运作。
建设单位应按规定加强对总承包单位运营服务的绩效管理,建立严格的绩效评价机制,确保公共产品和服务供给的质量、效率和可持续性。对于绩效考核达标的项目,建设单位应当按照合同约定向总承包单位及时足额安排运营费用;绩效考核不达标时,建设单位应当按照合同约定扣减相应费用或补贴支出。对绩效考核“不合格”的总承包单位,建设单位有权解除合同。
第二十四条 EPC总承包项目提前终止的,建设单位应履行以下相关事项:
(一)由于建设单位原因致使项目发生暂停或终止的,建设单位应书面通知总承包单位解除合同并退还履约保函,工程款按实际完成工作的比例结算。总承包单位提出赔偿的,经双方协商一致后可以支付赔偿,具体金额在EPC总承包合同中予以约定。
(二)建设单位应在EPC总承包合同中明确因总承包单位违约而解除合同的对应程序。由于总承包单位未能按合同履行其职责、责任和义务的,建设单位可通知总承包单位,在合理的时间内纠正并补救其违约行为。总承包单位拒不整改的,建设单位有权按合同约定书面通知总承包单位解除EPC总承包合同并扣除履约保函,对总承包单位年度履约评价为“不合格”。采用公开招标或邀请招标方式选取总承包单位的,建设单位可事先在招标文件中增加对总承包单位履约评价结果有“不合格”情形的否决性条款。
(三)建设单位在书面通知总承包单位解除EPC总承包合同前,应依据总承包方案和项目实际情况提出应急替换方案,由建设单位征求区相关部门意见,并经分管区领导研究同意报区政府常务会议批准后,建设单位可重新依法选择替代的总承包单位。
(四)建设单位书面通知总承包单位解除EPC总承包合同后,总承包单位已签署的EPC总承包项目其他相关合同应一并终止,总承包单位要做好相关合同的解除及相关单位的退出工作。
(五)正式解除EPC总承包合同后,建设单位应督促总承包单位妥善处理在建工程和已购材料、设备,将全部EPC总承包项目的过程文件资料移交建设单位。建设单位应为总承包单位的退出提供必要条件并办理移交手续。
第四章 附则
第二十五条 本细则由福田区发展改革局负责解释。
第二十六条 本细则自2022年1月7日起施行,有效期3年。
附件2
福田区政府投资项目设计—采购—施工(EPC)工程总承包实施流程图

附件3
福田区政府投资项目设计—采购—施工(EPC)工程总承包合同指南
编制单位:深圳市福田区发展改革局
2021版
编制说明
一、本合同指南根据《中华人民共和国民法典》《中华人民共和国建筑法(2019修正)》《中华人民共和国招标投标法(2017年修正)》《中华人民共和国标准设计施工总承包招标文件(2012年版)》《房屋建筑和市政基础设施项目工程总承包管理办法》(建市规〔2019〕12号)、《建设项目工程总承包合同(示范文本)》(GF—2020—0216)、《深圳经济特区建设工程施工招标投标条例(2019修正)》和《福田区政府投资项目设计—采购—施工(EPC)工程总承包管理办法》等相关法律法规、标准并结合福田区政府投资EPC总承包项目的实际情况编制而成。
二、本合同指南所称总承包合同是指发包单位与EPC总承包单位依法就政府投资项目EPC总承包所订立的合同。在总承包项目中,除总承包合同外,围绕总承包项目订立一系列合同来确立和调整彼此之间的权利义务关系,共同构成总承包项目的合同体系。总承包合同是整个合同体系的基础和核心,是各方主张权利、履行义务的依据,是保障项目顺利实施的基础和关键。
三、本合同指南包括“合同协议书”“通用合同条件”“专用合同条件(含附件)”“信息化工程合同指南”。发包单位与EPC总承包单位可结合建设工程具体情况,参考本合同指南订立合同,并按照法律法规规定和合同约定承担相应的法律责任及合同权利义务。通用合同条件中标记(A)和(B)的合同条款供总承包合同双方根据实际情况选择使用。
四、在专用合同条件的制定中,通用合同条件中明确约定按专用合同条件执行的,应在专用合同条件中予以体现;通用合同条件中说明“除专用合同条件另有约定外”,应根据实际情况在专用合同条件中予以体现;应结合发包单位的实际工作需要制定具体的专用合同条件。专用合同条件的制定应体现针对性和可操作性,例如:对于通用合同条件中涉及的数额、比例、时间等要求应予以明确;对于工程质量的要求应具体到相应规范、标准和文件等,避免笼统化的措辞;对于不可抗力可结合实际情况在专用合同条件采用列举方式予以明确,如地震、台风、暴雨、高温天气、严寒、冰雹和大雪灾害等,并明确相应界定标准;对于合同文件的优先顺序,合同双方可以根据实际情况在专用合同条件中予以调整;对于总承包项目分包的范围、内容和分包单位的资质条件、选择方式及程序等应在专用合同条件中予以明确。
五、专用合同条件附件的“发包人要求”是指构成合同文件组成部分的名为“发包人要求”的文件。该文件是招标文件的有机构成部分,总承包合同签订后,也是合同文件的组成部分,对合同双方具有法律约束力。在总承包项目的招标活动中,发包单位应特别重视该文件的编制,尽可能保证其内容的清晰准确;EPC总承包单位应认真阅读、复核《发包人要求》,发现错误的,应及时书面通知发包人。
六、合同计价模式包括固定总价和固定综合单价包干。发包单位依据发包阶段和项目实际需求选择合同计价模式。总承包合同中所包含的总承包费用的支付与计量应与合同计价模式相一致。
七、《深圳市福田区政府投资设计—采购—施工(EPC)总承包项目合同指南》为2021年版。各使用单位或个人对本合同指南的意见和建议,可向深圳市福田区发展和改革局反映。
第一部分 合同协议书
发包人(全称):
承包人(全称):
根据《中华人民共和国民法典》《中华人民共和国建筑法(2019修正)》《中华人民共和国招标投标法(2017年修正)》《深圳经济特区建设工程施工招标投标条例(2019修正)》及其他有关法律、法规,遵循平等、自愿、公平和诚实信用的原则,发包人和承包人就本工程项目采用设计—采购—施工一体化总承包(EPC)实施等相关事项协商一致,订立本合同,达成协议如下:
一、工程概况
工程名称:
工程地点:
审批文号:
工程规模及特征:
资金来源:
二、工程承包范围
工程承包范围,包括以下:
三、项目设计方案来源
四、合同工期
合同工期总日历天数: 天。合同工期总日历天数与根据下述计划开竣工日期计算的工期天数不一致的,以合同工期总日历天数为准。
设计计划开工日期(绝对日期或相对日期): ;
施工计划开工日期(绝对日期或相对日期): ;
计划开工日期以 起算;
计划竣工日期(绝对日期或相对日期): 。
五、质量标准和要求
设计标准和要求(设计文件编制及限额设计目标):
工程质量标准和要求(施工质量及项目成效目标):
六、签约合同价
1.签约合同价(含税)为:
人民币(大写 ) (¥ 元)。
其中:
(1)勘察费(含税):
人民币(大写 ) (¥ 元);
(2)设计费(含税):
人民币(大写 ) (¥ 元);
(3)建安工程费(不含专业工程暂估价和暂列金额部分)(含税):
人民币(大写 ) (¥ 元);
(4)设备及工器具购置费(不含专业工程暂估价和暂列金额部分)(含税):
人民币(大写 ) (¥ 元);
(5)专业工程暂估价(含税):
人民币(大写 ) (¥ 元);
(6)暂列金额(含税):
人民币(大写 ) (¥ 元);
(7)其他(含税)( ):
人民币(大写 ) (¥ 元)。
2.合同价格形式
本合同的价格形式为 。
七、工程总承包项目经理
工程总承包项目经理: 。
八、组成合同的文件
组成本合同的文件包括:
(1)本合同签订后双方新签订的补充协议;
(2)合同协议书;
(3)中标通知书及其附件(如果有);
(4)投标函及投标函附录(如果有);
(5)专用合同条件及《发包人要求》等附件;
(6)通用合同条件;
(7)承包人建议书;
(8)价格清单;
(9)其他合同文件。
上述各项合同文件包括双方就该项合同文件所作出的补充和修改,属于同一类内容的合同文件应以最新签署的为准。专用合同条件及其附件须经合同当事人签字或盖章。
九、承诺
1.发包人承诺按照法律规定履行项目审批手续、筹集工程建设资金并按照合同约定的期限和方式支付合同价款,履行本合同所约定的全部义务。
2.承包人承诺按照法律规定及合同约定组织完成设计、采购、施工,确保工程质量和安全,不进行转包及违法分包,并在缺陷责任期及保修期内承担相应的工程维修责任,履行本合同所约定的全部义务。
3.发包人和承包人理解并承诺不再就同一工程另行签订与合同实质性内容相背离的协议。
十、词语含义
本协议书中有关词语含义与本合同“通用条款”中赋予的定义相同。
十一、合同订立与生效
本合同订立时间: 年 月 日;
订立地点: 。
发包人和承包人约定本合同自: 后生效。
本合同一式 份,均具有同等法律效力,发包人执 份,承包人执 份。
第二部分 通用合同条件
1. 一般约定
1.1 词语定义
合同协议书、通用合同条件、专用合同条件中的下列词语应具有本款所赋予的含义:
1.1.1 合同
1.1.1.1 合同:指根据法律规定和合同当事人约定具有约束力的文件,构成合同的文件包括合同协议书、中标通知书(如果有)、投标函及投标函附录(如果有)、专用合同条件及其附件、通用合同条件、《发包人要求》、承包人建议书、价格清单以及双方约定的其他合同文件。
1.1.1.2 合同协议书:指构成合同的由发包人和承包人共同签署的称为“合同协议书”的书面文件。
1.1.1.3 中标通知书:指发包人通知承包人中标的书面文件。中标通知书随附的澄清、说明、补正事项纪要等,是中标通知书的组成部分。
1.1.1.4 投标函:是指构成合同的由承包人填写并签署的用于投标的称为“投标函”的文件。
1.1.1.5 投标函附录:是指构成合同的附在投标函后的称为“投标函附录”的文件。
1.1.1.6 发包人要求:指构成合同文件组成部分的名为《发包人要求》的文件,其中列明工程的目的、范围、设计与其他技术标准和要求,以及合同双方当事人约定对其所作的修改或补充。
1.1.1.7 项目清单:指发包人提供的载明工程总承包项目勘察费(如果有)、设计费、建筑安装工程费、设备购置费、暂估价、暂列金额和双方约定的其他费用的名称和相应数量等内容的项目明细。
1.1.1.8 价格清单:指构成合同文件组成部分的由承包人按规定的格式和要求填写并标明价格的清单。
1.1.1.9 承包人建议书:指构成合同文件组成部分的名为承包人建议书的文件。承包人建议书由承包人随投标函一起提交。
1.1.1.10 其他合同文件:指经合同当事人约定的与工程实施有关的具有合同约束力的文件或书面协议。合同当事人可以在专用合同条件中进行约定。
1.1.2 合同当事人及其相关方
1.1.2.1 合同当事人:指发包人和(或)承包人。
1.1.2.2 发包人:指与承包人订立合同协议书的当事人及取得该当事人资格的合法继受人。本合同中“因发包人原因”里的“发包人”包括发包人及所有发包人人员。
1.1.2.3 承包人:指与发包人签订合同协议书的当事人及取得该当事人资格的合法继受人。
1.1.2.4 联合体:指经发包人同意由两个或两个以上法人或者其他组织组成的,作为承包人的临时机构。
1.1.2.5 发包人代表:指由发包人任命并派驻工作现场,在发包人授权范围内行使发包人权利和履行发包人义务的人。
1.1.2.6 工程师:指在专用合同条件中指明的,受发包人委托按照法律规定和发包人的授权进行合同履行管理、工程监督管理等工作的法人或其他组织;该法人或其他组织应雇用一名具有相应执业资格和职业能力的自然人作为工程师代表,并授予其根据本合同代表工程师行事的权利。
1.1.2.7 工程总承包项目经理:是指由承包人任命的,在承包人授权范围内负责合同履行的管理,且按照法律规定具有相应资格的项目负责人。
1.1.2.8 设计责任人:指承包人指定负责组织、指导、协调设计工作并具有相应资格的人员。
1.1.2.9 施工责任人:指承包人指定负责组织、指导、协调施工工作并具有相应资格的人员。
1.1.2.10 采购责任人:指承包人指定负责组织、指导、协调采购工作的人员。
1.1.2.11 分包人:是指按照法律规定和合同约定,分包部分工程或工作,并与承包人订立分包合同的具有相应资质或资格的法人或其他组织。
1.1.2.12 第三方:指合同关系双方的两个主体之外相对独立的第三主体。
1.1.3 工程和设备
1.1.3.1 工程:指与合同协议书中工程承包范围对应的永久工程和(或)临时工程。
1.1.3.2 工程实施:指进行工程的设计、采购、施工和竣工以及对工程任何缺陷的修复。
1.1.3.3 永久工程:指按合同约定建造并移交给发包人的工程,包括工程设备。
1.1.3.4 临时工程:指为完成合同约定的永久工程所修建的各类临时性工程,不包括施工设备。
1.1.3.5 单位/区段工程:指专用合同条件中指明特定范围的能单独接收并使用的永久工程。
1.1.3.6 工程设备:指构成或计划构成永久工程的机电设备、仪器装置、运载工具及其他类似的设备和装置,包括其配件及备品、备件、易损易耗件等。
1.1.3.7 施工设备:指为完成合同约定的各项工作所需的设备、器具和其他物品,不包括工程设备、临时工程和材料。
1.1.3.8 临时设施:指为完成合同约定的各项工作所服务的临时性生产和生活设施。
1.1.3.9 承包人设备:指承包人为工程实施提供的施工设备。
1.1.3.10 施工场地(或称工地、现场):指用于合同工程施工的场所,以及在合同中指定作为施工场地组成部分的其他场所,包括永久占地和临时占地。
1.1.3.11 永久占地:指专用合同条件中指明为实施合同工程需永久占用的土地。
1.1.3.12 临时占地:指专用合同条件中指明为实施合同工程需临时占用的土地。
1.1.4 日期、检验和竣工
1.1.4.1 开始工作通知:指工程师按第11.1款[开始工作]通知承包人开始工作的函件。
1.1.4.2 开始工作日期:包括计划开始工作日期和实际开始工作日期。计划开始工作日期是指合同协议书约定的开始工作日期;实际开始工作日期是指指工程师按第11.1款[开始工作]发出的开始工作通知中写明的开始工作日期。
1.1.4.3 开始现场施工日期:包括计划开始现场施工日期和实际开始现场施工日期。计划开始现场施工日期是指合同协议书约定的开始现场施工日期;实际开始现场施工日期是指工程师发出的符合法律规定的开工通知中载明的开始现场施工日期。
1.1.4.4 工期:是指在合同协议书约定的承包人完成合同工作所需的期限,包括按照合同约定所作的期限变更及按合同约定承包人有权取得的工期延长。
1.1.4.5 竣工日期:包括计划竣工日期和实际竣工日期。计划竣工日期是指第1.1.4.4目[工期]约定工期届满时的日期,实际竣工日期以工程接收证书中写明的日期为准。实际竣工日期以第18.8款[接收证书]中写明的日期为准。
1.1.4.6 缺陷责任期:指履行第19.3.2项[缺陷责任]约定的缺陷责任的期限,具体期限在《发包人要求》中明确的包括根据第19.4款[缺陷责任期的延长]约定所作的延长。
1.1.4.7 保修期:是指承包人按照合同约定和法律规定对工程质量承担保修责任的期限,该期限自缺陷责任期起算之日起计算。
1.1.4.8 基准日期:招标发包的工程以投标截止日前28天的日期为基准日期,直接发包的工程以合同订立日前28天的日期为基准日期。
1.1.4.9 天:除特别指明外,指日历天。合同中按天计算时间的,开始当天不计入,从次日开始计算。期限最后一天的截止时间为当天24:00。
1.1.4.10 竣工试验:是指在工程竣工验收前,根据第18.1[竣工试验]款要求进行的试验。
1.1.4.11 竣工验收:是指承包人完成了全部合同工作后,发包人按合同要求进行的验收。
1.1.4.12 竣工后试验:是指在工程竣工验收后,根据第18.11款[竣工后试验]约定进行的试验。
1.1.4.13国家验收:是指政府有关部门根据法律、规范、规程和政策要求,针对发包人全面组织实施的整个工程正式交付投运前的验收。
1.1.5 合同价格和费用
1.1.5.1 签约合同价:指中标通知书明确的并在签定合同时于合同协议书中写明的,包括了暂列金额、暂估价的合同总金额。
1.1.5.2 合同价格:指承包人按合同约定完成了包括缺陷责任期内的全部承包工作后,发包人应付给承包人的金额,包括在履行合同过程中按合同约定进行的变更和调整。
1.1.5.3 费用:指为履行合同所发生的或将要发生的所有合理开支,包括管理费和应分摊的其他费用,但不包括利润。
1.1.5.4 人工费:是指支付给直接从事建筑安装工程施工作业的建筑工人的各项费用。
1.1.5.5 暂列金额:指招标文件中给定的,用于在签订协议书时尚未确定或不可预见变更的设计、施工及其所需材料、工程设备、服务等的金额,包括以计日工方式支付的金额。
1.1.5.6 暂估价:指招标文件中给定的,用于支付必然发生但暂时不能确定价格的专业服务、材料、设备专业工程的金额。
1.1.5.7 计日工:是指合同履行过程中,承包人完成发包人提出的零星工作或需要采用计日工计价的变更工作时,按合同中约定的单价计价的一种方式。
1.1.5.8 质量保证金:指按第17.4款[质量保证金]约定用于保证在缺陷责任期内履行缺陷修复义务的金额。
1.1.6 其他
1.1.6.1 书面形式:指合同文件、信函、电报、传真、数据电文、电子邮件、会议纪要等可以有形地表现所载内容的形式。
1.1.6.2 承包人文件:指由承包人根据合同应提交的所有图纸、手册、模型、计算书、软件、函件、洽商性文件和其他文件。
1.1.6.3 变更是指根据第15条[变更]的约定,经指示或批准对《发包人要求》或工程所做的改变。
1.2 语言文字
合同文件以中国的汉语简体语言文字编写、解释和说明。专用术语使用外文的,应附有中文注释。合同当事人在专用合同条件约定使用两种及以上语言时,汉语为优先解释和说明合同的语言。
与合同有关的联络应使用专用合同条件约定的语言。如没有约定,则应使用中国的汉语简体语言文字。
1.3 法律
适用于合同的法律包括中华人民共和国法律、行政法规、部门规章,以及工程所在地的地方法规、自治条例、单行条例和地方政府规章。
合同当事人可以在专用合同条件中约定合同适用的其他规范性文件。
1.4 标准和规范
1.4.1 适用于工程的国家标准、行业标准、工程所在地的地方性标准,以及相应的规范、规程等,合同当事人有特别要求的,应在专用合同条件中约定。
1.4.2 发包人要求使用国外标准、规范的,发包人负责提供原文版本和中文译本,并在专用合同条件中约定提供标准规范的名称、份数和时间。
1.4.3 没有相应成文规定的标准、规范时,由发包人在专用合同条件中约定的时间向承包人列明技术要求,承包人按约定的时间和技术要求提出实施方法,经发包人认可后执行。承包人需要对实施方法进行研发试验的,或须对项目人员进行特殊培训及其有特殊要求的,除签约合同价已包含此项费用外,双方应另行订立协议作为专用合同条件附件,其费用由发包人承担。
1.4.4 发包人对于工程的技术标准、功能要求高于或严于现行国家、行业或地方标准的,应当在《发包人要求》中予以明确。除专用合同条件另有约定外,应视为承包人在订立合同前已充分预见前述技术标准和功能要求的复杂程度,签约合同价中已包含由此产生的费用。
1.5 合同文件的优先顺序
组成合同的各项文件应互相解释,互为说明。除专用合同条件另有约定外,解释合同文件的优先顺序如下:
(1)本合同签订后双方新签订的补充协议;
(2)合同协议书;
(3)中标通知书及其附件(如果有);
(4)投标函及投标函附录(如果有);
(5)专用合同条件及《发包人要求》等附件;
(6)通用合同条件;
(7)承包人建议书;
(8)价格清单;
(9)其他合同文件。
上述各项合同文件包括合同当事人就该项合同文件所作出的补充和修改,属于同一类内容的文件,应以最新签署的为准。
在合同订立及履行过程中形成的与合同有关的文件均构成合同文件组成部分,并根据其性质确定优先解释顺序。
1.6 合同协议书
承包人按中标通知书规定的时间与发包人签订合同协议书。除法律另有规定或合同另有约定外,发包人和承包人的法定代表人或其委托代理人在合同协议书上签字并盖单位章后,合同生效。见第一部分。
1.7 文件的提供和照管
1.7.1 发包人文件的提供
发包人应按照专用合同条件约定的期限、数量和形式向承包人免费提供前期工作相关资料、环境保护、气象水文、地质条件进行工程设计、现场施工等工程实施所需的文件。由于发包人未按时提供文件造成工期延误的,按第11.3款[发包人引起的工期延误]约定执行。
1.7.2 承包人文件的提供
除专用合同条件另有约定外,承包人文件应包含下列内容,并用第1.2款[语言文字]约定的语言制作:
(1) 《发包人要求》中规定的相关文件;
(2) 满足工程相关行政审批手续所必须的应由承包人负责的相关文件;
(3) 第5.5款[竣工文件]与第5.6款[操作和维修手册]中要求的相关文件。
除专用合同条件另有约定外,承包人应在合理的期限内按照合同约定的数量向工程师以及专用合同条件约定的其他单位和人员提供应当由承包人编制的与工程设计、现场施工等工程实施有关的承包人文件。工程师及其他单位和人员对承包人文件有异议的,承包人应予以修改,并重新报送。合同约定承包人文件应批准的,工程师应当在合同约定的期限内批复,但工程师的审查并不减轻或免除承包人根据合同约定应当承担的责任。承包人文件的提供和审查按第5.3款[设计审查]和第5.5款[竣工文件]的约定执行。
1.7.3 文件错误的通知
任何一方发现了文件中存在的明显错误或疏忽,应及时通知另一方。
1.7.4 文件的照管
除专用合同条件另有约定外,承包人应在现场保留一份合同、《发包人要求》中列出的所有文件、承包人文件、变更以及其它根据合同收发的往来信函。发包人和工程师有权在任何合理的时间查阅和使用上述所有文件。
1.8 联络
1.8.1 与合同有关的通知、批准、证明、证书、指示、要求、请求、同意、意见、确定和决定等,均应采用书面形式。并应在合同约定的期限内(如无约定,应在合理期限内)通过特快专递或专人、挂号信、传真或双方商定的电子传输方式送达收件地址。
1.8.2 第1.8.1 项中的通知、批准、证明、证书、指示、要求、请求、同意、意见、确定和决定等来往函件,均应在合同约定的期限内送达指定的地点和指定的接收人,并办理签收手续。发包人和承包人应在专用合同条件中约定各自的送达方式和收件地址。任何一方合同当事人指定的送达方式或收件地址发生变动的,应提前3天以书面形式通知对方。
1.8.3 发包人和承包人应当及时签收另一方通过约定的送达方式送达至收件地址的来往文件。拒不签收的,由此增加的费用和(或)延误的工期由拒绝接收一方承担。
1.8.4 对于工程师向承包人发出的任何通知,均应以书面形式由工程师或其代表签认后送交承包人实施,并抄送发包人;对于合同一方向另一方发出的任何通知,均应抄送工程师。对于由工程师审查后报发包人批准的事项,应由工程师向承包人出具经发包人签认的批准文件。
1.9 转让
除合同另有约定外,未经承包人同意,发包人不得将合同权利全部或部分转让给第三人,也不得全部或部分转让合同义务。承包人不得将合同权利全部或部分转让给第三人,也不得将合同的义务全部或部分转让给第三人,法律另有规定的除外。
1.10 严禁贿赂
合同当事人不得以贿赂或变相贿赂的方式,谋取不当利益或损害对方权益。因贿赂造成对方损失的,行为人应赔偿损失,并承担相应的法律责任。
承包人不得与工程师或发包人聘请的第三方串通损害发包人利益。未经发包人书面同意,承包人不得为工程师提供合同约定以外的通讯设备、交通工具及其他任何形式的利益,不得向工程师支付报酬。
1.11 化石、文物
1.11.1 在施工场地发掘的所有文物、古迹以及具有地质研究或考古价值的其他遗迹、化石、钱币或物品属于国家所有。一旦发现上述文物,承包人应采取有效合理的保护措施,防止任何人员移动或损坏上述物品,并立即报告当地文物行政部门,同时通知工程师和发包人。发包人、工程师和承包人应按文物行政部门要求采取妥善保护措施,由此导致费用增加和(或)工期延误由发包人承担。
1.11.2 承包人发现文物后不及时报告或隐瞒不报,致使文物丢失或损坏的,应赔偿损失,并承担相应的法律责任。
1.12 知识产权
1.12.1 除专用合同条件另有约定外,由发包人(或以发包人名义)编制的《发包人要求》和其他文件,就合同当事人之间而言,其著作权和其他知识产权应归发包人所有。承包人可以为实现合同目的而复制、使用此类文件,但不能用于与合同无关的其他事项。未经发包人书面同意,承包人不得为了合同以外的目的而复制、使用上述文件或将之提供给任何第三方。
1.12.2 除专用合同条件另有约定外,由承包人(或以承包人名义)为实施工程所编制的文件、承包人完成的设计工作成果和建造完成的建筑物,就合同当事人之间而言,其著作权和其他知识产权应归承包人享有。发包人可因实施工程的运行、调试、维修、改造等目的而复制、使用此类文件,但不能用于与合同无关的其他事项。未经承包人书面同意,发包人不得为了合同以外的目的而复制、使用上述文件或将之提供给任何第三方。
1.12.3 合同当事人保证在履行合同过程中不侵犯对方及第三方的知识产权。承包人在工程设计、使用材料、施工设备、工程设备或采用施工工艺时,因侵犯他人的专利权或其他知识产权所引起的责任,由承包人承担;因发包人提供的材料、施工设备、工程设备或施工工艺导致侵权的,由发包人承担责任。
1.12.4 除专用合同条件另有约定外,承包人在投标文件中采用的专利、专有技术、商业软件、技术秘密的使用费已包含在签约合同价中。
1.12.5 合同当事人可就本合同涉及的合同一方、或合同双方(含一方或双方相关的专利商或第三方设计单位)的技术专利、建筑设计方案、专有技术、设计文件著作权等知识产权,订立知识产权及保密协议,作为本合同的组成部分。
1.13 文件及信息的保密
合同当事人一方对在订立和履行合同过程中知悉的另一方的商业秘密、技术秘密,以及任何一方明确要求保密的其它信息,负有保密责任。
除法律规定或合同另有约定外,未经对方同意,任何一方当事人不得将对方提供的文件、技术秘密以及声明需要保密的资料信息等商业秘密泄露给第三方或者用于本合同以外的目的。
一方泄露或者在本合同以外使用该商业秘密、技术秘密等保密信息给另一方造成损失的,应承担损害赔偿责任。当事人为履行合同所需要的信息,另一方应予以提供。当事人认为必要时,可订立保密协议,作为合同附件。
1.14 《发包人要求》和基础资料中的错误
1.14.1承包人应认真阅读、复核《发包人要求》以及其提供的基础资料,发现错误的,应及时书面通知发包人。发包人作相应修改的,按照第15条[变更]约定处理。对确实存在的错误,发包人坚持不作修改的,应承担由此导致承包人增加的费用和(或)延误的工期,并向承包人支付合理利润。
1.14.2承包人未发现《发包人要求》中存在错误的,承包人自行承担由此导致的费用增加和(或)工期延误,但合同另有约定的除外。
1.15 发包人要求违法
发包人要求违反法律规定的,承包人发现后应书面通知发包人,并要求其改正。发包人收到通知书后不予改正或不予答复的,承包人有权拒绝履行合同义务,直至解除合同。发包人应承担由此引起的承包人全部损失。
1.16 责任限制
承包人对发包人的赔偿责任不应超过专用合同条件约定的赔偿最高限额。若专用合同条件未约定,则承包人对发包人的赔偿责任不应超过签约合同价。但对于因欺诈、犯罪、故意、重大过失、人身伤害等不当行为造成的损失,赔偿的责任限度不受上述最高限额的限制。
1.17 建筑信息模型技术的应用
如果项目中拟采用建筑信息模型技术,合同双方应遵守国家现行相关标准的规定,并符合项目所在地的相关地方标准或指南。合同双方应在专用合同条件中就建筑信息模型的开发、使用、存储、传输、交付及费用等相关内容进行约定。除专用合同条件另有约定外,承包人应负责与本项目中其他使用方协商。
2.发包人义务
2.1 遵守法律
发包人在履行合同过程中应遵守法律,并承担因发包人违反法律给承包人造成的任何费用和损失。发包人不得以任何理由,要求承包人在工程实施过程中违反法律、行政法规以及建设工程质量、安全、环保标准,任意压缩合理工期或者降低工程质量。
2.2 发出承包人开始工作通知
发包人应委托工程师按第11.1 款[开始工作]的约定向承包人发出开始工作通知。
2.3 提供施工场地和工作条件
2.3.1 提供施工现场
发包人应按专用合同条件约定向承包人移交施工现场,给承包人进入和占用施工现场各部分的权利,并明确与承包人的交接界面,上述进入和占用权可不为承包人独享。如专用合同条件没有约定移交时间的,则发包人应最迟于计划开始现场施工日期7天前向承包人移交施工现场,但承包人未能按照第4.2款[履约担保]提供履约担保的除外。
2.3.2 提供工作条件
发包人应按专用合同条件约定向承包人提供工作条件。专用合同条件对此没有约定的,发包人应负责提供开展本合同相关工作所需要的条件,包括:
(1) 将施工用水、电力、通讯线路等施工所必需的条件接至施工现场内;
(2) 保证向承包人提供正常施工所需要的进入施工现场的交通条件;
(3) 协调处理施工现场周围地下管线和邻近建筑物、构筑物、古树名木、文物、化石及坟墓等的保护工作,并承担相关费用;
(4) 对工程现场临近发包人正在使用、运行、或由发包人用于生产的建筑物、构筑物、生产装置、设施、设备等,设置隔离设施,竖立禁止入内、禁止动火的明显标志,并以书面形式通知承包人须遵守的安全规定和位置范围;
(5) 按照专用合同条件约定应提供的其他设施和条件。
2.3.3 逾期提供的责任
因发包人原因未能按合同约定及时向承包人提供施工现场和施工条件的,由发包人承担由此增加的费用和(或)延误的工期。
2.4 提供基础资料
发包人应按专用合同条件和《发包人要求》中的约定向承包人提供施工现场及工程实施所必需的毗邻区域内的供水、排水、供电、供气、供热、通信、广播电视等地上、地下管线和设施资料,气象和水文观测资料,地质勘察资料,相邻建筑物、构筑物和地下工程等有关基础资料,并根据第1.14款[《发包人要求》和基础资料中的错误]承担基础资料错误造成的责任。按照法律规定确需在开工后方能提供的基础资料,发包人应尽其努力及时地在相应工程实施前的合理期限内提供,合理期限应以不影响承包人的正常履约为限。因发包人原因未能在合理期限内提供相应基础资料的,由发包人承担由此增加的费用和延误的工期。
2.5 办理证件和批件
法律规定和(或)合同约定由发包人负责办理的工程建设项目必须履行的各类审批、核准或备案手续,发包人应按时办理。发包人应取得项目用地的使用权,完成拆迁及拆迁补偿工作,使项目具备法律规定的及合同约定的开工条件,并提供立项文件等。
法律规定和(或)合同约定由承包人负责的有关设计、施工证件和批件,发包人应给予必要的协助。
2.6 支付合同价款
发包人应按合同约定向承包人及时支付合同价款、履行合同价格调整、完成竣工结算等工作。专用合同条件对发包人工程款支付担保有约定的,从其约定。
2.7 组织竣工验收
发包人应按合同约定及时组织竣工验收。
2.8 协助与协调
发包人应按合同约定协助承包人完成管线搬迁、三通一平等工作,协助承包人办理项目实施过程中的报建报批以及工程结算审计和竣工财务决算报审等工作,协调相关政府部门加快办理项目相关手续。
2.9 其他义务
发包人应履行合同约定的其他义务。
3. 发包人的管理
3.1 发包人代表
发包人应任命发包人代表,并在专用合同条件中明确发包人代表的姓名、职务、联系方式及授权范围等事项。发包人代表应在发包人的授权范围内,负责处理合同履行过程中与发包人有关的具体事宜。发包人代表在授权范围内的行为由发包人承担法律责任。
除非发包人另行通知承包人,发包人代表应被授予并且被认为具有发包人在授权范围内享有的相应权利,涉及合同解除的权利除外。
发包人代表(或者在其为法人的情况下,被任命代表其行事的自然人)应:
(1) 履行指派给其的职责,行使发包人托付给其的权利;
(2) 具备履行这些职责、行使这些权利的能力;
(3) 作为熟练的专业人员行事。
如果发包人代表为法人且在签订本合同时未能确定授权代表的,发包人代表应在本合同签订之日起3日内向双方发出书面通知,告知被任命和授权的自然人以及任何替代人员。此授权在双方收到本通知后生效。发包人代表撤销该授权或者变更授权代表时也应同样发出该通知。
发包人更换发包人代表的,应提前14天将更换人的姓名、地址、任务和权利、以及任命的日期书面通知承包人。发包人不得将发包人代表更换为承包人根据本款发出通知提出合理反对意见的人员,不论是法人还是自然人。
发包人代表不能按照合同约定履行其职责及义务,并导致合同无法继续正常履行的,承包人可以要求发包人撤换发包人代表。
3.2 发包人人员
发包人人员包括发包人代表、工程师及其他由发包人派驻施工现场的人员,发包人可以在专用合同条件中明确发包人人员的姓名、职务及职责等事项。发包人或发包人代表可随时对一些助手指派和托付一定的任务和权利,也可撤销这些指派和托付。这些助手可包括驻地工程师或担任检验、试验各项工程设备和材料的独立检查员。这些助手应具有适当的资质、履行其任务和权利的能力。以上指派、托付或撤销,在承包人收到通知后生效。承包人对于可能影响正常履约或工程安全质量的发包人人员保有随时提出沟通的权利。
发包人应要求在施工现场的发包人人员遵守法律及有关安全、质量、环境保护、文明施工等规定,因发包人人员未遵守上述要求给承包人造成的损失和责任由发包人承担。
3.3 工程师
3.3.1 发包人需对承包人的设计、采购、施工、服务等工作过程或过程节点实施监督管理的,有权委任工程师。工程师的名称、监督管理范围、内容和权限在专用合同条件中写明。根据国家相关法律法规规定,如本合同工程属于强制监理项目的,由工程师履行法定的监理相关职责,但发包人另行授权第三方进行监理的除外。
3.3.2 工程师按发包人委托的范围、内容、职权和权限,代表发包人对承包人实施监督管理。若承包人认为工程师行使的职权不在发包人委托的授权范围之内的,则其有权拒绝执行工程师的相关指示,同时应及时通知发包人,发包人书面确认工程师相关指示的,承包人应遵照执行。
3.3.3 在发包人和承包人之间提供证明、行使决定权或处理权时,工程师应作为独立专业的第三方,根据自己的专业技能和判断进行工作。但工程师或其人员均无权修改合同,且无权减轻或免除合同当事人的任何责任与义务。
3.3.4 通用合同条件中约定由工程师行使的职权如不在发包人对工程师的授权范围内的,则视为没有取得授权,该职权应由发包人或发包人指定的其他人员行使。若承包人认为工程师的职权与发包人(包括其人员)的职权相重叠或不明确时,应及时通知发包人,由发包人予以协调和明确并以书面形式通知承包人。
3.4 任命和授权
3.4.1 发包人应在发出开始工作通知前将工程师的任命通知承包人。更换工程师的,发包人应提前7天以书面形式通知承包人,并在通知中写明替换者的姓名、职务、职权、权限和任命时间。工程师超过2天不能履行职责的,应委派代表代行其职责,并通知承包人。
3.4.2 工程师可以授权其他人员负责执行其指派的一项或多项工作,但第3.6款[商定或确定]下的权利除外。工程师应将被授权人员的姓名及其授权范围通知承包人。被授权的人员在授权范围内发出的指示视为已得到工程师的同意,与工程师发出的指示具有同等效力。工程师撤销某项授权时,应将撤销授权的决定及时通知承包人。
3.5 指示
3.5.1 工程师应按照发包人的授权发出指示。工程师的指示应采用书面形式,盖有工程师授权的项目管理机构章,并由工程师的授权人员签字。在紧急情况下,工程师的授权人员可以口头形式发出指示或当场签发临时书面指示,承包人应遵照执行。工程师应在授权人员发出口头指示或临时书面指示后24小时内发出书面确认函,在24小时内未发出书面确认函的,该口头指示或临时书面指示应被视为工程师的正式指示。
3.5.2 承包人收到工程师作出的指示后应遵照执行。如果任何此类指示构成一项变更时,应按照第15条[变更]的约定办理。
3.5.3 由于工程师未能按合同约定发出指示、指示延误或指示错误而导致承包人费用增加和(或)工期延误的,发包人应承担由此增加的费用和(或)工期延误,并向承包人支付合理利润。
3.6 商定或确定
3.6.1 合同约定工程师应按照本款对任何事项进行商定或确定时,工程师应及时与合同当事人协商,尽量达成一致。工程师应将商定的结果以书面形式通知发包人和承包人,并由双方签署确认。
3.6.2 除专用合同条件另有约定外,商定的期限应为工程师收到任何一方就商定事由发出的通知后42天内或工程师提出并经双方同意的其他期限。未能在该期限内达成一致的,由工程师按照合同约定审慎做出公正的确定。确定的期限应为商定的期限届满后42天内或工程师提出并经双方同意的其他期限。工程师应将确定的结果以书面形式通知发包人和承包人,并附详细依据。
3.6.3 任何一方对工程师的确定有异议的,应在收到确定的结果后28天内向另一方发出书面异议通知并抄送工程师。除合同另有约定外,工程师未能在确定的期限内发出确定的结果通知的,或者任何一方发出对确定的结果有异议的通知的,则构成争议并应按照第24条[争议解决]的约定处理。如未在28天内发出上述通知的,工程师的确定应被视为已被双方接受并对双方具有约束力,但专用合同条件另有约定的除外。
3.6.4 在该争议解决前,双方应暂按工程师的确定执行。按照第24条[争议解决]的约定对工程师的确定作出修改的,按修改后的结果执行,由此导致承包人增加的费用和延误的工期由责任方承担。
3.7 会议
3.7.1 除专用合同条件另有约定外,任何一方可向另一方发出通知,要求另一方出席会议,讨论工程的实施安排或与本合同履行有关的其他事项。发包人的其他承包人、承包人的分包人和其他第三方可应任何一方的请求出席任何此类会议。
3.7.2 除专用合同条件另有约定外,发包人应保存每次会议参加人签名的记录,并将会议纪要提供给出席会议的人员。任何根据此类会议以及会议纪要采取的行动应符合本合同的约定。
4. 承包人
4.1 承包人的一般义务
除专用合同条件另有约定外,承包人在履行合同过程中应遵守法律和工程建设标准规范,并履行以下义务:
4.1.1 遵守法律
承包人在履行合同过程中应遵守法律,并保证发包人免于承担因承包人违反法律而引起的任何责任。
4.1.2 依法纳税
承包人应按有关法律规定纳税,应缴纳的税金包括在合同价格内。
4.1.3 人员配备
承包人应落实工程总承包项目经理、专业责任人以及合同约定的其他人员的配备。
4.1.4 完成各项承包工作
承包人应按合同约定以及工程师根据第3.4款[任命和授权]作出的指示,完成合同约定的全部工作,并对工作中的任何缺陷进行整改、完善和修补,使其满足合同约定的目的。除专用合同条件另有约定外,承包人应提供合同约定的工程设备和承包人文件,以及为完成合同工作所需的劳务、材料、施工设备和其他物品,并按合同约定负责临时设施的设计、施工、运行、维护、管理和拆除。
4.1.5 完成项目实施过程中的报建报批工作
承包人应按时办理法律规定和(或)合同约定由承包人负责办理的工程建设项目必须履行的各类审批、核准或备案手续,包括设计、概算、施工图设计文件、开工许可、竣工文件、工程结决算及合同约定的其他事项。设计、概算等文件经发包单位确认后方可组织申报工作。
4.1.6 保证专款专用
承包人应按合同约定向发包人报送年度资金使用计划和项目用款报告,按合同约定支付给承包人的各项价款应专用于合同工作。
4.1.7 对设计、施工作业和施工方法,以及工程的完备性负责
承包人应按合同约定的工作内容和进度要求,编制设计、施工的组织和实施计划,并对所有设计、施工作业和施工方法,以及全部工程的完备性和安全可靠性负责。
4.1.8 保证工程施工和人员的安全
承包人应按第10.2款[承包人的安全责任]约定采取施工安全措施,确保工程及其人员、材料、设备和设施的安全,防止因工程施工造成的人身伤害和财产损失。
4.1.9 负责施工场地及其周边环境与生态的保护工作
承包人应按照第10.4 款[环境保护]约定负责施工场地及其周边环境与生态的保护工作。
4.1.10 避免施工对公众与他人的利益造成损害
承包人在进行合同约定的各项工作时,不得侵害发包人与他人使用公用道路、水源、市政管网等公共设施的权利,避免对邻近的公共设施产生干扰。承包人占用或使用他人的施工场地,影响他人作业或生活的,应承担相应责任。
4.1.11 为他人提供方便
承包人应按工程师的指示为他人在施工场地或附近实施与工程有关的其他各项工作提供可能的条件。除合同另有约定外,提供有关条件的内容和可能发生的费用,由工程师按第3.6款[商定或确定]商定或确定。
4.1.12 工程的维护和照管
工程接收证书颁发前,承包人应负责照管和维护工程。工程接收证书颁发时尚有部分未竣工工程的,承包人还应负责该未竣工工程的照管和维护工作,直至竣工后移交给发包人。
4.1.13 建设项目档案管理
承包人应负责建立健全建设项目档案管理,工程竣工验收时应向发包人提交项目使用说明书和完整的建设项目档案。
4.1.14 其他义务
承包人应履行合同约定的其他义务。
4.2 履约担保
4.2.1 承包人应保证其履约担保在发包人颁发工程接收证书前一直有效。发包人应在工程接收证书颁发后28天内将履约担保退还给承包人。需进行竣工后试验的,承包人应保证其履约担保在竣工后试验通过前一直有效,发包人应在通过竣工验收后7天内将履约担保退还给承包人。
4.2.2 如工程延期,承包人有义务继续提供履约担保。由于发包人原因导致延期的,继续提供履约担保所需的费用由发包人承担;由于承包人原因导致延期的,继续提供履约担保所需费用由承包人承担。
4.3工程总承包项目经理
4.3.1 工程总承包项目经理应为合同当事人所确认的人选,并在专用合同条件中明确工程总承包项目经理的姓名、注册执业资格或职称、联系方式及授权范围等事项。工程总承包项目经理应具备履行其职责所需的资格、经验和能力,并为承包人正式聘用的员工,承包人应向发包人提交工程总承包项目经理与承包人之间的劳动合同,以及承包人为工程总承包项目经理缴纳社会保险的有效证明。承包人不提交上述文件的,工程总承包项目经理无权履行职责,发包人有权要求更换工程总承包项目经理,由此增加的费用和(或)延误的工期由承包人承担。同时,发包人有权根据专用合同条件约定要求承包人承担违约责任。
4.3.2 承包人应按合同协议书的约定指派工程总承包项目经理,并在约定的期限内到职。工程总承包项目经理不得同时在其他项目上担任任何职务(包括但不限于施工总承包工程、专业承包工程)。工程在现场实施的全部时间内,工程总承包项目经理每月在施工现场时间不得少于专用合同条件约定的天数。工程总承包项目经理确需离开施工现场时,应事先通知工程师,并取得发包人的书面同意。工程总承包项目经理未经批准擅自离开施工现场的,承包人应按照专用合同条件的约定承担违约责任。工程总承包项目经理的通知中应当载明临时代行其职责的人员的注册执业资格、管理经验等资料,该人员应具备履行相应职责的资格、经验和能力。
4.3.3 承包人应根据本合同的约定授予工程总承包项目经理代表承包人履行合同所需的权利,工程总承包项目经理权限以专用合同条件中约定的权限为准。经承包人授权后,工程总承包项目经理应按合同约定以及工程师按第3.5款[指示]作出的指示,代表承包人负责组织合同的实施。在紧急情况下,且无法与发包人和工程师取得联系时,工程总承包项目经理有权采取必要的措施保证人身、工程和财产的安全,但须在事后48小时内向工程师送交书面报告。
4.3.4 承包人需要更换工程总承包项目经理的,应提前14天书面通知发包人并抄送工程师,征得发包人书面同意。通知中应当载明继任工程总承包项目经理的注册执业资格、管理经验等资料,继任工程总承包项目经理继续履行本合同约定的职责。未经发包人书面同意,承包人不得擅自更换工程总承包项目经理,在发包人未予以书面回复期间内,工程总承包项目经理将继续履行其职责。工程总承包项目经理突发丧失履行职务能力的,承包人应当及时委派一位具有相应资格能力的人员担任临时工程总承包项目经理,履行工程总承包项目经理的职责,临时工程总承包项目经理将履行职责直至发包人同意新的工程总承包项目经理的任命之日止。承包人擅自更换工程总承包项目经理的,应按照专用合同条件的约定承担违约责任。
4.3.5 发包人有权书面通知承包人要求更换其认为不称职的工程总承包项目经理,通知中应当载明要求更换的理由。承包人应在接到更换通知后14天内向发包人提出书面的改进报告。如承包人没有提出改进报告,应在收到更换通知后28天内更换项目经理。发包人收到改进报告后仍要求更换的,承包人应在接到第二次更换通知的28天内进行更换,并将新任命的工程总承包项目经理的注册执业资格、管理经验等资料书面通知发包人。继任工程总承包项目经理继续履行本合同约定的职责。承包人无正当理由拒绝更换工程总承包项目经理的,应按照专用合同条件的约定承担违约责任。
4.3.6 工程总承包项目经理因特殊情况授权其下属人员履行其某项工作职责的,该下属人员应具备履行相应职责的能力,并应事先将上述人员的姓名、注册执业资格、管理经验等信息和授权范围书面通知发包人并抄送工程师,征得发包人书面同意。
4.4 承包人人员的管理
4.4.1 人员安排
承包人应在接到开始工作通知之日起14天内,向工程师提交承包人的项目管理机构以及人员安排的报告,其内容应包括项目管理机构的设置、各主要岗位的技术和管理人员名单及其资格,以及设计人员和各工种技术工人的安排状况。承包人安排的主要管理人员和技术人员应相对稳定,更换主要管理人员和技术人员的,应取得工程师的同意,并向工程师提交继任人员的资格、管理经验等资料。
关键人员是发包人及承包人一致认为对工程建设起重要作用的承包人主要管理人员或技术人员。关键人员的具体范围由发包人及承包人在附件6[承包人主要管理人员表]中另行约定。
承包人安排的主要管理人员包括工程总承包项目经理、设计责任人、施工责任人、采购责任人以及专职质量、安全生产管理人员等;其他技术人员包括设计师、建筑师、土木工程师、设备工程师、建造师等。
4.4.2 承包人的设计人员应由具有国家规定和《发包人要求》中约定的资格,并具有从事设计所必需的经验与能力。
承包人应保证其设计人员(包括分包人的设计人员)在合同期限内的任何时候,都能按时参加发包人或其委托的工程师组织的工作会议。
4.4.3 国家规定应当持证上岗的工作人员均应持有相应的资格证明,工程师有权随时检查。工程师认为有必要时,可进行现场考核。
4.4.4 关键人员更换
除专用合同条件另有约定外,承包人派驻到施工现场的关键人员应相对稳定。承包人更换关键人员时,应提前14天将继任关键人员信息及相关证明文件提交给工程师,并由工程师报发包人征求同意。承包人擅自更换工程总承包项目经理或主要施工管理人员,或前述人员未经工程师许可擅自离开施工现场连续超过3天的,应按照专用合同条件约定承担违约责任。
工程师对于承包人关键人员的资格或能力有异议的,承包人应提供资料证明被质疑人员有能力完成其岗位工作或不存在工程师所质疑的情形。工程师指示撤换不能按照合同约定履行职责及义务的主要施工管理人员的,承包人应当撤换。承包人无正当理由拒绝撤换的,应按照专用合同条件的约定承担违约责任。
4.4.5 现场管理关键人员在岗要求
除专用合同条件另有约定外,承包人的现场管理关键人员离开施工现场每月累计不超过7天的,应报工程师同意;离开施工现场每月累计超过7天的,应书面通知发包人并抄送工程师,征得发包人书面同意。现场管理关键人员因故离开施工现场的,可授权有经验的人员临时代行其职责,但承包人应将被授权人员信息及授权范围书面通知发包人并取得其同意。现场管理关键人员未经工程师或发包人同意擅自离开施工现场的,应按照专用合同条件约定承担违约责任。
4.5 撤换工程总承包项目经理和其他人员
承包人应对其工程总承包项目经理和其他人员进行有效管理。工程师要求撤换不能胜任本职工作、行为不端或玩忽职守的工程总承包项目经理和其他人员的,承包人应予以撤换。
4.6 保障承包人人员的合法权益
4.6.1 承包人应与其雇佣的人员签订劳动合同,并按时发放工资。
4.6.2 承包人应按劳动法的规定安排工作时间,保证其雇佣人员享有休息和休假的权利。因设计、施工的特殊需要占用休假日或延长工作时间的,应不超过法律规定的限度,并按法律规定给予补休或付酬。
4.6.3 承包人应为其雇佣人员提供必要的食宿条件,以及符合环境保护和卫生要求的生活环境,在远离城镇的施工场地,还应配备必要的伤病防治和急救的医务人员与医疗设施。
4.6.4 承包人应按国家有关劳动保护的规定,采取有效的防止粉尘、降低噪声、控制有害气体和保障高温、高寒、高空作业安全等劳动保护措施。其雇佣人员在施工中受到伤害的,承包人应立即采取有效措施进行抢救和治疗。
4.6.5 承包人应按有关法律规定和合同约定,为其雇佣人员办理保险。
4.6.6 承包人应负责处理其雇佣人员因工伤亡事故的善后事宜。
4.7 分包和不得转包
4.7.1 一般规定
承包人不得将其承包的全部工程转包给第三人,也不得将其承包的全部工程肢解后以分包的名义分别转包给第三人。承包人不得将法律或专用合同条件中禁止分包的工作事项分包给第三人,不得以劳务分包的名义转包或违法分包工程。
承包人只能对专用合同条件约定的工作进行分包。承包人不得将设计、采购、施工的主体、关键性工作分包给第三人。除专用合同条件另有约定外,未经发包人同意,承包人也不得将非主体、非关键性工作分包给第三人。
4.7.2 分包的确定
承包人应按照专用合同条件约定对工作事项进行分包,确定分包人。
专用合同条件未列出的分包事项,承包人可在工程实施阶段分批分期就分包事项向发包人提交申请,发包人在接到分包事项申请后的14天内,予以批准或提出意见。未经发包人同意,承包人不得将提出的拟分包事项对外分包。发包人未能在14天内批准亦未提出意见的,承包人有权将提出的拟分包事项对外分包,但应在分包人确定后通知发包人。
4.7.3 分包人资质
分包人应符合国家法律规定的资质等级,否则不能作为分包人。承包人有义务对分包人的资质进行审查。
4.7.4 分包管理
承包人应当对分包人的工作进行必要的协调与管理,确保分包人严格执行国家有关分包事项的管理规定。承包人应向工程师提交分包人的主要管理人员表,并对分包人的工作人员进行实名制管理,包括但不限于进出场管理、登记造册以及各种证照的办理。
4.7.5 分包合同价款支付
(1) 除本项第(2)目约定的情况或专用合同条件另有约定外,分包合同价款由承包人与分包人结算,未经承包人同意,发包人不得向分包人支付分包合同价款;
(2) 生效法律文书要求发包人向分包人支付分包合同价款的,发包人有权从应付承包人工程款中扣除该部分款项,将扣款直接支付给分包人,并书面通知承包人。
4.7.6 责任承担
承包人对分包人的行为向发包人负责,承包人和分包人就分包工作向发包人承担连带责任。
4.8 联合体
4.8.1 经发包人同意,以联合体方式承包工程的,联合体各方应共同与发包人订立合同协议书。联合体各方应为履行合同向发包人承担连带责任。
4.8.2 承包人应在专用合同条件中明确联合体各成员的分工、费用收取、发票开具等事项。联合体各成员分工承担的工作内容必须与适用法律规定的该成员的资质资格相适应,并应具有相应的项目管理体系和项目管理能力,且不应根据其就承包工作的分工而减免对发包人的任何合同责任。
4.8.3 联合体协议经发包人确认后作为专用合同条件附件。在履行合同过程中,未经发包人同意,不得变更联合体成员和其负责的工作范围,或者修改联合体协议中与本合同履行相关的内容。
4.8.4 联合体牵头人或联合体授权的代表负责与发包人和工程师联系,并接受指示,负责组织联合体各成员全面履行合同。
4.9 承包人现场查勘
4.9.1 发包人应向承包人提供施工场地及毗邻区域内的供水、排水、供电、供气、供热、通信、广播电视等地下管线资料、气象和水文观测资料,相邻建筑物和构筑物、地下工程的有关资料,以及其他与建设工程有关的原始资料,并承担原始资料错误造成的全部责任,但承包人应对其阅读上述有关资料后所作出的解释和推断负责。承包人发现基础资料中存在明显错误或疏忽的,应及时书面通知发包人。
4.9.2 承包人应对施工场地和周围环境进行查勘,并收集除发包人提供外为完成合同工作有关的当地资料。在全部合同工作中,视为承包人已充分估计了应承担的责任和风险。
4.10 不可预见困难
不可预见的困难是指有经验的承包人在施工现场遇到的不可预见的自然物质条件、非自然的物质障碍和污染物,包括地表以下物质条件和水文条件以及专用合同条件约定的其他情形,但不包括气候条件。
承包人遇到不可预见的困难时,应采取克服不可预见的困难的合理措施继续施工,并及时通知工程师并抄送发包人。通知应载明不可预见的困难的内容、承包人认为不可预见的理由以及承包人制定的处理方案。工程师应当及时发出指示,指示构成变更的,按本章第15条[变更]约定执行。承包人因采取合理措施而增加的费用和(或)延误的工期由发包人承担。
4.11 进度计划
4.11.1 合同进度计划
承包人应按合同约定的内容和期限,编制详细的进度计划,包括设计、承包人文件提交、采购、制造、检验、运达现场、施工、安装、试验的各个阶段的预期时间以及设计和施工组织方案说明等报送工程师。工程师应在专用合同条件约定的期限内批复或提出修改意见,否则该进度计划视为已得到批准。经工程师批准的进度计划称合同进度计划,是控制合同工程进度的依据。承包人还应根据合同进度计划,编制更为详细的分阶段或分项进度计划,报工程师批准。
4.11.2 合同进度计划的修订
不论何种原因造成工程的实际进度与第4.11.1项[合同进度计划]的合同进度计划不符时,承包人可以在专用合同条件约定的期限内向工程师提交修订合同进度计划的申请报告,并附有关措施和相关资料,报工程师批准;工程师也可以直接向承包人作出修订合同进度计划的指示,承包人应按该指示修订合同进度计划,报工程师批准。工程师应在专用合同条件约定的期限内批复。工程师在批复前应获得发包人同意。
4.12 工程质量管理
4.12.1 承包人应按合同约定的质量标准规范,建立有效的质量管理系统,确保设计、采购、加工制造、施工、竣工试验等各项工作的质量,并按照国家有关规定,通过质量保修责任书的形式约定保修范围、保修期限和保修责任。
4.12.2 承包人按照约定向工程师提交工程质量保证体系及措施文件,建立完善的质量检查制度,并提交相应的工程质量文件。对于发包人和工程师违反法律规定和合同约定的错误指示,承包人有权拒绝实施。
4.12.3 承包人应对其人员进行质量教育和技术培训,定期考核人员的劳动技能,严格执行相关规范和操作规程。
4.12.4 承包人应按照法律规定和合同约定,对设计、材料、工程设备以及全部工程内容及其施工工艺进行全过程的质量检查和检验,并作详细记录,编制工程质量报表,报送工程师审查。此外,承包人还应按照法律规定和合同约定,进行施工现场取样试验、工程复核测量和设备性能检测,提供试验样品、提交试验报告和测量成果以及其他工作。
4.12.5 按合同约定执行工程质量管理,不应免除合同约定的承包人的义务和责任。
5. 设计
5.1 承包人的设计义务
5.1.1 设计义务的一般要求
承包人应按照法律规定,以及国家、行业和地方的规范和标准完成设计工作,并符合《发包人要求》。承包人应对其提供的生产工艺技术(含专利技术、专有技术、工艺包)和设计文件负责,包括工艺流程、工艺技术数据、工艺条件、软件、分析手册、操作指导书、设备制造指导书和其它资料要求,以及总体布局、功能分区、建筑造型、结构设计等。承包人应根据工程实施的需要及时向发包人和工程师说明设计文件的意图,解释设计文件。
5.1.2 对设计人员的要求
承包人应保证其或其设计分包人的设计资质在合同有效期内满足法律法规、行业标准或合同约定的相关要求,并指派符合法律法规、行业标准或合同约定的资质要求并具有从事设计所必需的经验与能力的设计人员完成设计工作。承包人应保证其设计人员(包括分包人的设计人员)在合同期限内,都能按时参加发包人或工程师组织的工作会议。
5.1.3 法律和标准的变化
除合同另有约定外,承包人完成设计工作所应遵守的法律规定,以及国家、行业和地方的规范和标准,均应视为在基准日适用的版本。基准日之后,前述版本发生重大变化,或者有新的法律,以及国家、行业和地方的规范和标准实施的,承包人应向发包人或发包人委托的工程师提出遵守新规定的建议。发包人或其委托的工程师应在收到建议后7天内发出是否遵守新规定的指示。发包人或其委托的工程师指示遵守新规定的,按照第15条[变更]或第16.2款[法律变化引起的调整]约定执行。
在基准日期之后,因国家颁布新的强制性规范、标准导致承包人的费用变化的,发包人应合理调整合同价格;导致工期延误的,发包人应合理延长工期。
5.2 承包人设计进度计划
承包人应按照《发包人要求》,在合同进度计划中专门列出设计进度计划,报发包人批准后执行。承包人需按照经批准后的计划开展设计工作。
因承包人原因影响设计进度的,按第11.5款[承包人引起的工期延误]的约定执行。因发包人原因影响设计进度的,按第15条[变更]处理。
发包人或其委托的工程师有权要求承包人根据第11.5款[承包人引起的工期延误]提交修正的进度计划、增加投入资源并加快设计进度。
5.3 设计审查
5.3.1 承包人的设计文件应报发包人审查同意。审查的范围和内容在《发包人要求》中约定。
除合同另有约定外,自工程师收到承包人的设计文件以及承包人的通知之日起,发包人对承包人的设计文件审查期不超过21天。承包人的设计文件对于合同约定有偏离的,应在通知中说明。承包人需要修改已提交的承包人文件的,应立即通知工程师,并向工程师提交修改后的承包人的设计文件,审查期重新起算。
发包人不同意设计文件的,应通过工程师以书面形式通知承包人,并说明不符合合同要求的具体内容。承包人应根据工程师的书面说明,对承包人文件进行修改后重新报送发包人审查,审查期重新起算。
合同约定的审查期满,发包人没有做出审查结论也没有提出异议的,视为承包人的设计文件已获发包人同意。
5.3.2 承包人的设计文件不需要政府有关部门审查或批准的,承包人应当严格按照经发包人审查同意的设计文件设计和实施工程。
5.3.3 (设计文件需政府有关部门审查或批准的,发包人应在审查同意承包人的设计文件后7天内,向政府有关部门报送设计文件,承包人应予以协助。
对于政府有关部门的审查意见,不需要修改《发包人要求》的,承包人需按该审查意见修改承包人的设计文件;需要修改《发包人要求》的,发包人应重新提出《发包人要求》,承包人应根据新提出的《发包人要求》修改承包人文件。上述情形还应适用第15条[变更]的有关约定。
政府有关部门审查批准的,承包人应当严格按照批准后的承包人的设计文件设计和实施工程。
5.4 培训
承包人应按照《发包人要求》,对发包人的人员进行工程操作和维修方面的培训。合同约定接收之前进行培训的,应在第18.3款[竣工验收]约定的竣工验收前完成培训。
5.5 竣工文件
5.5.1 承包人应编制并及时更新反映工程实施结果的竣工记录,如实记载竣工工程的确切位置、尺寸和已实施工作的详细说明。竣工记录应保存在施工场地,并在竣工试验开始前,按照专用合同条件约定的份数提交给工程师。
5.5.2 在颁发工程接收证书之前,承包人应按照《发包人要求》的份数和形式向工程师提交相应竣工图纸,并取得工程师对尺寸、参照系统及其他有关细节的认可。工程师应按照第5.3款[设计审查]的约定进行审查。
5.5.3 在工程师收到上述文件前,不应认为工程已根据第18.3款[竣工验收]和第18.5款[区段工程验收]约定完成验收。
5.6 操作和维修手册
5.6.1 在竣工试验开始前,承包人应向工程师提交暂行的操作和维修手册,该手册应足够详细,以便发包人能够对生产设备进行操作、维修、拆卸、重新安装、调整及修理。
5.6.2 工程师收到承包人提交的文件后,应依据第5.3款[设计审查]的约定对操作和维修手册进行审查,竣工试验工程中,承包人应为任何因操作和维修手册错误或遗漏引起的风险或损失承担责任。
5.6.3 承包人应提交足够详细的最终操作和维修手册,以及在《发包人要求》中明确的相关操作和维修手册。在工程师收到上述文件前,不应认为工程已根据第18.3款[竣工验收]和第18.5款[区段工程验收]约定完成验收。
5.7 承包人文件错误
除合同专用条款另有约定外,承包人文件存在错误、遗漏、含混、矛盾、不充分之处或其他缺陷,无论承包人是否根据本款获得了批准,承包人均应自费对前述问题带来的缺陷和工程问题进行改正并按照第5.3款[设计审查]的要求,重新送工程师审查,审查日期从工程师收到文件开始重新计算。因此款原因重新提交审查文件导致的工程延误和必要费用增加由承包人承担。《发包人要求》的错误导致承包人文件错误、遗漏、含混、矛盾、不充分或其他缺陷的除外。
6. 材料和工程设备
6.1 承包人提供的材料和工程设备
6.1.1 除专用合同条件另有约定外,承包人提供的材料和工程设备均由承包人负责采购、运输和保管。承包人应对其采购的材料和工程设备负责。采购责任人在工程总承包项目经理的授权下负责材料和工程设备的采购工作,负责制定项目的采购计划,配合做好采购及合同管理,并根据项目实际情况完成材料和工程设备的进场安排、检测和交货验收等工作。
6.1.2承包人应依据设计文件规定的品种、技术要求、规格、数量和供货时间等组织采购工作。按照专用合同条件约定,承包人应将各项材料和工程设备的供货人及品种、技术要求、规格、数量和供货时间等报送工程师确认。承包人应向工程师提交其负责提供的材料和工程设备的质量证明文件,并满足合同约定的质量标准。
6.1.3承包人负责承包人提供的材料和工程设备的运输。运输过程中的费用增加和由此造成的工期延误由承包人承担。
6.1.4 对承包人提供的材料和工程设备,承包人应会同工程师进行检验和交货验收,查验材料合格证明和产品合格证书,并按合同约定和工程师指示,进行材料的抽样检验和工程设备的检验测试,检验和测试结果应提交工程师,所需费用由承包人承担。
6.1.5 承包人提供的材料和工程设备为进口采购的,承包人应负责报关、清关和商检,发包人应予以协助。由于报关、清关和商检所造成的费用增加和工期延误由承包人承担。
6.2 发包人提供的材料和工程设备(A)
6.2.1 专用合同条件约定发包人提供部分材料和工程设备的,应写明材料和工程设备的名称、规格、数量、价格、交货方式、交货地点等。
6.2.2 承包人应根据合同进度计划的安排,向工程师报送要求发包人交货的日期计划。发包人应按照工程师与合同双方当事人商定的交货日期,向承包人提交材料和工程设备。
6.2.3 发包人应在材料和工程设备到货7天前通知承包人,承包人应会同工程师在约定的时间内,赴交货地点共同进行验收。除专用合同条件另有约定外,发包人提供的材料和工程设备验收后,由承包人负责接收、运输和保管。
6.2.4 发包人要求向承包人提前交货的,承包人不得拒绝,但发包人应承担承包人由此增加的费用。
6.2.5 承包人要求更改交货日期或地点的,应事先报请工程师批准。由于承包人要求更改交货时间或地点所增加的费用和(或)工期延误由承包人承担。
6.2.6 发包人提供的材料和工程设备的规格、数量或质量不符合合同要求,或由于发包人原因发生交货日期延误及交货地点变更等情况的,发包人应承担由此增加的费用和(或)工期延误,并向承包人支付合理利润。
6.2 发包人提供的材料和工程设备(B)
发包人不提供材料和工程设备。
6.3 专用于工程的材料和工程设备
6.3.1 运入施工场地的材料、工程设备,包括备品备件、安装专用工器具与随机资料,必须专用于合同约定范围内的工程,未经工程师同意,承包人不得运出施工场地或挪作他用。
6.3.2 随同工程设备运入施工场地的备品备件、专用工器具与随机资料,应由承包人会同工程师按供货人的装箱单清点后共同封存,未经工程师同意不得启用。承包人因合同工作需要使用上述物品时,应向工程师提出申请。
6.3.3 承包人提供的材料和工程设备,发包人已支付采购进度款的,其所有权为发包人所有。在发包人实际接收工程前,承包人应负责对材料和工程设备进行保管、维护和保养。
6.4 实施方法
承包人对材料的加工、工程设备的采购、制造、安装应当按照法律规定、合同约定以及行业习惯来实施。
6.5 禁止使用不合格的材料和工程设备
6.5.1 工程师有权拒绝承包人提供的不合格材料或工程设备,并要求承包人立即进行更换。工程师应在更换后再次进行检查和检验,由此增加的费用和(或)工期延误由承包人承担。
6.5.2 工程师发现承包人使用了不合格的材料和工程设备,应即时发出指示要求承包人立即改正,并禁止在工程中继续使用不合格的材料和工程设备。
6.5.3 发包人提供的材料或工程设备不符合合同要求的,承包人有权拒绝,并可要求发包人更换,由此增加的费用和(或)工期延误由发包人承担。
6.6 材料和工程设备的保管
6.6.1 发包人供应材料与工程设备的保管与使用
发包人供应的材料和工程设备,承包人清点并接收后由承包人妥善保管,保管费用由承包人承担,但专用合同条件另有约定除外。因承包人原因发生丢失毁损的,由承包人负责赔偿。
发包人供应的材料和工程设备使用前,由承包人负责必要的检验,检验费用由发包人承担,不合格的不得使用。
6.6.2 承包人采购材料与工程设备的保管与使用
承包人采购的材料和工程设备由承包人妥善保管,保管费用由承包人承担。合同约定或法律规定材料和工程设备使用前必须进行检验或试验的,承包人应按工程师的指示进行检验或试验,检验或试验费用由承包人承担,不合格的不得使用。
工程师发现承包人使用不符合设计或有关标准要求的材料和工程设备时,有权要求承包人进行修复、拆除或重新采购,由此增加的费用和(或)延误的工期,由承包人承担。
7. 施工设备和临时设施
7.1 承包人提供的施工设备和临时设施
7.1.1 承包人应按合同进度计划的要求,及时配置施工设备和修建临时设施。进入施工场地的承包人设备需经工程师核查后才能投入使用。承包人更换合同约定的承包人设备的,应报工程师批准。
7.1.2 除专用合同条件另有约定外,承包人应自行承担修建临时设施的费用。需要临时占地的,应由发包人办理申请手续并承担相应费用。
7.2 发包人提供的施工设备和临时设施(A)
发包人提供的施工设备或临时设施在专用合同条件中约定。
7.2 发包人提供的施工设备和临时设施(B)
发包人不提供施工设备或临时设施。
7.3 要求承包人增加或更换施工设备
承包人使用的施工设备不能满足合同进度计划和(或)质量标准时,工程师有权要求承包人增加或更换施工设备,承包人应及时增加或更换,由此增加的费用和(或)工期延误由承包人承担。
7.4 施工设备和临时设施专用于合同工程
除合同另有约定外,承包人运入施工现场的施工设备以及在施工现场建设的临时设施必须专用于工程。未经发包人批准,承包人不得运出施工现场或挪作他用;经发包人批准,承包人可以根据合同进度计划撤走闲置的施工设备和其他物品。
8. 交通运输
8.1 道路通行权和场外设施(A)
发包人应根据工程的施工需要,负责办理取得出入施工场地的专用和临时道路的通行权,以及取得为工程建设所需修建场外设施的权利,并承担有关费用。承包人应协助发包人办理上述手续。
8.1 道路通行权和场外设施(B)
承包人应根据工程的施工需要,负责办理取得出入施工场地的专用和临时道路的通行权,以及取得为工程建设所需修建场外设施的权利,并承担有关费用。发包人应协助承包人办理上述手续。
8.2 场内施工道路
8.2.1 除专用合同条件另有约定外,承包人应负责修建、维修、养护和管理施工所需的临时道路和交通设施,包括维修、养护和管理发包人提供的道路和交通设施,并承担相应费用。
8.2.2 除专用合同条件另有约定外,承包人修建的临时道路和交通设施应免费提供发包人和工程师为实现合同目的使用。
8.3 场外交通
8.3.1 承包人车辆外出行驶所需的场外公共道路的通行费、养路费和税款等由承包人承担。
8.3.2 承包人应遵守有关交通法规,严格按照道路和桥梁的限制荷重安全行驶,并服从交通管理部门的检查和监督。
8.4 超大件和超重件的运输
由承包人负责运输的超大件或超重件,应由承包人负责向交通管理部门办理申请手续,发包人给予协助。运输超大件或超重件所需的道路和桥梁临时加固改造费用和其他有关费用,由承包人承担,但专用合同条件另有约定除外。
8.5 道路和桥梁的损坏责任
因承包人运输造成施工场地内外公共道路和桥梁损坏的,由承包人承担修复损坏的全部费用和可能引起的赔偿。
8.6 水路和航空运输
本条上述各款的内容适用于水路运输和航空运输,其中“道路”一词的涵义包括河道、航线、船闸、机场、码头、堤防以及水路或航空运输中其他相似结构物;“车辆”一词的涵义包括船舶和飞机等。
9. 测量放线
9.1 施工控制网
9.1.1 发包人应在专用合同条件约定的期限内,通过工程师向承包人提供测量基准点、基准线和水准点及其书面资料。除专用合同条件另有约定外,承包人应根据国家测绘基准、测绘系统和工程测量技术规范,按上述基准点(线)以及合同工程精度要求,测设施工控制网,并在专用合同条件约定的期限内,将施工控制网资料报送工程师批准。
9.1.2 承包人应负责管理施工控制网点。施工控制网点丢失或损坏的,承包人应及时修复。承包人应承担施工控制网点的管理与修复费用,并在工程竣工后将施工控制网点移交发包人。
9.2 施工测量
9.2.1 承包人应负责施工过程中的全部施工测量放线工作,并配置合格的人员、仪器、设备和其他物品。
9.2.2 工程师可以指示承包人进行抽样复测,当复测中发现错误或出现超过合同约定的误差时,承包人应按工程师指示进行修正或补测,并承担相应的复测费用。
9.3 基准资料错误的责任
发包人应对其提供的测量基准点、基准线和水准点及其书面资料的真实性、准确性和完整性负责,对其提供上述基准资料错误导致承包人损失的,发包人应当承担由此增加的费用和(或)工期延误,并向承包人支付合理利润。承包人应在设计或施工中对上述资料的准确性进行核实,发现存在明显错误或疏忽的,应及时通知工程师。
9.4 工程师使用施工控制网
工程师需要使用施工控制网的,承包人应提供必要的协助,发包人不再为此支付费用。
10. 安全、治安保卫和环境保护
10.1 发包人的安全责任
10.1.1 发包人应按合同约定履行安全职责,授权工程师按合同约定的安全工作内容监督、检查承包人安全工作的实施,组织承包人和有关单位进行安全检查。
10.1.2 发包人应对其自身工作人员的工伤事故承担责任,但由于承包人原因造成发包人人员工伤的,应由承包人承担责任。
10.1.3 发包人应负责赔偿以下各种情况造成的第三者人身伤亡和财产损失:
(1)工程或工程的任何部分对土地的占用所造成的第三者财产损失;
(2)由于发包人原因在施工场地及其毗邻地带、履行合同工作中造成的第三者人身伤亡和财产损失。
10.2 承包人的安全责任
10.2.1 承包人应按合同约定履行安全职责,执行工程师有关安全工作的指示,并在专用合同条件约定的期限内,按合同约定的安全工作内容,编制安全措施计划报送工程师批准。
10.2.2 承包人按照合同约定需要进行勘察的,应严格执行操作规程,采取措施保证各类管线、设施和周边建筑物、构筑物的安全。
10.2.3 承包人应当按照法律、法规和工程建设强制性标准进行设计,在设计文件中注明涉及施工安全的重点部位和环节,提出保障施工作业人员和预防安全事故的措施建议,防止因设计不合理导致生产安全事故的发生。
10.2.4 承包人应加强施工作业安全管理,特别应加强易燃、易爆材料、火工器材、有毒与腐蚀性材料和其他危险品的管理,以及对爆破作业和地下工程施工等危险作业的管理。
10.2.5 承包人应严格按照国家安全标准制定施工安全操作规程,配备必要的安全生产和劳动保护设施,加强对承包人人员的安全教育,并发放安全工作手册和劳动保护用具。
10.2.6 承包人应按工程师的指示制定应对灾害的紧急预案,报送工程师批准。承包人还应按预案做好安全检查,配置必要的救助物资和器材,切实保护好有关人员的人身和财产安全。
10.2.7 合同约定的安全作业环境及安全施工措施所需费用应遵守有关规定,并包括在相关工作的合同价格中。因采取合同未约定的安全作业环境及安全施工措施增加的费用,由工程师按第3.6款[商定或确定]商定或确定。
10.2.8 承包人应对其履行合同所雇佣的全部人员,包括分包人人员的工伤事故承担责任,但由于发包人原因造成承包人人员工伤事故的,应由发包人承担责任。
10.2.9 由于承包人原因在施工场地内及其毗邻地带造成的第三者人员伤亡和财产损失,由承包人负责赔偿。
10.3 治安保卫
10.3.1 除合同另有约定外,承包人应与当地公安部门协商,在现场建立治安管理机构或联防组织,统一管理施工场地的治安保卫事项,履行合同工程的治安保卫职责。
10.3.2 发包人和承包人除应协助现场治安管理机构或联防组织维护施工场地的社会治安外,还应做好包括生活区在内的各自管辖区的治安保卫工作。
10.3.3 除合同另有约定外,承包人应编制施工场地治安管理计划,并制定应对突发治安事件的紧急预案,报工程师批准。自承包人进入施工现场,至发包人接收工程的期间,施工现场发生暴乱、爆炸等恐怖事件,以及群殴、械斗等群体性突发治安事件的,发包人和承包人应立即向当地政府报告。发包人和承包人应积极协助当地有关部门采取措施平息事态,防止事态扩大,尽量减少财产损失和避免人员伤亡。
10.4 环境保护
10.4.1 承包人在履行合同过程中,应遵守有关环境保护的法律,履行合同约定的环境保护义务,并对违反法律和合同约定义务所造成的环境破坏、人身伤害和财产损失负责。
10.4.2 承包人应按合同约定的环保工作内容,编制环保措施计划,报送工程师批准。
10.4.3 承包人应确保施工过程中产生的气体排放物、粉尘、噪声、地面排水及排污等,符合法律规定和《发包人要求》。
10.5 事故处理
合同履行过程中发生事故的,承包人应立即通知工程师,工程师应立即通知发包人。发包人和承包人应立即组织人员和设备进行紧急抢救和抢修,减少人员伤亡和财产损失,防止事故扩大,并保护事故现场。需要移动现场物品时,应作出标记和书面记录,妥善保管有关证据。发包人和承包人应按国家有关规定,及时如实地向有关部门报告事故发生的情况,以及正在采取的紧急措施等。
在工程实施期间或缺陷责任期内发生危及工程安全的事件,工程师通知承包人进行抢救和抢修,承包人声明无能力或不愿立即执行的,发包人有权雇佣其他人员进行抢救和抢修。此类抢救和抢修按合同约定属于承包人义务的,由此增加的费用和(或)延误的工期由承包人承担。
11. 开始工作和竣工
11.1 开始工作
符合专用合同条件约定的开始工作的条件的,工程师应提前7天向承包人发出开始工作通知。工程师在发出开始工作通知前应获得发包人同意。工期自开始工作通知中载明的开始工作日期起计算。
除专用合同条件另有约定外,因发包人原因造成工程师未能在合同签订之日起90天内发出开始工作通知的,承包人有权提出价格调整要求,或者解除合同。发包人应当承担由此增加的费用和(或)工期延误,并向承包人支付合理利润。
11.2 竣工
承包人应在第1.1.4.4 目[工期]约定的期限内完成合同工作。实际竣工日期按第18.3款[竣工验收]约定确定,并在工程接收证书中载明。
11.3 发包人引起的工期延误
在履行合同过程中,由于发包人的下列原因造成工期延误的,承包人有权要求发包人延长工期和(或)增加费用,并支付合理利润。需要修订合同进度计划的,按照第4.12.2项[合同进度计划的修订]的约定执行。
(l)变更;
(2)未能按照合同要求的期限对承包人文件进行审查;
(3)因发包人原因导致的暂停施工;
(4) 未按合同约定及时支付预付款、进度款;
(5) 发包人按第9.3款[基准资料错误的责任]提供的基准资料错误;
(6)发包人按第6.2款[发包人提供的施工设备和临时设施]迟延提供材料、工程设备或变更交货地点的;
(7)发包人未及时按照《发包人要求》履行相关义务;
(8)发包人造成工期延误的其他原因。
11.4 异常恶劣的气候条件
异常恶劣的气候条件是指在施工过程中遇到的,有经验的承包人在订立合同时不可预见的,对合同履行造成实质性影响的,但尚未构成不可抗力事件的恶劣气候条件。合同当事人可以在专用合同条件中约定异常恶劣的气候条件的具体情形。
承包人应采取克服异常恶劣的气候条件的合理措施继续施工,并及时通知工程师。工程师应当及时发出指示,指示构成变更的,按第15条[变更]约定办理。承包人因采取合理措施而延误的工期由发包人承担。
11.5 承包人引起的工期延误
由于承包人原因,未能按合同进度计划完成工作,或工程师认为承包人工作进度不能满足合同工期要求的,承包人应采取措施加快进度,并承担加快进度所增加的费用。由于承包人原因造成工期延误,承包人应支付逾期竣工违约金。逾期竣工违约金的计算方法和最高限额在专用合同条件中约定。承包人支付逾期竣工违约金,不免除承包人完成工作及修补缺陷的义务。
11.6 工期提前
发包人要求承包人提前竣工,应由工程师与承包人共同协商采取加快工程进度的措施和修订合同进度计划。发包人应承担承包人由此增加的费用,并向承包人支付专用合同条件约定的相应奖金。发包人不得以任何理由要求承包人超过合理限度压缩工期。承包人有权不接受提前竣工的指示,工期按照合同约定执行。
11.7 行政审批迟延
合同约定范围内的工作需国家有关部门审批的,发包人和(或)承包人应按照专用合同条件约定的职责分工完成行政审批报送。因国家有关部门审批迟延造成工期延误的,竣工日期相应顺延。造成费用增加的,由双方在负责的范围内各自承担。
12. 暂停工作
12.1 由发包人暂停工作
12.1.1 发包人认为必要时,可通过工程师向承包人发出暂停工作的指示,承包人应按工程师指示暂停工作。由于发包人原因引起的暂停工作造成工期延误的,承包人有权要求发包人延长工期和(或)增加费用,并支付合理利润。
12.1.2 由于承包人下列原因造成发包人暂停工作的,由此造成费用的增加和(或)工期延误由承包人承担:
(1)承包人违约;
(2)承包人擅自暂停工作;
(3)合同约定由承包人承担责任的其他暂停工作。
12.2 由承包人暂停工作
12.2.1 因承包人原因所造成部分或全部工程的暂停,承包人应采取措施尽快复工并赶上进度,由此造成费用的增加或工期延误由承包人承担。因此造成逾期竣工的,承包人应按第11.5款[承包人引起的工期延误]承担逾期竣工违约责任。
12.2.2合同履行过程中发生下列情形之一的,承包人可向发包人发出通知,要求发包人采取有效措施予以纠正。发包人收到承包人通知后的28天内仍不履行合同义务,承包人有权暂停施工,并通知工程师,发包人应承担由此增加的费用和(或)工期延误责任,并支付承包人合理利润。
(1)发包人未能按合同约定支付价款,或拖延、拒绝批准付款申请和支付证书,导致付款延误的;
(2)工程师无正当理由没有在约定期限内发出复工指示,导致承包人无法复工的;
(3)发包人无法继续履行或明确表示不履行或实质上已停止履行合同的;
(4)发包人不履行合同约定其他义务的。
12.2.3 由于发包人的原因发生暂停施工的紧急情况,且工程师未及时下达暂停工作指示的,承包人可先暂停施工,并及时向工程师提出暂停工作的书面请求。工程师应在收到书面请求后的24小时内予以答复,逾期未答复的,视为同意承包人的暂停工作请求。
12.3 暂停工作后的照管
不论由于何种原因引起暂停工作的,暂停工作期间,承包人应负责妥善保护工程并提供安全保障,由此增加的费用由责任方承担。
12.4 暂停工作后的复工
12.4.1暂停工作后,工程师应与发包人和承包人协商,采取有效措施积极消除暂停工作的影响。当工程具备复工条件时,工程师应立即向承包人发出复工通知。发包人通知的复工时间应当给予承包人必要的准备复工时间。承包人收到复工通知后,应在工程师指定的合理期限内复工。
12.4.2不论由于何种原因引起暂停工作,双方均可要求对方一同对受暂停影响的工程、工程设备和工程物资进行检查,承包人应将检查结果及需要恢复、修复的内容和估算通知发包人。
12.4.3承包人无故拖延和拒绝复工的,由此增加的费用和工期延误由承包人承担;因发包人原因无法按时复工的,承包人有权要求发包人延长工期和(或)增加费用,并支付合理利润。
12.5 暂停工作56天以上
12.5.1工程师发出暂停工作指示后56天内未向承包人发出复工通知的,除该项暂停由于承包人违约或承包人原因造成之外,承包人可向工程师提交书面通知,要求工程师在收到书面通知后28天内准许已暂停工作的全部或部分继续工作。如工程师逾期不予批准又无正当理由的,则承包人可以通知工程师,将工程受影响的部分按第15条的约定作为可取消工作的变更处理。
12.5.2由于承包人原因引起暂停工作的,如承包人在收到工程师暂停工作指示后56天内不采取有效的复工措施,造成工期延误的,视为承包人违约,应按第12.2款[由承包人暂停工作]的约定执行,同时发包人有权解除合同。
13. 工程质量
13.1 工程质量要求
13.1.1 工程质量验收按法律规定和合同约定的验收标准执行。
13.1.2 因承包人原因造成工程质量不符合法律的规定和合同约定的,工程师有权要求承包人返工直至符合合同要求为止,由此造成的费用增加和(或)工期延误由承包人承担。
13.1.3 因发包人原因造成工程质量达不到合同约定验收标准的,发包人应承担由于承包人返工造成的费用增加和(或)工期延误,并支付承包人合理利润。
13.2 承包人的质量检查
承包人应按合同约定对设计、材料、工程设备以及全部工程内容及其施工工艺进行全过程的质量检查和检验,并作详细记录,编制工程质量报表,报送工程师审查。
13.3 工程师的质量检查
工程师有权对全部工程内容及其施工工艺、材料和工程设备进行检查和检验。承包人应为工程师的检查和检验提供方便,包括工程师到施工场地,或制造、加工地点,或合同约定的其他地方进行察看和查阅施工原始记录。承包人还应按工程师指示,进行施工场地取样试验、工程复核测量和设备性能检测,提供试验样品、提交试验报告和测量成果以及工程师要求进行的其他工作。工程师的检查和检验,不免除承包人按合同约定应负的责任。
13.4 工程隐蔽部位覆盖前的检查
13.4.1 通知工程师检查
经承包人自检确认的工程隐蔽部位具备覆盖条件后,承包人应通知工程师在约定的期限内检查。承包人的通知应附有自检记录和必要的检查资料。工程师应按时到场检查。经工程师检查确认质量符合隐蔽要求,并在检查记录上签字后,承包人才能进行覆盖。工程师检查确认质量不合格的,承包人应在工程师指示的时间内修整返工后,由工程师重新检查。
13.4.2 工程师未到场检查
除专用合同条件另有约定外,工程师不能按时进行检查的,应提前向承包人提交书面延期要求,顺延时间不得超过48小时,由此导致工期延误的,工期应予以顺延,顺延超过48小时的,由此导致的工期延误及费用增加由发包人承担。工程师未按时进行检查,也未提出延期要求的,视为隐蔽工程检查合格,承包人可自行完成覆盖工作,并作相应记录报送工程师,工程师应签字确认。工程师事后对检查记录有疑问的,可按下列约定重新检查。
13.4.3 工程师重新检查
承包人覆盖工程隐蔽部位后,工程师对质量有疑问的,可要求承包人对已覆盖的部位进行钻孔探测或揭开重新检验,承包人应遵照执行,并在检验后重新覆盖恢复原状。经检验证明工程质量符合合同要求的,由发包人承担由此增加的费用和(或)工期延误,并支付承包人合理利润;经检验证明工程质量不符合合同要求的,由此增加的费用和(或)工期延误由承包人承担。
13.4.4 承包人私自覆盖
承包人未通知工程师到场检查,私自将工程隐蔽部位覆盖的,工程师有权指示承包人钻孔探测或揭开检查,由此增加的费用和(或)工期延误由承包人承担。
13.5 清除不合格工程
13.5.1 因承包人设计失误,使用不合格材料、工程设备,或采用不适当的施工工艺,或施工不当,造成工程不合格的,工程师或发包人委托的保险人可以随时发出指示,要求承包人立即采取措施进行补救,直至达到合同要求的质量标准,由此增加的费用和(或)工期延误由承包人承担。
13.5.2 由于发包人提供的材料或工程设备不合格造成的工程不合格,需要承包人采取措施补救的,发包人应承担由此增加的费用和(或)工期延误,并支付承包人合理利润。
14. 试验和检验
14.1 材料、工程设备和工程的试验和检验
14.1.1 本款适用于竣工试验之前的试验和检验。
14.1.2 承包人应按合同约定进行材料、工程设备和工程的试验和检验,并为工程师对上述材料、工程设备和工程的质量检查提供必要的试验资料和原始记录。按合同约定应由工程师与承包人共同进行试验和检验的,由承包人负责提供必要的试验资料和原始记录。
14.1.3 工程师未按合同约定派员参加试验和检验的,除工程师另有指示外,承包人不可自行试验和检验,必须另行约定时间进行试验和检验。
14.1.4 工程师对承包人的试验和检验结果有疑问的,或为查清承包人试验和检验成果的可靠性要求承包人重新试验和检验的,可按合同约定由工程师与承包人共同进行。重新试验和检验的结果证明该项材料、工程设备或工程的质量不符合合同要求的,由此增加的费用和(或)工期延误由承包人承担;重新试验和检验结果证明该项材料、工程设备和工程符合合同要求,由发包人承担由此增加的费用和(或)工期延误,并支付承包人合理利润。
14.1.5 承包人承担承包人提供的材料和工程设备的质量责任,工程师或发包人的检查或确认并不解除承包人承担的相应责任。
14.2 现场材料试验
14.2.1 承包人根据合同约定或工程师指示进行的现场材料试验,应由承包人提供试验场所、试验人员、试验设备器材以及其他必要的试验条件。
14.2.2 工程师在必要时可以使用承包人的试验场所、试验设备器材以及其他试验条件,进行以工程质量检查为目的的复核性材料试验,承包人应予以协助。
14.3 现场工艺试验
承包人应按合同约定或工程师指示进行现场工艺试验。对大型的现场工艺试验,工程师认为必要时,应由承包人根据工程师提出的工艺试验要求,编制工艺试验措施计划,报送工程师批准。
15. 变更
15.1 变更权
15.1.1在履行合同过程中,经发包人同意,工程师可按第15.3款[变更程序]约定的变更程序向承包人作出有关发包人要求改变的变更指示,承包人应遵照执行。变更应在相应内容实施前提出,否则发包人应承担承包人损失。没有工程师的变更指示,承包人不得擅自变更。
15.1.2 承包人应按照变更指示执行,除非承包人及时向工程师发出通知,说明该项变更指示将降低工程的安全性、稳定性或适用性;涉及的工作内容和范围不可预见;所涉设备难以采购;导致承包人无法执行第10条[安全、治安环卫和环境保护]的内容;将造成工期延误;与第4.1款[承包人的一般义务]相冲突等无法执行的理由。工程师接到承包人的通知后,应作出经发包人签认的取消、确认或改变原指示的书面回复。
15.2 承包人的合理化建议
15.2.1 在履行合同过程中,承包人对《发包人要求》的合理化建议,均应以书面形式提交工程师。合理化建议书的内容应包括建议工作的详细说明、进度计划和效益以及与其他工作的协调等,并附必要的设计文件。
除专用合同条件另有约定外,工程师应在收到承包人提交的合理化建议后7天内审查完毕并报送发包人,发现其中存在技术上的缺陷,应通知承包人修改。工程师应与发包人协商是否采纳建议。建议被采纳并构成变更的,应按第15.3款[变更程序]约定向承包人发出变更指示。
15.2.2 承包人提出的合理化建议降低了合同价格、缩短了工期或者提高了工程经济效益的,发包人可按国家有关规定在专用合同条件中约定给予奖励。
15.2.3承包人提出的建议导致工期和费用增加的,应由承包人承担,工期不予以顺延,并向发包人赔偿由此产生的经济损失。
15.3 变更程序
15.3.1 变更估价原则
(1)已标价工程量清单或预算书有相同项目的,按照相同项目单价认定;
(2)已标价工程量清单或预算书中无相同项目,但有类似项目的,参照类似项目的单价认定;
(3)变更导致实际完成的变更工程量与已标价工程量清单或预算书中列明的该项目工程量的变化幅度超过15%的,或已标价工程量清单或预算书中无相同项目及类似项目单价的,按照合理的成本与利润构成的原则,工程师应按照第3.6款[商定或确定]确定变更价格。变更价格应包括合理的利润,并应考虑承包人根据第15.2款[承包人的合理化建议]提出的合理化建议。
15.3.2 变更的提出
(1)在合同履行过程中,工程师可向承包人发出变更意向书。变更意向书应说明变更的具体内容和发包人对变更的时间要求,并附必要的相关资料。变更意向书应要求承包人提交包括拟实施变更工作的设计和计划、措施和竣工时间等内容的实施方案。发包人同意承包人根据变更意向书要求提交的变更实施方案的,由工程师按第15.3.3 项[变更指示]约定发出变更指示。
(2)承包人收到工程师按合同约定发出的文件,经检查认为其中存在对发包人要求变更情形的,可向工程师提出书面变更建议。变更建议应阐明要求变更的依据,以及实施该变更工作对合同价款和工期的影响,并附必要的图纸和说明。工程师收到承包人书面建议后,应与发包人共同研究,确认存在变更的,应在收到承包人书面建议后的14天内作出变更指示。工程变更导致的工期和费用增加由总承包单位承担,工期不予以顺延,并赔偿由此产生的经济损失。经研究后不同意作为变更的,应由工程师书面答复承包人。
(3)承包人收到工程师的变更意向书后认为难以实施此项变更的,应立即通知工程师,说明原因并附详细依据。工程师与承包人和发包人协商后确定撤销、改变或不改变原变更意向书。
15.3.3 变更指示
(1)变更指示只能由工程师发出。
(2)变更指示应说明变更的目的、范围、变更内容以及变更的工程量及其进度和技术要求,并附有关图纸和文件。承包人收到变更指示后,应按变更指示进行变更工作。
15.4 暂列金额
经发包人同意,承包人可使用暂列金额,但应按照第15.6款[暂估价]规定的程序进行,并对合同价格进行相应调整。
15.5 计日工(A)
15.5.1 发包人认为有必要时,由工程师通知承包人以计日工方式实施变更的零星工作。其价款按列入合同中的计日工计价子目及其单价进行计算。
15.5.2 采用计日工计价的任何一项变更工作,应从暂列金额中支付,承包人应在该项变更的实施过程中,每天提交以下报表和有关凭证报送工程师批准:
(1)工作名称、内容和数量;
(2)投入该工作所有人员的姓名、专业/工种、级别和耗用工时;
(3)投入该工作的材料类别和数量;
(4)投入该工作的施工设备型号、台数和耗用台时;
(5)工程师要求提交的其他资料和凭证。
15.5.3 计日工由承包人汇总后,按第17.3.3 项[进度付款申请单]的约定列入进度付款申请单,由工程师复核并经发包人同意后列入进度付款。
15.5 计日工(B)
签约合同价包括计日工的,按合同约定进行支付。
15.6 暂估价(A)
15.6.1 发包人在价格清单中给定暂估价的专业服务、材料、工程设备和专业工程属于依法必须招标的范围或达到规定的规模标准的,由发包人和承包人以招标的方式选择供应商或分包人。发包人和承包人的权利义务关系在专用合同条件中约定。中标金额与价格清单中所列的暂估价的金额差以及相应的税金等其他费用列入合同价格。
15.6.2 发包人在价格清单中给定暂估价的专业服务、材料和工程设备不属于依法必须招标的范围或未达到规定的规模标准的,应由承包人按第6.1款[承包人提供的材料和工程设备]的约定提供。经工程师确认的专业服务、材料、工程设备的价格与价格清单中所列的暂估价的金额差以及相应的税金等其他费用列入合同价格。
15.6.3 发包人在价格清单中给定暂估价的专业工程不属于依法必须招标的范围或未达到规定的规模标准的,由工程师按照第15.3.2项[变更估价]进行估价,但专用合同条件另有约定的除外。经估价的专业工程与价格清单中所列的暂估价的金额差以及相应的税金等其他费用列入合同价格。
15.6.4因发包人原因导致暂估价合同订立和履行迟延的,由此增加的费用和(或)延误的工期由发包人承担,并支付承包人合理的利润。因承包人原因导致暂估价合同订立和履行迟延的,由此增加的费用和(或)延误的工期由承包人承担。
15.6 暂估价(B)
签约合同价包括暂估价的,按合同约定进行支付。
16. 价格调整
16.1 物价波动引起的调整
除专用合同条件另有约定外,因物价波动引起的价格调整按照本款约定处理。
16.1.1 采用价格指数调整价格差额(适用于投标函附录约定了价格指数和权重的)
16.1.1.1 价格调整公式
因人工、材料和设备等价格波动影响合同价格时,根据投标函附录中的价格指数和权重表约定的数据,按以下公式计算差额并调整合同价格。

式中:△P———需调整的价格差额;
PO———第17.3.4 项[进度付款证书和支付时间]、第17.5.2 项[竣工付款证书及支付时间]和第17.6.2 项[最终结清证书和支付时间]约定的付款证书中承包人应得到的已完成工作量的金额。此项金额应不包括价格调整、不计质量保证金的扣留和支付、预付款的支付和扣回。第15条[变更]约定的变更及其他金额已按当期价格计价的,也不计在内;
A ———定值权重(即不调部分的权重);
B1;B2;B3;……Bn———各可调因子的变值权重(即可调部分的权重)为各可调因子在投标函投标总报价中所占的比例;
Ft1;Ft2;Ft3;……Ftn———各可调因子的当期价格指数,指第17.3.3 项[进度付款申请单]、第17.5.2 项[竣工付款证书及支付时间]和第17.6.2 项[最终结清证书和支付时间]约定的付款证书相关周期最后一天的前42天的各可调因子的价格指数;
F01;F02;F03;……F0n———各可调因子的基本价格指数,指基准日期的各可调因子的价格指数。
以上价格调整公式中的各可调因子、定值和变值权重,以及基本价格指数及其来源在投标函附录价格指数和权重表中约定。价格指数应首先采用投标函附录中载明的有关部门提供的价格指数,缺乏上述价格指数时,可采用有关部门提供的价格代替。
16.1.1.2 暂时确定调整差额
在计算调整差额时得不到当期价格指数的,可暂用上一次价格指数计算,并在以后的付款中再按实际价格指数进行调整。
16.1.1.3 权重的调整
按第15.1 款约定的变更导致原定合同中的权重不合理的,由工程师与承包人和发包人协商后进行调整。
16.1.1.4 承包人引起的工期延误后的价格调整
由于承包人原因未在约定的工期内竣工的,对原约定竣工日期后继续施工的工程,在使用第16.1.1. 1目[价格调整公式]价格调整公式时,应采用原约定竣工日期与实际竣工日期的两个价格指数中较低的一个作为当期价格指数。
16.1.1.5 发包人引起的工期延误后的价格调整
由于发包人原因未在约定的工期内竣工的,对原约定竣工日期后继续施工的工程,在使用第16.1.1.1目[价格调整公式]价格调整公式时,应采用原约定竣工日期与实际竣工日期的两个价格指数中较高的一个作为当期价格指数。
16.1.2 采用造价信息调整价格差额(适用于投标函附录没有约定价格指数和权重的)
合同工期内,因人工、材料、设备和机械台班价格波动影响合同价格时,人工、机械使用费按照国家或省、自治区、直辖市建设行政管理部门、行业建设管理部门或其授权的工程造价管理机构发布的人工成本信息、机械台班单价或机械使用费系数进行调整;需要进行价格调整的材料,其单价和采购数应由工程师复核,工程师确认需调整的材料单价及数量,作为调整合同价格差额的依据。
16.2 法律变化引起的调整
16.2.1 基准日期后,法律变化导致承包人在合同履行过程中所需要的费用发生除第16.1款[物价波动引起的调整]约定以外的增加时,由发包人承担由此增加的费用;减少时,应从合同价格中予以扣减。基准日期后,因法律变化造成工期延误时,工期应予以顺延。
16.2.2 因法律变化引起的合同价格和工期调整,合同当事人无法达成一致的,由工程师按第3.6款[商定或确定]的约定处理。
16.2.3 因承包人原因造成工期延误,在工期延误期间出现法律变化的,由此增加的费用和(或)延误的工期由承包人承担。
16.2.4 因法律变化而需要对工程的实施进行任何调整的,承包人应迅速通知发包人,或者发包人应迅速通知承包人,并附上详细的辅助资料。发包人接到通知后,应根据第15.3款[变更程序]发出变更指示。
17. 合同价格与支付
17.1 合同价格
17.1.1合同价格的组成和调整
除专用合同条件另有约定外,
(1)合同价格包括签约合同价以及按照合同约定进行的调整;
(2)合同价格包括承包人依据法律规定或合同约定应支付的规费和税金;
(3)价格清单列出的任何数量仅为估算的工作量,不得将其视为要求承包人实施的工程的实际或准确的工作量。除专用合同条件中另有约定外,在价格清单中列出的任何工作量和价格数据应仅限用于变更和支付的参考资料。
合同约定工程的某部分按照实际完成的工程量进行支付的,应按照专用合同条件的约定进行计量和估价,并据此调整合同价格。
17.1.2 合同计价模式(A)
本合同计价模式采用固定总价合同(同时单位经济指标包干)的形式。发包人和承包人已就签约合同价达成一致,在合同约定的范围内签约合同价不作调整。地下工程不纳入固定总价范围,采用固定综合单价,按实计量支付,并且不得超过合同约定额度。
17.1.2合同计价模式(B)
本合同计价模式采用固定综合单价包干合同。发包人和承包人已就价格清单及其综合单价达成一致的,在合同约定的范围内合同单价不作调整,工程量按实计量。
17.2 预付款
17.2.1 预付款
预付款用于承包人为合同工程的设计和工程实施购置材料、工程设备、施工设备、修建临时设施以及组织施工队伍进场等。预付款的额度和支付在专用合同条件中约定。预付款必须专用于合同工作。
17.2.2 预付款保函
除专用合同条件另有约定外,承包人应在收到预付款的同时向发包人提交预付款保函,预付款保函的担保金额应与预付款金额相同。保函的担保金额可根据预付款扣回的金额相应递减。
17.2.3 预付款的扣回与还清
预付款在进度付款中扣回,扣回办法在专用合同条件中约定。在颁发工程接收证书前,由于不可抗力或其他原因解除合同时,预付款尚未扣清的,尚未扣清的预付款余额应作为承包人的到期应付款。
17.3 工程进度付款
17.3.1 付款时间
除专用合同条件另有约定外,工程进度付款按月支付。
17.3.2 支付分解表
除专用合同条件另有约定外,承包人应根据价格清单的价格构成、费用性质、计划发生时间和相应工作量等因素,按照以下分类和分解原则,结合第4.12.1项[合同进度计划]约定的合同进度计划,汇总形成月度支付分解报告。
(1)设计费。按照提供设计阶段性成果文件的时间、对应的工作量进行分解。
(2)材料和工程设备费。分别按订立采购合同、进场验收合格、安装就位、工程竣工等阶段和专用条款约定的比例进行分解。
(3)技术服务培训费。按照价格清单中的单价,结合第4.12.1项[合同进度计划]约定的合同进度计划对应的工作量进行分解。
(4)其他工程价款。除第17.1款[合同价格]约定按已完成工程量计量支付的工程价款外,按照价格清单中的价格,结合第4.12.1项[合同进度计划]约定的合同进度计划拟完成的工程量或者比例进行分解。
承包人应当在收到经工程师批复的合同进度计划后7天内,将支付分解报告以及形成支付分解报告的支持性资料报工程师审批,工程师应当在收到承包人报送的支付分解报告后7天内给予批复或提出修改意见,经工程师批准的支付分解报告为有合同约束力的支付分解表。合同进度计划进行了修订的,应相应修改支付分解表,并按本目规定报工程师批复。
17.3.3 进度付款申请单
承包人应在每笔进度款支付前,按工程师批准的格式和专用合同条件约定的份数,向工程师提交进度付款申请单,并附相应的支持性证明文件。除合同另有约定外,进度付款申请单应包括下列内容:
(1)当期应支付金额总额,以及截至当期期末累计应支付金额总额、已支付的进度付款金额总额;
(2)当期根据支付分解表应支付金额,以及截至当期期末累计应支付金额;
(3)当期根据第17.1款[合同价格]约定计量的已实施工程应支付金额,以及截至当期期末累计应支付金额;
(4)当期根据第15条[变更]应增加和扣减的变更金额,以及截至当期期末累计变更金额;
(5)当期根据第23 条[索赔]应增加和扣减的索赔金额,以及截至当期期末累计索赔金额;
(6)当期根据第17.2 款[预付款]约定应支付的预付款和扣减的返还预付款金额,以及截至当期期末累计返还预付款金额;
(7)当期根据第17.4款[质量保证金]约定应扣减的质量保证金金额,以及截至当期期末累计扣减的质量保证金金额;
(8)当期根据合同应增加和扣减的其他金额,以及截至当期期末累计增加和扣减的金额。
17.3.4 进度付款证书和支付时间
(1)工程师在收到承包人进度付款申请单以及相应的支持性证明文件后的14天内完成审核,提出发包人到期应支付给承包人的金额以及相应的支持性材料,经发包人审批同意后,由工程师向承包人出具经发包人签认的进度付款证书。工程师未能在前述时间完成审核的,视为工程师同意承包人进度付款申请。工程师有权核减承包人未能按照合同要求履行任何工作或义务的相应金额。
(2)发包人最迟应在工程师收到进度付款申请单后的28 天内,将进度应付款支付给承包人。发包人未能在前述时间内完成审批或不予答复的,视为发包人同意进度付款申请。发包人不按期支付的,按专用合同条件的约定支付逾期付款违约金。
(3)工程师出具进度付款证书,不应视为工程师已同意、批准或接受了承包人完成的该部分工作。
(4)进度付款涉及政府投资资金的,按照国库集中支付等国家相关规定和专用合同条件的约定执行。
17.3.5 工程进度付款的修正
在对以往历次已签发的进度付款证书进行汇总和复核中发现错、漏或重复的,工程师有权予以修正,承包人也有权提出修正申请。经工程师、承包人复核同意的修正,应在本次进度付款中支付或扣除。
17.4 质量保证金
17.4.1经合同当事人协商一致提供质量保证金的,应在专用合同条件中予以明确。在工程项目竣工前,承包人已经提供履约担保的,发包人不得同时要求承包人提供质量保证金。
17.4.2 工程师应从发包人的每笔进度付款中,按专用合同条件的约定扣留质量保证金,直至扣留的质量保证金总额达到专用合同条件约定的金额或比例为止。质量保证金的计算额度不包括预付款的支付、扣回以及价格调整的金额。
17.4.3 在第1.1.4.6 目[缺陷责任期]约定的缺陷责任期满时,承包人向发包人申请到期应返还承包人剩余的质量保证金,发包人应在14天内会同承包人按照合同约定的内容核实承包人是否完成缺陷责任。如无异议,发包人应当在核实后将剩余质量保证金返还承包人。
17.4.4 在第1.1.4.6 目[缺陷责任期]约定的缺陷责任期满时,承包人没有完成缺陷责任的,发包人有权扣留与未履行责任剩余工作所需金额相应的质量保证金余额,并有权根据第19.4 款[缺陷责任期的延长]约定要求延长缺陷责任期,直至完成剩余工作为止。
17.4.5承包人提供的履约保函覆盖缺陷责任期的,经发包人确认可以不再扣留质量保证金。
17.5 竣工结算
17.5.1 竣工付款申请单
(1)工程接收证书颁发后,承包人应按专用合同条件约定的份数和期限向工程师提交竣工付款申请单,并提供相关证明材料。除专用合同条件另有约定外,竣工付款申请单应包括下列内容:竣工结算合同总价、发包人已支付承包人的工程价款、应扣留的质量保证金、应支付的竣工付款金额。
(2)工程师对竣工付款申请单有异议的,有权要求承包人进行修正和提供补充资料。经工程师和承包人协商后,由承包人向工程师提交修正后的竣工付款申请单。
17.5.2 竣工付款证书及支付时间
(1)工程师在收到承包人提交的竣工付款申请单后的14天内完成核查,提出发包人到期应支付给承包人的价款送发包人审核并抄送承包人。发包人应在收到后14天内审核完毕,由工程师向承包人出具经发包人签认的竣工付款证书。工程师未在约定时间内核查,又未提出具体意见的,视为承包人提交的竣工付款申请单已经工程师核查同意;发包人未在约定时间内审核又未提出具体意见的,工程师提出发包人到期应支付给承包人的价款视为已经发包人同意。
(2)发包人应在工程师出具竣工付款证书后的14 天内,将应支付款支付给承包人。发包人不按期支付的,按第17.3.4项[进度付款证书和支付时间]的约定,将逾期付款违约金支付给承包人。
(3)承包人对发包人签认的竣工付款证书有异议的,发包人可出具竣工付款申请单中承包人已同意部分的临时付款证书。存在争议的部分,按第24条[争议解决]的约定执行。
(4)竣工付款涉及政府投资资金的,按第17.3.4项[进度付款证书和支付时间]目的约定执行。
17.6 最终结清
17.6.1 最终结清申请单
(1)缺陷责任期终止证书签发后,承包人可按专用合同条件约定的份数和期限向工程师提交最终结清申请单,并提供相关证明材料。
(2)发包人对最终结清申请单内容有异议的,有权要求承包人进行修正和提供补充资料,由承包人向工程师提交修正后的最终结清申请单。
17.6.2 最终结清证书和支付时间
(1)工程师收到承包人提交的最终结清申请单后的14天内,提出发包人应支付给承包人的价款送发包人审核并抄送承包人。发包人应在收到后14天内审核完毕,由工程师向承包人出具经发包人签认的最终结清证书。工程师未在约定时间内核查,又未提出具体意见的,视为承包人提交的最终结清申请已经工程师核查同意;发包人未在约定时间内审核又未提出具体意见的,工程师提出应支付给承包人的价款视为已经发包人同意。
(2)发包人应在工程师出具最终结清证书后的14天内,将应支付款支付给承包人。
发包人不按期支付的,按第17.3.4项[进度付款证书和支付时间]的约定,将逾期付款违约金支付给承包人。
(3)承包人对发包人签认的最终结清证书有异议的,按第24条的约定执行。
(4)最终结清付款涉及政府投资资金的,按第17.3.4项[进度付款证书和支付时间]的约定执行。
18. 竣工试验和竣工验收
18.1 竣工试验
18.1.1承包人按照第5.5款[竣工文件]和第5.6款[操作和维修手册]提交文件后,进行竣工试验。
18.1.2承包人应提前21天将可以开始进行竣工试验的日期通知工程师,工程师应在该日期后14天内,确定竣工试验具体时间。除专用合同条件中另有约定外,竣工试验应按下述顺序进行:
(1)第一阶段,承包人进行适当的检查和功能性试验,保证每一项工程设备都满足合同要求,并能安全地进入下一阶段试验;
(2)第二阶段,承包人进行试验,保证工程或区段工程满足合同要求,在所有可利用的操作条件下安全运行;
(3)第三阶段,当工程能安全运行时,承包人应通知工程师,可以进行其他竣工试验,包括各种性能测试,以证明工程符合《发包人要求》中列明的性能保证指标。
18.1.3 承包人应按合同约定进行工程及工程设备试运行。试运行所需人员、设备、材料、燃料、电力、消耗品、工具等必要的条件以及试运行费用等由专用合同条件规定。
18.1.4 某项竣工试验未能通过的,承包人应按照工程师的指示限期改正,并承担合同约定的相应责任。
18.2 竣工验收申请报告
当工程具备以下条件时,承包人即可向工程师报送竣工验收申请报告:
(1)除工程师同意列入缺陷责任期内完成的尾工(甩项)工程和缺陷修补工作外,合同范围内的全部区段工程以及有关工作,包括合同要求的试验和竣工试验均已完成,并符合合同要求;
(2)已按合同约定的内容和份数备齐了符合要求的竣工文件;
(3)已按工程师的要求编制了在缺陷责任期内完成的尾工(甩项)工程和缺陷修补工作清单以及相应施工计划;
(4)工程师要求在竣工验收前应完成的其他工作;
(5)工程师要求提交的竣工验收资料清单。
18.3 竣工验收
工程师收到承包人按第18.2 款[竣工验收申请报告]约定提交的竣工验收申请报告后,应审查申请报告的各项内容,并按以下不同情况进行处理。
18.3.1 工程师审查后认为尚不具备竣工验收条件的,应在收到竣工验收申请报告后的28天内通知承包人,指出在颁发接收证书前承包人还需进行的工作内容。承包人完成工程师通知的全部工作内容后,应再次提交竣工验收申请报告,直至工程师同意为止。工程师收到竣工验收申请报告后28天内不予答复的,视为同意承包人的竣工验收申请,并应在收到该竣工验收申请报告后28天内提请发包人进行竣工验收。
18.3.2 工程师同意承包人提交的竣工验收申请报告的,应在收到该竣工验收申请报告后的28天内提请发包人进行工程验收。
18.3.3 发包人经过验收后同意接受工程的,应在工程师收到竣工验收申请报告后的56天内,由工程师向承包人出具经发包人签认的工程接收证书。发包人验收后同意接收工程但提出整修和完善要求的,限期修好,并缓发工程接收证书。整修和完善工作完成后,工程师复查达到要求的,经发包人同意后,再向承包人出具工程接收证书。
18.3.4 发包人验收后不同意接收工程的,工程师应按照发包人的验收意见发出指示,要求承包人对不合格工程认真返工重作或进行补救处理,并承担由此产生的费用。承包人在完成不合格工程的返工重作或补救工作后,应重新提交竣工验收申请报告,按第18.3.1 项、第18.3.2 项和第18.3.3 项的约定进行。
18.3.5 除专用合同条件另有约定外,经验收合格工程的实际竣工日期,以提交竣工验收申请报告的日期为准,并在工程接收证书中写明。
18.3.6 发包人在收到承包人竣工验收申请报告56天后未进行验收的,视为验收合格,实际竣工日期以提交竣工验收申请报告的日期为准,但发包人由于不可抗力不能进行验收的除外。
18.4 国家验收
需要进行国家验收的,竣工验收是国家验收的一部分。竣工验收所采用的各项验收和评定标准应符合国家验收标准。发包人和承包人为竣工验收提供的各项竣工验收资料应符合国家验收的要求。
18.5 区段工程验收
18.5.1 发包人根据合同进度计划安排,在全部工程竣工前需要使用已经竣工的区段工程时,或承包人提出经发包人同意时,可进行区段工程验收。验收的程序可参照第18.2款[竣工验收申请报告]与第18.3 款[竣工验收]的约定进行。验收合格后,由工程师向承包人出具经发包人签认的区段工程验收证书。已签发区段工程接收证书的区段工程由发包人负责照管。区段工程的验收成果和结论作为全部工程竣工验收申请报告的附件。
18.5.2 发包人在全部工程竣工前,使用已接收的区段工程导致承包人费用增加的,发包人应承担由此增加的费用和(或)工期延误,并支付承包人合理利润。
18.6 施工期运行
18.6.1 施工期运行是指合同工程尚未全部竣工,其中某项或某几项区段工程或工程设备安装已竣工,根据专用合同条件约定,需要投入施工期运行的,经发包人按第18.5款[区段工程验收]的约定验收合格,证明能确保安全后,才能在施工期投入运行。
18.6.2 在施工期运行中发现工程或工程设备损坏或存在缺陷的,由承包人按第19条[缺陷责任与保修责任]约定进行修复。
18.7 工程的接收
18.7.1 根据工程项目的具体情况和特点,可按工程或单位/区段工程进行接收,并在专用合同条件约定接收的先后顺序、时间安排和其他要求。
18.7.2 除按本条约定已经提交的资料外,接收工程时承包人需提交竣工验收资料的类别、内容、份数和提交时间,在专用合同条件中约定。
18.7.3 发包人无正当理由不接收工程的,发包人自应当接收工程之日起,承担工程照管、成品保护、保管等与工程有关的各项费用,合同当事人可以在专用合同条件中另行约定发包人逾期接收工程的违约责任。
18.7.4 承包人无正当理由不移交工程的,承包人应承担工程照管、成品保护、保管等与工程有关的各项费用,合同当事人可以在专用合同条件中另行约定承包人无正当理由不移交工程的违约责任。
18.8 接收证书
18.8.1 除专用合同条件另有约定外,承包人应在竣工验收合格后向发包人提交第17.4款[质量保证金]约定的质量保证金,发包人应在竣工验收合格且工程具备接收条件后的14天内向承包人颁发工程接收证书,但承包人未提交质量保证金的,发包人有权拒绝颁发。发包人拒绝颁发工程接收证书的,应向承包人发出通知,说明理由并指出在颁发接收证书前承包人需要做的工作,需要修补的缺陷和承包人需要提供的文件。
18.8.2 发包人向承包人颁发的接收证书,应注明工程或单位/区段工程经验收合格的实际竣工日期,并列明不在接收范围内的,在收尾工作和缺陷修补完成之前对工程或单位/区段工程预期使用目的没有实质影响的少量收尾工作和缺陷。
18.8.3 竣工验收合格而发包人无正当理由逾期不颁发工程接收证书的,自验收合格后第15天起视为已颁发工程接收证书。
18.8.4 工程未经验收或验收不合格,发包人擅自使用的,应在转移占有工程后7天内向承包人颁发工程接收证书;发包人无正当理由逾期不颁发工程接收证书的,自转移占有后第15天起视为已颁发工程接收证书。
18.9 竣工清场
18.9.1 除合同另有约定外,工程接收证书颁发后,承包人应按以下要求对施工场地进行清理,直至工程师检验合格为止。竣工清场费用由承包人承担。
(1)施工场地内残留的垃圾已全部清除出场;
(2)临时工程已拆除,场地已按合同要求进行清理、平整或复原;
(3)按合同约定应撤离的承包人设备和剩余的材料,包括废弃的施工设备和材料,已按计划撤离施工场地;
(4)工程建筑物周边及其附近道路、河道的施工堆积物,已按工程师指示全部清理;
(5)工程师指示的其他场地清理工作已全部完成。
18.9.2 承包人未按工程师的要求恢复临时占地,或者场地清理未达到合同约定的,发包人有权委托其他人恢复或清理,所发生的金额从拟支付给承包人的款项中扣除。
18.10 施工队伍的撤离
工程接收证书颁发后的56天内,除了经工程师同意需在缺陷责任期内继续工作和使用的人员、施工设备和临时工程外,其余的人员、施工设备和临时工程均应撤离施工场地或拆除。除合同另有约定外,缺陷责任期满时,承包人的人员和施工设备应全部撤离施工场地。
18.11 竣工后试验(A)
除专用合同条件另有约定外,发包人应:
(1)为竣工后试验提供必要的电力、设备、燃料、仪器、劳力、材料,以及具有适当资质和经验的工作人员;
(2)根据承包商按照第5.6款[操作和维修手册]提供的手册,以及承包人给予的指导进行竣工后试验。
发包人应提前21天将竣工后试验的日期通知承包人。如果承包人未能在该日期出席竣工后试验,发包人可自行进行,承包人应对检验数据予以认可。
因承包人原因造成某项竣工后试验未能通过的,承包人应按照合同的约定进行赔偿,或者承包人提出修复建议,按照发包人指示的合理期限内改正,并承担合同约定的相应责任。
18.11 竣工后试验(B)
除专用合同条件另有约定外:
(1)发包人为竣工后试验提供必要的电力、材料、燃料、发包人人员和工程设备;
(2)承包人应提供竣工后试验所需要的所有其他设备、仪器,以及有资格和经验的工作人员;
(3)承包人应在发包人在场的情况下,进行竣工后试验。发包人应提前21天将竣工后试验的日期通知承包人。因承包人原因造成某项竣工后试验未能通过的,承包人应按照合同的约定进行赔偿,或者承包人提出修复建议,按照发包人指示的合理期限内改正,并承担合同约定的相应责任。
19. 缺陷责任与保修责任
19.1 工程保修的原则
在工程移交发包人后,因承包人原因产生的质量缺陷,承包人应承担质量缺陷责任和保修义务。缺陷责任期届满,承包人仍应按合同约定的工程各部位保修年限承担保修义务。
19.2 缺陷责任期的起算时间
缺陷责任期自实际竣工日期起计算。在全部工程竣工验收前,已经发包人提前验收的区段工程或进入施工期运行的工程,其缺陷责任期的起算日期相应提前到相应工程竣工日。
19.3 缺陷调查
19.3.1 承包人缺陷调查
如果发包人指示承包人调查任何缺陷的原因,承包人应在发包人的指导下进行调查。承包人应在发包人指示中说明的日期或与发包人达成一致的其他日期开展调查。除非该缺陷应由承包人负责自费进行修补,承包人有权就调查的成本和利润获得支付。
如果承包人未能根据本款开展调查,该调查可由发包人开展。但应将上述调查开展的日期通知承包人,承包人可自费参加调查。如果该缺陷应由承包人自费进行修补,则发包人有权要求承包人支付发包人因调查产生的合理费用。
19.3.2 缺陷责任
缺陷责任期内,由承包人原因造成的缺陷,承包人应负责维修,并承担鉴定及维修费用。如承包人不维修也不承担费用,发包人可按合同约定从质量保证金中扣除,费用超出质量保证金金额的,发包人可按合同约定向承包人进行索赔。承包人维修并承担相应费用后,不免除对工程的损失赔偿责任。发包人在使用过程中,发现已修补的缺陷部位或部件还存在质量缺陷的,承包人应负责修复,直至检验合格为止。
19.3.3 修复费用
发包人和承包人应共同查清缺陷或损坏的原因。经查明属承包人原因造成的,应由承包人承担修复的费用。经查验非承包人原因造成的,发包人应承担修复的费用,并支付承包人合理利润。
19.3.4 修复通知
在缺陷责任期内,发包人在使用过程中,发现已接收的工程存在缺陷或损坏的,应书面通知承包人予以修复,但情况紧急必须立即修复缺陷或损坏的,发包人可以口头通知承包人并在口头通知后48小时内书面确认,承包人应在专用合同条件约定的合理期限内到达工程现场并修复缺陷或损坏。
19.3.5 在现场外修复
在缺陷责任期内,承包人认为设备中的缺陷或损害不能在现场得到迅速修复,承包人应当向发包人发出通知,请求发包人同意把这些有缺陷或者损害的设备移出现场进行修复,通知应当注明有缺陷或者损害的设备及维修的相关内容,发包人可要求承包人按移出设备的全部重置成本增加质量保证金的数额。
19.3.6 未能修复
因承包人原因造成工程的缺陷或损坏,承包人拒绝维修或未能在合理期限内修复缺陷或损坏,且经发包人书面催告后仍未修复的,发包人有权自行修复或委托第三方修复,所需费用由承包人承担。
如果工程或工程设备的缺陷或损害使发包人实质上失去了工程的整体功能,发包人有权向承包人追回已支付的工程款项,并要求其赔偿发包人相应损失。
19.4 缺陷责任期的延长
由于承包人原因造成某项缺陷或损坏使某项工程或工程设备不能按原定目标使用而需要再次检查、检验和修复的,发包人有权要求承包人相应延长缺陷责任期。
19.5 进一步试验和试运行
任何一项缺陷或损坏修复后,经检查证明其影响了工程或工程设备的使用性能,承包人应重新进行合同约定的试验和试运行,试验和试运行的全部费用应由责任方承担。
19.6 承包人的进入权
缺陷责任期内承包人为缺陷修复工作需要,有权进入工程现场,但应遵守发包人的保安和保密规定。
19.7 缺陷责任期终止证书
在第1.1.4.6目[缺陷责任期]约定的缺陷责任期,包括根据第19.4款[缺陷责任期的延长]延长的期限终止后14天内,由工程师向承包人出具经发包人签认的缺陷责任期终止证书,并退还剩余的质量保证金或履约保函。
19.8 保修责任
合同当事人根据有关法律规定,在专用合同条件中约定工程质量保修范围、期限和责任。保修期自实际竣工日期起计算。在全部工程竣工验收前,已经发包人提前验收的区段工程,其保修期的起算日期相应提前。
20. 保险
20.1 设计和工程保险
20.1.1 承包人按照专用合同条件的约定向双方同意的保险人投保建设工程设计责任险、建筑工程一切险或安装工程一切险等保险。具体的投保险种、保险范围、保险金额、保险费率、保险期限等有关内容应当在专用合同条件中明确约定。
20.1.2 在缺陷责任期终止证书颁发前,承包人应按照专用合同条件的约定投保第三者责任险。
20.2 工伤保险
20.2.1 承包人员工伤保险
承包人应依照有关法律规定,为其履行合同所雇佣的全部人员投保工伤保险,缴纳工伤保险费,并要求分包人及由承包人为履行合同聘请的第三方雇用的全部人员依法办理工伤保险。
20.2.2 发包人员工伤保险
发包人应依照有关法律规定,为其在施工现场的雇用人员投保工伤保险,缴纳工伤保险费,并要求工程师及由发包人为履行合同聘请的第三方在施工现场的雇用人员依法办理工伤保险。
20.3 人身意外伤害险
发包人和承包人可以为其施工现场的全部人员办理意外伤害保险并支付保险费,包括其员工及为履行合同聘请的第三方的人员,具体事项由合同当事人在专用合同条件约定。
20.4 其他保险
除专用合同条件另有约定外,承包人应为其施工设备、进场的材料和工程设备等办理保险。
20.5 对各项保险的一般要求
20.5.1 保险凭证
承包人应在专用合同条件约定的期限内向发包人提交各项保险生效的证据和保险单副本,保险单必须与专用合同条件约定的条件保持一致。
20.5.2 保险合同条款的变动
承包人需要变动保险合同条款时,应事先征得发包人同意,并通知工程师。保险人作出变动的,承包人应在收到保险人通知后立即通知发包人和工程师。
20.5.3 持续保险
承包人应与保险人保持联系,使保险人能够随时了解工程实施中的变动,并确保按保险合同条款要求持续保险。
20.5.4 保险金不足的补偿
保险金不足以补偿损失的,应由承包人和(或)发包人按合同约定负责补偿。
20.5.5 未按约定投保的补救
(1)由于负有投保义务的一方当事人未按合同约定办理保险,或未能使保险持续有效的,另一方当事人可代为办理,所需费用由对方当事人承担。
(2)由于负有投保义务的一方当事人未按合同约定办理某项保险,导致受益人未能得到保险人的赔偿,原应从该项保险得到的保险金应由负有投保义务的一方当事人支付。
20.5.6 报告义务
当保险事故发生时,投保人应按照保险单规定的条件和期限及时向保险人报告。
21. 不可抗力
21.1 不可抗力的确认
21.1.1 不可抗力是指承包人和发包人在订立合同时不可预见,在履行合同过程中不可避免发生并不能克服的自然灾害和社会性突发事件,如地震、海啸、瘟疫、水灾、骚乱、暴动、战争和专用合同条件约定的其他情形。
21.1.2 不可抗力发生后,发包人和承包人应及时认真统计所造成的损失,收集不可抗力造成损失的证据。合同双方对是否属于不可抗力或其损失的意见不一致的,由工程师按第3.6 款[商定或确定]商定或确定。发生争议时,按第24条[争议解决]的约定执行。
21.2 不可抗力的通知
21.2.1 合同一方当事人遇到不可抗力事件,使其履行合同义务受到阻碍时,应立即通知合同另一方当事人和工程师,书面说明不可抗力和受阻碍的详细情况,并提供必要的证明。
21.2.2 如不可抗力持续发生,合同一方当事人应及时向合同另一方当事人和工程师提交中间报告,说明不可抗力和履行合同受阻的情况,并于不可抗力事件结束后28天内提交最终报告及有关资料。
21.3 不可抗力后果及其处理
21.3.1 不可抗力造成损害的责任承担
除专用合同条件另有约定外,不可抗力导致的人员伤亡、财产损失、费用增加和(或)工期延误等后果,由合同双方按以下原则承担:
(1) 永久工程,包括已运至施工现场的材料和工程设备的损害,以及因工程损害造成的第三人人员伤亡和财产损失由承包人承担;
(2) 承包人提供的施工设备的损坏由承包人承担;
(3) 发包人和承包人各自承担其人员伤亡及其他财产损失;
(4) 因不可抗力影响承包人履行合同约定的义务,已经引起或将引起工期延误的,应当顺延工期,由此导致承包人停工的费用损失由发包人和承包人合理分担,停工期间必须支付的现场必要的工人工资由发包人承担;
(5) 因不可抗力引起或将引起工期延误,发包人指示赶工的,由此增加的赶工费用由发包人承担;
(6) 承包人在停工期间按照工程师或发包人要求照管、清理和修复工程的费用由发包人和承包人共同承担。
不可抗力引起的后果及造成的损失由合同当事人按照法律规定及合同约定各自承担。不可抗力发生前已完成的工程应当按照合同约定进行支付。
21.3.2 延迟履行期间发生的不可抗力
合同一方当事人延迟履行,在延迟履行期间发生不可抗力的,不免除其责任。
21.3.3 避免和减少不可抗力损失
不可抗力发生后,发包人和承包人均应采取措施尽量避免和减少损失的扩大,任何一方没有采取有效措施导致损失扩大的,应对扩大的损失承担责任。
21.3.4 因不可抗力解除合同
合同一方当事人因不可抗力不能履行合同的,应当及时通知对方解除合同。合同解除后,承包人应按照第22.2.4项[解除合同后的承包人撤离]约定撤离施工场地。已经订货的材料、设备由订货方负责退货或解除订货合同,不能退还的货款和因退货、解除订货合同发生的费用,由发包人承担,因未及时退货造成的损失由责任方承担。合同解除后的付款,参照第22.2.3项[解除合同后的付款]约定,由工程师按第3.6款[商定或确定]确定。
21.3.5不可抗力影响分包人
分包人根据分包合同的约定,有权获得更多或者更广的不可抗力而免除某些义务时,承包人不得以分包合同中不可抗力约定向发包人抗辩免除其义务。
22. 违约
22.1 承包人违约
22.1.1 承包人违约的情形
在履行合同过程中发生的下列情况之一的,属承包人违约:
(1) 承包人未能遵守第4.2款[履约担保]的约定;
(2) 承包人未能遵守第4.3款[分包和不得转包]有关分包和转包的约定;
(3)承包人实际进度明显落后于进度计划,并且未按发包人的指令采取措施并修正进度计划;
(4)工程质量有严重缺陷,承包人无正当理由使修复开始日期拖延达28天以上;
(5) 承包人破产、停业清理或进入清算程序,或情况表明承包人将进入破产和(或)清算程序,已有对其财产的接管令或管理令,与债权人达成和解,或为其债权人的利益在财产接管人、受托人或管理人的监督下营业,或采取了任何行动或发生任何事件(根据有关适用法律)具有与前述行动或事件相似的效果;
(6) 承包人明确表示或以自己的行为表明不履行合同、或经发包人以书面形式通知其履约后仍未能依约履行合同、或以不适当的方式履行合同;
(7) 未能通过的竣工试验、未能通过的竣工后试验,使工程的任何部分和(或)整个工程丧失了主要使用功能、生产功能;
(8) 因承包人的原因暂停工作超过56天且暂停影响到整个工程,或因承包人的原因暂停工作超过182天;
(9) 承包人未能遵守竣工日期的规定,延误超过182天;
(10) 工程师发出整改通知后,承包人在指定的合理期限内仍不纠正违约行为并致使合同目的不能实现的;
(11) 因承包人的原因拖欠工人工资被相关主管部门处以罚款、限制承接新工程、降低资质等级、吊销资质证书等处罚或造成重大社会影响,被上级政府通报的;
(12) 被认定行贿政府部门公职人员的。
22.1.2 对承包人违约的处理
承包人发生第22.1.1(5)目约定的违约情况时,发包人无须提前告知承包人其解除合同意向,可直接发出正式解除合同通知立即解除合同。
承包人发生除第22.1.1(5)目约定以外的其他违约情况时,工程师可向承包人发出整改通知,要求其在指定的期限内纠正。除合同条款另有约定外,承包人应承担其违约所引起的费用增加和(或)工期延误。
22.1.3 因承包人违约解除合同
工程师发出整改通知28天后,承包人仍不纠正违约行为的,发包人有权解除合同并向承包人发出解除合同通知。承包人收到发包人解除合同通知后14天内,承包人应撤离现场,发包人派员进驻施工场地完成现场交接手续,发包人有权另行组织人员或委托其他承包人。发包人因继续完成该工程的需要,有权扣留使用承包人在现场的材料、设备和临时设施。但发包人的这一行动不免除承包人应承担的违约责任,也不影响发包人根据合同约定享有的索赔权利。
22.1.4 发包人发出合同解除通知后的估价、付款和结清
(1)承包人收到发包人解除合同通知后28天内,工程师按第3.6 款[商定或确定]商定或确定承包人实际完成工作的价值,包括发包人扣留承包人的材料、设备及临时设施和承包人已提供的设计、材料、施工设备、工程设备、临时工程等的价值。
(2)发包人发出解除合同通知后,发包人有权暂停对承包人的一切付款,查清各项付款和已扣款金额,包括承包人应支付的违约金。
(3)发包人发出解除合同通知后,发包人有权按第23.4款[发包人的索赔]的约定向承包人索赔由于解除合同给发包人造成的损失。
(4)合同双方确认合同价款后,发包人颁发最终结清付款证书,并结清全部合同款项。
(5)发包人和承包人未能就解除合同后的结清达成一致而形成争议的,按第24条[争议解决]的约定执行。
22.1.5 协议利益的转让
因承包人违约解除合同的,发包人有权要求承包人将其为实施合同而签订的材料和设备的订货协议或任何服务协议利益转让给发包人,并在承包人收到解除合同通知后的14天内,依法办理转让手续。发包人有权使用承包人文件和由承包人或以其名义编制的其他设计文件。
22.1.6 紧急情况下无能力或不愿进行抢救
在工程实施期间或缺陷责任期内发生危及工程安全的事件,工程师通知承包人进行抢救,承包人声明无能力或不愿立即执行的,发包人有权雇佣其他人员进行抢救。此类抢救按合同约定属于承包人义务的,由此发生的金额和(或)工期延误由承包人承担。
22.2 发包人违约
22.2.1 发包人违约的情形
在履行合同过程中发生下列情形之一的,属发包人违约:
(1)发包人未能按合同约定支付价款,或拖延、拒绝批准付款申请和支付凭证,导致付款延误;
(2)发包人原因造成停工;
(3)工程师无正当理由没有在约定期限内发出复工指示,导致承包人无法复工;
(4)发包人无法继续履行或明确表示不履行或实质上已停止履行合同;
(5)发包人不履行合同约定的其他义务。
22.2.2 因发包人违约解除合同
(1)发生第22.2.1(4)目的违约情况时,承包人可书面通知发包人解除合同。
(2)承包人按第12.2.1项[发包人违约的情形]约定暂停施工28天后,发包人仍不纠正违约行为的,承包人可向发包人发出解除合同通知。但承包人的这一行为不免除发包人承担的违约责任,也不影响承包人根据合同约定享有的索赔权利。
22.2.3 解除合同后的付款
因发包人违约解除合同的,发包人应在解除合同后28天内向承包人支付下列款项,承包人应在此期限内及时向发包人提交要求支付下列金额的有关资料和凭证:
(1)承包人发出解除合同通知前所完成工作的价款;
(2)承包人为该工程施工订购并已付款的材料、工程设备和其他物品的金额。发包人付款后,该材料、工程设备和其他物品归发包人所有;
(3)承包人为完成工程所发生的,而发包人未支付的金额;
(4)承包人撤离施工场地以及遣散承包人人员的金额;
(5)因解除合同造成的承包人损失;
(6)按合同约定在承包人发出解除合同通知前应支付给承包人的其他金额。
发包人应按本项约定支付上述金额并退还质量保证金和履约担保,但有权要求承包人支付应偿还给发包人的各项金额。
22.2.4 解除合同后的承包人撤离
因发包人违约而解除合同后,承包人应妥善处理正在施工的工程和已购材料、设备的保护和移交工作,并按发包人的要求将承包人设备和人员撤出施工场地。承包人撤出施工场地应遵守第18.9款[竣工清场]的约定,发包人应为承包人撤出提供必要条件并办理移交手续。
22.3 第三方造成的违约
在履行合同过程中,一方当事人因第三方的原因造成违约的,应当向对方当事人承担违约责任。一方当事人和第三方之间的纠纷,依照法律规定或者按照约定解决。
23. 索赔
23.1 承包人索赔的提出
根据合同约定,承包人认为有权得到追加付款和(或)延长工期的,应按以下程序向发包人提出索赔:
(1)承包人应在知道或应当知道索赔事件发生后28天内,向工程师递交索赔意向通知书,并说明发生索赔事件的事由。承包人未在前述28天内发出索赔意向通知书的,工期不予顺延,且承包人无权获得追加付款;
(2)承包人应在发出索赔意向通知书后28天内,向工程师正式递交索赔通知书。索赔通知书应详细说明索赔理由以及要求追加的付款金额和(或)延长的工期,并附必要的记录和证明材料;
(3)索赔事件具有连续影响的,承包人应按合理时间间隔继续递交延续索赔通知,说明连续影响的实际情况和记录,列出累计的追加付款金额和(或)工期延长天数;
(4)在索赔事件影响结束后的28天内,承包人应向工程师递交最终索赔通知书,说明最终要求索赔的追加付款金额和延长的工期,并附必要的记录和证明材料。
23.2 承包人索赔处理程序
(1)工程师收到承包人提交的索赔通知书后,应及时审查索赔通知书的内容、查验承包人的记录和证明材料,必要时工程师可要求承包人提交全部原始记录副本。
(2)工程师应按第3.6款[商定或确定]商定或确定追加的付款和(或)延长的工期,并在收到上述索赔通知书和有关索赔的进一步证明材料后及时书面告知发包人,并在42天内,将发包人书面认可的索赔处理结果答复承包人。
(3)承包人接受索赔处理结果的,发包人应在作出索赔处理结果答复后28天内完成赔付。承包人不接受索赔处理结果的,按第24条[争议解决]约定处理。
23.3 承包人提出索赔的期限
23.3.1 承包人按第17.5款[竣工结算]的约定接受了竣工付款证书后,应被认为已无权再提出在合同工程接收证书颁发前所发生的任何索赔。
23.3.2 承包人按第17.6款[最终结清]的约定提交的最终结清申请单中,只限于提出工程接收证书颁发后发生的索赔。提出索赔的期限自接受最终结清证书时终止。
23.4 发包人的索赔
23.4.1 发包人应在知道或应当知道索赔事件发生后28天内,向承包人发出索赔通知,并说明发包人有权扣减的付款和(或)延长缺陷责任期的细节和依据。发包人未在前述28天内发出索赔通知的,丧失要求扣减付款和(或)延长缺陷责任期的权利。发包人提出索赔的期限和要求与第23.3款[承包人提出索赔的期限]的约定相同,要求延长缺陷责任期的通知应在缺陷责任期届满前发出。
23.4.2 发包人按第3.6款[商定或确定]商定或确定发包人从承包人处得到赔付的金额和(或)缺陷责任期的延长期。承包人应付给发包人的金额可从拟支付给承包人的合同价款中扣除,或由承包人以其他方式支付给发包人。
24. 争议解决
24.1 和解
合同当事人可以就争议自行和解,自行和解达成协议的经双方签字并盖章后作为合同补充文件,双方均应遵照执行。
24.2 调解
合同当事人可以就争议请求建设行政主管部门、行业协会或其他第三方进行调解,调解达成协议的,经双方签字盖章后作为合同补充文件,双方均应遵照执行。
24.3 争议评审
合同当事人在专用合同条件中约定采取争议评审方式及评审规则解决争议的,按下列约定执行:
24.3.1 争议评审小组的确定
合同当事人可以共同选择一名或三名争议评审员,组成争议评审小组。如专用合同条件未对成员人数进行约定,则应由三名成员组成。除专用合同条件另有约定外,合同当事人应当自合同订立后28天内,或者争议发生后14天内,选定争议评审员。
选择一名争议评审员的,由合同当事人共同确定;选择三名争议评审员的,各自选定一名,第三名成员由合同当事人共同确定或由合同当事人委托已选定的争议评审员共同确定,为首席争议评审员。争议评审员为一人且合同当事人未能达成一致的,或争议评审员为三人且合同当事人就首席争议评审员未能达成一致的,由专用合同条件约定的评审机构指定。
除专用合同条件另有约定外,争议评审员报酬由发包人和承包人各承担一半。
24.3.2 争议的避免
合同当事人协商一致,可以共同书面请求争议评审小组,就合同履行过程中可能出现争议的情况提供协助或进行非正式讨论,争议评审小组应给出公正的意见或建议。
此类协助或非正式讨论可在任何会议、施工现场视察或其他场合进行,并且除专用合同条件另有约定外,发包人和承包人均应出席。
争议评审小组在此类非正式讨论上给出的任何意见或建议,无论是口头还是书面的,对发包人和承包人不具有约束力,争议评审小组在之后的争议评审程序或决定中也不受此类意见或建议的约束。
24.3.3 争议评审小组的决定
合同当事人可在任何时间将与合同有关的任何争议共同提请争议评审小组进行评审。争议评审小组应秉持客观、公正原则,充分听取合同当事人的意见,依据相关法律、规范、标准、案例经验及商业惯例等,自收到争议评审申请报告后14天或争议评审小组建议并经双方同意的其他期限内作出书面决定,并说明理由。合同当事人可以在专用合同条件中对本项事项另行约定。
24.3.4 争议评审小组决定的效力
争议评审小组作出的书面决定经合同当事人签字确认后,对双方具有约束力,双方应遵照执行。
任何一方当事人不接受争议评审小组决定或不履行争议评审小组决定的,双方可选择采用其他争议解决方式。
任何一方当事人不接受争议评审小组的决定,并不影响暂时执行争议评审小组的决定,直到在后续的采用其他争议解决方式中对争议评审小组的决定进行了改变。
24.4 仲裁或诉讼
因合同及合同有关事项产生的争议,合同当事人可以在专用合同条件中约定以下一种方式解决争议:
(1) 向约定的仲裁委员会申请仲裁;
(2) 向有管辖权的人民法院起诉。
24.5 争议解决条款效力
合同有关争议解决的条款独立存在,合同的不生效、无效、被撤销或者终止的,不影响合同中有关争议解决条款的效力。
25.补充条款
第三部分 专用合同条件
1. 一般约定
1.1 词语定义和解释
1.1.1 合同
1.1.1.10 其他合同文件: 。
1.1.3 工程和设备
1.1.3.5 单位/区段工程的范围: 。
1.1.3.10 作为施工场所组成部分的其他场所包括:
。
1.1.3.11 永久占地包括: 。
1.1.3.12 临时占地包括: 。
1.2 语言文字
本合同除使用汉语外,还使用 语言。
1.3 法律
适用于合同的其他规范性文件: 。
1.4 标准和规范
1.4.1 适用于本合同的标准、规范(名称)包括:
。
1.4.2 发包人提供的国外标准、规范的名称: ;发包人提供的国外标准、规范的份数: ;发包人提供的国外标准、规范的时间: 。
1.4.3 没有成文规范、标准规定的约定: 。
1.4.4 发包人对于工程的特殊技术标准、功能要求:
。
1.5 合同文件的优先顺序
合同文件组成及优先顺序为: 。
1.7 文件的提供和照管
1.7.1 承包人文件的提供
承包人文件的提供期限、名称、数量和形式: 。
1.7.2 发包人文件的提供
发包人提供文件的内容、期限、名称、数量和形式:
。
1.7.3 文件的照管
关于现场文件准备的约定: 。
1.8 联络
1.8.1 合同约定的送达期限:
。
1.8.2 发包人的送达地址: 。
承包人的送达地址: 。
1.12 知识产权
1.12.1 由发包人(或以发包人名义)编制的《发包人要求》和其他文件的著作权归属: 。
1.12.2 由承包人(或以承包人名义)为实施工程所编制的文件、承包人完成的设计工作成果和建造完成的建筑物的知识产权归属: 。
1.12.4 承包人在投标文件中采用的专利、专有技术、技术秘密的使用费的承担方式 。
1.13 保密
双方订立的商业保密协议(名称): ,作为本专用合同条件附件。
双方订立的技术保密协议(名称): ,作为本专用合同条件附件。
1.16 责任限制
承包人对发包人赔偿责任的最高限额为 。
1.17 建筑信息模型技术的应用
关于建筑信息模型技术的开发、使用、存储、传输、交付及费用约定如下: 。
2. 发包人义务
2.3 提供施工现场和工作条件
2.3.1 提供施工现场
关于发包人提供施工现场的范围和期限: 。
2.3.2 提供工作条件
关于发包人应负责提供的工作条件包括: 。
2.5 支付合同价款
发包人提供支付担保的形式、期限、金额(或比例):
。
2.8 其他义务
发包人应履行的其他义务: 。
3. 发包人的管理
3.1 发包人代表
发包人代表的姓名: ;
发包人代表的职务: ;
发包人代表的联系方式: ;
发包人对发包人代表的授权范围如下: ;
发包人代表的职责: 。
3.2 发包人人员
发包人人员姓名: ;
发包人人员职务: ;
发包人人员职责: 。
3.3 工程师
3.3.1 工程师名称: ;工程师监督管理范围、内容: ;工程师权限: 。
3.6 商定或确定
3.6.2 关于商定时间限制的具体约定: 。
3.6.3关于对工程师的确定提出异议的具体约定:
。
3.7 会议
3.7.1 关于召开会议的具体约定: 。
3.7.2 关于保存和提供会议纪要的具体约定: 。
4. 承包人
4.1 承包人的一般义务
承包人应履行的其他义务: 。
4.3 分包和不得转包
允许分包的范围和内容包括: 。
分包单位的资质条件: 。
分包单位选择方式: 。
分包单位的选择程序: 。
4.5 工程总承包项目经理
4.5.1 工程总承包项目经理的姓名: 。
工程总承包项目经理注册执业资格: 。
工程总承包项目经理联系方式: 。
工程总承包项目经理授权范围: 。
承包人不提交工程总承包项目经理的劳动合同,以及承包人没有为工程总承包项目经理缴纳社会保险的有效证明的违约责任: 。
4.5.2工程总承包项目经理每月在施工现场时间不得少于: 。
工程总承包项目经理未经批准擅自离开施工现场的,承包人应承担的违约责任: 。
4.5.3工程总承包项目经理的权限:
。
4.5.4承包人擅自更换工程总承包项目经理应承担的违约责任: 。
4.5.5承包人无正当理由拒绝更换工程总承包项目经理应承担的违约责任: 。
4.6 承包人人员的管理
施工现场的关键人员的其他约定:
。
承包人擅自更换关键人员的违约责任:
。
承包人现场管理关键人员擅自离开施工现场连续超过3天的违约责任: 。
4.11 不可预见的困难
不可预见的困难包括: 。
4.12 进度计划
4.12.1 合同进度计划
工程师批复合同进度计划的期限: 。
4.12.2 合同进度计划的修订
承包人向工程师提交修订合同进度计划的申请报告的期限: 。
工程师批复修订合同进度计划的申请报告的期限:
。
5. 设计
5.5 竣工文件
竣工文件的提供的份数: 。
6. 材料、工程设备
6.1 承包人提供的材料和工程设备
关于承包人提供的材料和工程设备的采购、运输和保管的责任约定: 。
各项材料和工程设备的供货人及品种、技术要求、规格、数量和供货时间等报送规定: 。
6.2 发包人提供的材料和工程设备(A)
发包人提供的材料和工程设备的名称、规格、数量、价格、交货方式、交货地点等: 。
发包人提供的材料和工程设备验收后,由 负责接收、运输和保管。
6.6 材料和工程设备的保管
发包人供应的材料和工程设备的保管费用由 承担。
7. 施工设备和临时设施
7.1 承包人提供的施工设备和临时设施
修建临时设施的费用由 承担。
7.2 发包人提供的施工设备和临时设施(A)
发包人提供的施工设备或临时设施: 。
8. 交通运输
8.2 场内施工道路
8.2.1修建、维修、养护和管理施工所需的临时道路和交通设施应由 负责。
8.2.2发包人和工程师为实现合同目的使用承包人修建的临时道路和交通设施的费用约定: 。
8.4 超大件和超重件的运输
运输超大件或超重件所需的道路和桥梁临时加固改造费用和其他有关费用由 承担。
9. 测量放线
9.1 施工控制网
9.1.1 发包人提供测量基准点、基准线、水准点的期限: 。
关于测绘施工控制网的其他约定: 。
承包人报送控制网资料的期限: 。
9.2 施工测量
9.2.2 关于施工测量误差的约定: 。
10. 安全、治安环卫和环境保护
10.2 承包人的安全责任
10.2.1 承包人编制安全措施计划的期限: 。
11. 开始工作和竣工
11.1 开始工作
开始工作条件: 。
发包人在计划开始工作之日起90日后发出开始工作通知的特殊情形约定: 。
11.4 异常恶劣的气候条件
双方约定视为异常恶劣的气候条件的情形: 。
11.5 承包人引起的工期延误
因承包人原因使竣工日期延误,每延误1日的误期赔偿金额为合同协议书的合同价格的 %或人民币金额为: 、累计最高赔偿金额为合同协议书的合同价格的: %或人民币金额为: 。
11.6 工期提前
承包人提前竣工的奖励: 。
11.7 行政审批迟延
行政审批报送的职责分工: 。
12. 暂停工作
12.1 由发包人暂停工作
由承包人承担责任的其他暂停工作的情形: 。
13. 工程质量
13.1 工程质量要求
工程质量的特殊标准或要求: 。
13.3 工程师的质量检查
除通用合同条件已列明的质量检查的地点外,发包人有权进行质量检查的其他地点: 。
13.4 工程隐蔽部位覆盖前的检查
经承包人自检确认的工程隐蔽部位具备覆盖条件后应在以下的期限内通知工程师检查 。
14. 试验和检验
14.1 材料、工程设备和工程的试验和检验
14.1.2 应由工程师与承包人共同进行试验和检验的材料、工程设备和工程: 。
14.2 现场材料试验
14.2.1 需要进行现场材料试验的内容: 。
14.3 现场工艺试验
需要进行现场工艺试验的内容: 。
15. 变更
15.2 承包人的合理化建议
15.2.1工程师应在收到承包人提交的合理化建议后 日内审查完毕并报送发包人,发现其中存在技术上的缺陷,应通知承包人修改。
15.2.2 承包人提出的合理化建议降低了合同价格、缩短了工期或者提高了工程经济效益的,可获得奖励约定如下:
。
15.6 暂估价(A)
15.6.1 发包人和承包人以招标的方式选择供应商或分包人时,发包人和承包人的权利义务关系: 。
15.6.3 不属于依法必须招标的暂估价项目的协商及估价的约定: 。
16. 价格调整
16.1 物价波动引起的调整
因物价波动引起的价格调整的其他约定:
。
17. 合同价格与支付
17.1 合同价格
17.1.1 合同价格的组成和调整
合同价格形式的约定: 。
合同价格的调整的约定: 。
价格清单中列出的任何工作量和价格数据的作用:
。
按照实际完成的工程量进行支付的工程部分的价格: 。
17.2 预付款
17.2.1 预付款
预付款的额度为: 。
预付款支付的方式为: 。
17.2.2 预付款保函
关于预付款保函的特别约定: 。
17.2.3 预付款的扣回与还清
预付款扣回的方式: 。
17.3 工程进度付款
17.3.1 付款时间
工程付款时间: 。
17.3.2 支付分解表
支付分解表的编制因素: 。
支付分解表的分类和分解原则: 。
17.3.3 进度付款申请单
承包人提交进度付款申请单的份数、内容:
。
17.3.4 进度付款证书和支付时间
逾期付款的违约金的金额、支付方式、支付时间等约定: 。
涉及政府投资资金的进度付款约定: 。
17.4 质量保证金
17.4.1 关于是否需要提供质量保证金的约定: 。
17.4.2 关于质量保证金扣留的约定: 。
17.5 竣工结算
17.5.1 竣工付款申请单
承包人提交竣工付款申请单的份数和期限: 。
竣工付款申请单的内容应包括: 。
17.6 最终结清
17.6.1 最终结清申请单
承包人提交最终结清申请单的期限: 。
承包人提交最终结清申请单的份数: 。
18. 竣工试验和竣工验收
18.1 竣工试验
18.1.2 竣工试验的阶段和顺序: 。
18.1.3 进行工程及工程设备试运行的必要的条件及试运行费用: 。
18.3 竣工验收
18.3.5 验收合格工程的实际竣工日期: 。
18.6 施工期运行
18.6.1需要投入施工期运行的区段工程或工程设备: 。
18.7 工程的接收
18.7.1 工程接收的先后顺序、时间安排和其他要求: 。
18.7.2 接受工程时承包人需提交竣工验收资料的类别、内容、份数和提交时间: 。
18.7.3 发包人逾期接收工程的违约责任:
。
18.7.4 承包人无正当理由不移交工程的违约责任: 。
18.8 接收证书
18.8.1 工程接受证书颁发时间: 。
18.9 竣工清场
18.9.1关于竣工清场的其他约定: 。
18.10 施工队伍的撤离
工程师同意需在缺陷责任期内继续工作和使用的人员、施工设备和临时工程的内容: 。
缺陷责任期满时,承包人的人员和施工设备不用全部撤离施工场地的情形: 。
18.11 竣工后试验(A)
关于竣工后试验的其他约定: 。
18.11 竣工后试验(B)
关于竣工后试验的其他约定: 。
19. 缺陷责任与保修责任
19.3 缺陷调查
19.3.4 修复通知
承包人收到修复通知并到达工程现场的合理期限: 。
19.8 保修责任
工程质量保修范围: 。
工程质量保修期限: 。
工程质量保修责任: 。
20. 保险
20.1 设计和工程保险
20.1.1 双方当事人关于设计和工程保险的特别约定:
。
20.1.2 双方当事人关于第三方责任险的特别约定:
。
20.4 其他保险
承包人施工设备、进场的材料和工程设备等保险办理的其他约定: 。
关于其他保险的约定: 。
20.5 对各项保险的一般要求
20.5.1 保险凭证
承包人向发包人提交各项保险生效的证据和保险单副本的期限: 。
保险单的条件: 。
20.5.4 保险金不足的补偿
发包人和承包人关于保险金不足以补偿损失的约定:
。
21. 不可抗力
21.1 不可抗力的确认
除通用合同条件约定的不可抗力事件之外,视为不可抗力的其他情形: 。
21.2 不可抗力后果及其处理
21.2.1 不可抗力造成损害的责任承担
不可抗力导致的人员伤亡、财产损失、费用增加和(或)工期延误等后果的承担按以下约定处理:
。
22. 违约
22.1承包人违约
22.1.1 承包人违约的情形
承包人违约的其他情形: 。
22.1.2 对承包人违约的处理
对于承包人所引起的费用增加和(或)工期延误的其他约定: 。
22.1.3 承包人违约的责任
承包人违约责任的承担方式和计算方法: 。
22.2 发包人违约
22.2.1 发包人违约的情形
发包人违约的其他情形:
。
22.2.2 发包人违约的责任
发包人违约责任的承担方式和计算方法: 。
22.3第三方造成的违约
关于第三方造成的违约的约定: 。
23. 索赔
23.1 承包人索赔的提出
承包人有权得到追加付款和(或)延长工期的情形:
。
24.争议解决
24.3 争议评审
合同当事人是否同意将采取争议评审方式解决争议的: 。
争议评审方式评审规则为: 。
24.3.1 争议评审小组的确定
争议评审小组成员的人数: 。
争议评审小组成员的确定: 。
选定争议避免/评审组的期限: 。
评审机构: 。
其他事项的约定: 。
争议评审员报酬的承担人: 。
24.3.2 争议的避免
发包人和承包人是否均出席争议避免的非正式讨论: 。
24.3.3 争议评审小组的决定
关于争议评审小组的决定的其他约定: 。
24.4 仲裁或诉讼
因合同及合同有关事项发生的争议,按下列第 种方式解决:
(1)向 仲裁委员会申请仲裁;
(2)向 人民法院起诉。
25.补充条款
其他补充条款:
(专用合同的约定包括但不限于以上所列条款,本指南仅供参考使用)
专用合同条件附件
附件1:发包人要求
附件2:发包人供应材料设备一览表
附件3:履约担保
附件4:工程质量保修书
附件5:主要建设工程文件目录
附件6:承包人主要管理人员表
附件7:价格指数权重表
附件1发包人要求
发包人要求应尽可能清晰准确,对于可以进行定量评估的工作,发包人要求不仅应明确规定其产能、功能、用途、质量、环境、安全,并且要规定偏离的范围和计算方法,以及检验、试验、试运行的具体要求。对于承包人负责提供的有关设备和服务,是否采取装配式建造、建筑信息模型(BIM)技术,对发包人人员进行培训和提供一些消耗品等,在发包人要求中应一并明确规定。
发包人要求通常包括但不限于以下内容:
一、功能要求
(一)工程的目的。
(二)建设规模(房屋建筑工程包括建筑高度及单跨跨度、地上建筑面积、地下建筑面积、层高、户型及户数、停车位数量或比例等;市政工程包括道路等级、道路宽度等)。
(三)性能保证指标(性能保证表)。
(四)产能保证指标。
二、工程范围
(一)概述
(二)包括的工作
1. 永久工程的设计、采购、施工范围。
2. 临时工程的设计与施工范围。
3. 竣工验收工作范围。
4. 技术服务工作范围。
5. 培训工作范围。
6. 保修工作范围。
(三)工作界区
(四)发包人提供的现场条件
1. 施工用电。
2. 施工用水。
3. 施工排水。
(五)发包人提供的技术文件
除另有批准外,承包人的工作需要遵照发包人的下列技术文件:
1. 发包人设计任务书。
2. 发包人已完成的设计文件。
三、工艺安排或要求(如有)
四、时间要求
(一)开始工作时间。
(二)设计完成时间。
(三)进度计划。
(四)竣工时间。
(五)缺陷责任期。
(六)其他时间要求。
五、技术要求
(一)设计阶段和设计任务。
(二)设计标准和规范。
(三)技术标准和要求。
(四)质量标准。
(五)设计、施工和设备监造、试验(如有)。
(六)样品。
(七)发包人提供的其他条件,如发包人或其委托的第三人提供的设计、工艺包、用于试验检验的工器具等,以及据此对承包人提出的予以配套的要求。
(对于没有相应成文规定的标准、规范的,发包人应列明技术要求,由承包人在承包人建议书中提出实施方法;对于实施方法存在较高不确定性、承包人需要对实施方法进行研发试验的,在专用合同条件中进行约定,经发包人认可后执行。须对施工人员进行特殊培训的,其费用应列入合同价格)
六、竣工试验
(一)第一阶段,如对单车试验等的要求,包括试验前准备。
(二)第二阶段,如对联动试车、投料试车等的要求,包括人员、设备、材料、燃料、电力、消耗品、工具等必要条件。
(三)第三阶段,如对性能测试及其他竣工试验的要求,包括产能指标、产品质量标准、运营指标、环保指标等。
七、竣工验收
八、竣工后试验(如有)
九、文件要求
(一)设计文件,及其相关审批、核准、备案要求。
(二)沟通计划。
(三)风险管理计划。
(四)竣工文件和工程的其他记录。
(五)操作和维修手册。
(六)其他承包人文件。
十、工程项目管理规定
(一)质量。
(二)进度,包括里程碑进度计划(如果有)。
(三)支付。
(四)HSE(健康、安全与环境管理体系)。
(五)沟通。
(六)变更。
十一、其他要求
(一)对承包人的主要人员资格要求。
(二)相关审批、核准和备案手续的办理。
(三)对项目发包人人员的操作培训。
(四)分包。
(五)设备供应商。
(六)缺陷责任期的服务要求。
发包人要求附件清单
附件一:性能保证表
附件二:工作界区图
附件三:发包人已完成的设计文件
附件四:发包人设计任务书(参考示例一)
附件五:承包人文件要求
附件六:承包人人员资格要求及审查规定
附件七:承包人设计文件审查规定
附件八:承包人采购审查与批准规定
附件九:材料、工程设备和工程试验规定
附件十:竣工试验规定
附件十一:竣工验收规定
附件十二:竣工后试验规定
附件十三:工程项目管理规定
附件十四:其他资料文件
发包人提供的其他资料包括但不限于:
1. 施工场地及毗邻区域内的供水、排水、供电、供气、供热、通信、广播电视等地下管线资料、气象和水文观测资料,相邻建筑物和构筑物、地下工程的有关资料,以及其他与建设工程有关的原始资料。
2. 定位放线的基准点、基准线和基准标高。
3. 发包人取得的有关审批、核准和备案材料,如规划许可证。
4. 估算工程量清单。
5. 主要材料设备清单。
6. 适用于本工程的国家标准规范、和(或)行业标准规范、和(或)工程所在地方的标准规范、和(或)企业标准规范的名称(或编号)。发包人使用国外标准、规范的,应提供原文版本和中文译本。
7. 其他资料。
附件2
发包人供应材料设备一览表
附件3
履约担保
(发包人名称):
鉴于 (发包人名称,以下简称“发包人”)接受 (承包人名称,以下称“承包人”)于 年 月 日参加 (项目名称)的投标。我方愿意就承包人履行与你方订立的合同,向你方提供担保。
1. 担保金额人民币(大写 ) (¥ )。
2. 担保有效期自发包人与承包人签订的合同生效之日起至发包人签发工程接收证书之日止。
2. 担保有效期自发包人与承包人签订的合同生效之日起至承包人通过竣工后试验之日止。
2. 担保有效期自发包人与承包人签订的合同生效之日起至缺陷责任期满之日止。
3. 在本担保有效期内,因承包人违反合同约定的义务给你方造成经济损失时,我方在收到你方以书面形式提出的在担保金额内的赔偿要求后,在7天内支付。
4. 发包人和承包人按《通用合同条件》第15条变更合同时,我方承担本担保规定的义务不变。
担 保 人: (盖单位章)
法定代表人或其委托代理人: (签字)
地 址:
邮政编码:
电 话:
年 月 日
附件4
工程质量保修书
发包人(全称):
承包人(全称):
发包人和承包人根据《中华人民共和国建筑法》和《建设工程质量管理条例》,经协商一致就 (工程全称)订立工程质量保修书。
一、工程质量保修范围和内容
承包人在质量保修期内,按照有关法律规定和合同约定,承担工程质量保修责任。
质量保修范围包括地基基础工程、主体结构工程,屋面防水工程、有防水要求的卫生间、房间和外墙面的防渗漏,供热与供冷系统,电气管线、给排水管道、设备安装和装修工程,以及双方约定的其他项目。具体保修的内容,双方约定如下: 。
二、质量保修期
根据《建设工程质量管理条例》及有关规定,工程的质量保修期如下:
1.地基基础工程和主体结构工程为设计文件规定的工程合理使用年限;
2.屋面防水工程、有防水要求的卫生间、房间和外墙面的防渗为 年(最低为5年);
3.装修工程为 年;
4.电气管线、给排水管道、设备安装工程为 年(最低为2年);
5.供热与供冷系统为 个(最低为2个)采暖期、供冷期;
6.住宅小区内的给排水设施、道路等配套工程为 年;
7.其他项目保修期限约定如下: 。
质量保修期自工程竣工验收合格之日起计算。
三、缺陷责任期
工程缺陷责任期为 个月,缺陷责任期自工程通过竣工验收之日起计算。单位/区段工程先于全部工程进行验收,单位/区段工程缺陷责任期自单位/区段工程验收合格之日起算。
缺陷责任期终止后,发包人应返还剩余的质量保证金。
四、质量保修责任
1.属于保修范围、内容的项目,承包人应当在接到保修通知之日起7天内派人保修。承包人不在约定期限内派人保修的,发包人可以委托他人修理。
2.发生紧急事故需抢修的,承包人在接到事故通知后,应当立即到达事故现场抢修。
3.对于涉及结构安全的质量问题,应当按照《建设工程质量管理条例》的规定,立即向当地建设行政主管部门和有关部门报告,采取安全防范措施,并由承包人提出保修方案,承包人将设计业务分包的,应由原设计分包人或具有相应资质等级的设计人提出保修方案,承包人实施保修。
4.质量保修完成后,由发包人组织验收。
五、保修费用
保修费用由造成质量缺陷的责任方承担。
六、双方约定的其他工程质量保修事项: 。
工程质量保修书由发包人、承包人在工程竣工验收前共同签署,作为工程总承包专用合同条件附件,其有效期限至保修期满。
发包人(公章): 承包人(公章):
地 址: 地 址:
法定代表人(签字): 法定代表人(签字):
委托代理人(签字): 委托代理人(签字):
电 话: 电 话:
传 真: 传 真:
开户银行: 开户银行:
账 号: 账 号:
邮政编码: 邮政编码:
附件5
主要建设工程文件目录
附件6
承包人主要管理人员表
附件7
价格指数权重表
示例一:发包人设计任务书
发包人设计任务书
(适用于房屋建筑工程)
一、工程概况及设计范围
1、项目概况
描述项目的地理位置和总用地面积,以及建设内容。
2、建设要求
建设要求包括对具体设计内容的描述以及相关的规划技术条件,如容积率、绿化率和建筑密度等。
3、设计范围
项目分期建设计划,以及纳入本次设计的范围与内容。
二、总平面设计内容及要求
1、室外景观
(1)主入口:设置方位要求、是否设置围墙;
(2)交通组织流线和消防通道宽度、材料要求;
(3)绿化景观:所用树种搭配要求、建筑小品、雕塑的设置位置和大小等标准要求、特殊的庭院景观要求;
(4)停车位的设置:地上、地下停车位的需求数量,小车(分用途)、大巴等参观用车位的数量,以及停车位相关的尺寸、选材、周边配套的设施要求。
(5)其他:铺装的位置、选材,特殊景观(如叠水池、喷泉)要求。
2、总平给排水
明确给水、排水系统的基本布置形式,以及消防水池和水泵房的设置位置。
3、总平电气
(1)监控系统:明确监控设备设置的具体位置和所用材料;
(2)夜景和景观照明:明确景观灯的种类、数量和设置位置的要求;
(3)广播系统是否设置;
(4)相关的发、变配电机房的要求。
4、交通组织
交通组织的要求、消防通道的设置宽度和所用材料(沥青或混凝土等),以及特殊的要求。
三、单体设计内容及要求
单体设计内容包含建筑、结构、给排水、电气智能、暖通系统和精装修设计。
(1)建筑设计:说明建筑的基本布局、功能房间的指标。
(2)结构设计:说明所采用的主要结构形式,以及相关的造型材质要求。
(3)给排水设计:说明包含的系统种类、给水总表的设置位置,以及卫生器具、管材和消火栓的选择标准。
(4)电气设计:除必须的动力配电系统、照明配电系统、建筑物防雷及安全防护系统、火灾自动报警系统说明外,明确各功能房间的电视电话网络系统和室内监控系统的设计标准和要求,以及管材的选择标准。
(5)其他需考虑设置的相关投影设备、会议系统和公共广播系统等。
(6)暖通设计:说明采用的空调系统以及管材的选择标准。
(7)精装修设计:基本的装修风格、档次标准说明,各功能房间的基础装修要求(天花板、墙面、地面),以及其他需特殊说明的装修内容。(需明确每平米多少钱)
四、设计文件要求
(1)关于限额设计的要求说明,并附《投资控制目标要求》。
(2)需提交的方案、初设、施工图设计的文件种类(效果图、文本、蓝图、电子文件、光盘等)和份数。
(3)其他要求。
五、其他要求
项目对绿色建筑、节能、环保及其他方面提出的各项建设要求及标准,明确是否采用工业化建造方式和BIM技术。
六、发包人提供的基础资料
发包人的项目建设批复文件、用地红线图、地形图、地块规划设计条件、勘察设计资料文件等各类基础资料,附《发包人提供基础资料清单》。
设计任务书
(适用于市政基础设施项目)
一、工程概况及设计范围
1、项目概况
描述项目的地理位置和总用地面积,以及建设内容,项目投资。
2、建设要求
建设要求包括对具体设计内容的描述以及相关建设标准。
3、设计范围
项目分期建设计划,以及纳入本次设计的范围与内容。
二、设计总体要求
1、设计标准:主要技术指标(如道路项目的道路等级、设计速度、路线总长、红线宽度等其他市政基础设施按项目特点确定其主要技术指标)
2、平面设计:平面设计要求,设计标准
三、设计文件要求
1、关于限额设计的要求说明,并附《投资控制目标要求》。
2、需提交的方案、初设、施工图设计的文件种类(效果图、文本、蓝图、电子文件、光盘等)和份数。
3、其他要求。
四、其他要求
项目对绿色建筑、节能、环保及其他方面提出的各项建设要求及标准,明确是否采用工业化建造方式和BIM技术。
五、发包人提供的基础资料
发包人的项目建设批复文件、地块规划设计条件、勘察设计资料文件等各类基础资料,附《发包人提供基础资料清单》。
示例二:主要材料设备清单
1、房屋建筑工程主要材料设备清单
(根据项目实际情况调整填入上表)
2、市政工程主要材料设备清单
(根据项目实际情况调整填入上表)
第四部分 信息化工程合同指南
发包人(全称):
承包人(全称):
根据《中华人民共和国民法典》《中华人民共和国建筑法(2019修正)》《中华人民共和国招标投标法(2017年修正)》《深圳经济特区建设工程施工招标投标条例(2019修正)》及其他有关法律、法规,遵循平等、自愿、公平和诚实信用的原则,发包人和承包人就本工程项目采用设计—采购—施工一体化总承包(EPC)实施等相关事项协商一致,订立本合同,达成协议如下:
一、工程概况
工程名称:
工程地点:
审批文号:
工程规模及特征:
资金来源:
二、工程承包范围
工程承包范围,包括以下:
本项目的设计文档 (包括:《XX项目实施方案》、《XX项目详细设计方案》、《项目实施保密管理措施》、设计图纸等)在承包人施工前,应当交发包人确认。
本项目竣工后承包人应交付但不限于以下文档:
(1)设计文档:
《XX项目实施方案》、《XX项目详细设计方案》、《项目实施保密管理措施》等。
(2)使用和维护文档:
《XX项目:系统配置和维护手册》,主要包括:有关技术文件(图纸)、设备参数配置资料、设备安装布置图、设备接线图、测试记录、运行操作手册、维护手册、验收报告等文档汇集。
(3)其他文档:
《设备验收报告》、《系统初步验收报告》和《系统竣工验收报告》及其他必要的配套文档。
三、项目设计方案来源
四、合同工期
1、合同工期总日历天数: 天。合同工期总日历天数与根据下述计划开竣工日期计算的工期天数不一致的,以合同工期总日历天数为准。
2、设计计划开工日期(绝对日期或相对日期): ;
3、施工计划开工日期(绝对日期或相对日期): ;
4、计划开工日期以 起算;
项目实施方案设计(含现场调研)和确认;
5、完成系统集成任务与应用系统改造任务,经发包人、承包人和工程监理单位进行项目初步验收后,系统进入试运行。
6、系统稳定试运行三个月,并通过第三方测评之后,承包人向发包人提出项目竣工验收请求,由发包人、承包人和工程监理单位组织进行竣工验收。
7、计划竣工日期(绝对日期或相对日期): 。
8、系统经竣工验收合格后,进入维保期,免费维保期限
年(不少于1年,货物类不少于3年)。
五、质量标准和要求
设计标准和要求(设计文件编制及限额设计目标):
工程质量标准和要求(施工质量及项目成效目标):
六、设备、材料供应要求与检验(如果有)
1.承包人对供货商(原厂商)出厂产品的检验。主要部件及产品的总体检验都应在供货商(原厂商)的工厂内结束。承包人须提供由发包人认可的一整套检验标准和计划。所有检验应严格按照认可的方式进行。在检验结束后,根据发包人的需求,承包人可向发包人提供必要的技术数据、图纸以及一份测试报告。工厂检验并不排除承包人及供货商(原厂商)对所有产品在质量上应负的全部责任,承包人应当对供货商(原厂商)产品的质量问题承担连带保证责任。
2.产品验货:
在本合同采购的设备到货,由产品供货商(原厂商)提供产品原厂证明,以确保承包人提供的产品为原厂正货。若在施工过程中发现产品存在质量问题,或者出现产品型号、规格、数量等任何不符及损坏等情况的,承包人应及时通知发包人、联系产品原厂商,并负责妥善处理直至发包人满意,因此所产生的全部费用均由承包人自行承担。另,如因此造成发包人已经或可能产生损失的,亦由承包人负责,承包人应向发包人支付本合同总金额的 %作为违约金,违约金不足以弥补全部损失的,由承包人补足损失。
3.本合同项目使用的设备、材料均须符合国家和行业部门规定的标准、技术条件和工程要求,方可订货使用。若发现货不对板,发包人有权拒用,并由承包人承担损失。
七、验收
本项目验收分为到货验收(如果有)、初步验收和竣工验收三部分。
到货验收是指:承包人根据合同内容采购的硬件到货,并交付发包人验收,到货验收合格后产生相应的到货验收报告。
初步验收是指:发包人、承包人及工程监理方根据工程实施计划,完成合同规定的全部任务后的验收。初步验收由承包人提出申请,由发包人组织承包人、工程监理方等项目参建单位参加。初步验收完成后产生相应的系统初步验收报告,并由发包人、承包人及工程监理三方签字确认。初步验收的具体时间由发包人、承包人及工程监理三方协商确定。
竣工验收是指:对本合同之项目的整体内容(比如:设备采购及机房工程的整体性能、系统的稳定性和可靠性、整个系统的运行效率,以及系统整个建设期内的文档等)进行的系统级最终验收。竣工验收是在整个系统初步验收、正常试运行 个月并通过第三方测评后,由发包人组织承包人、工程监理方等项目参建单位参加。竣工验收完成后产生相应的竣工验收报告,须由发包人、承包人及工程监理方三方签字确认。竣工验收的具体时间由发包人、承包人及工程监理方三方协商确定。
上述三种形式的验收,均为发包人有效跟进、监督承包人质量的形式,验收合格的事实并不免除承包人依据本合同应当承担的货物质量保证等义务。
八、签约合同价
1.签约合同价(含税)为:
人民币(大写: ) (小写: 元)。
其中:
(1) 工程建设费(包括:软件产品购置费、硬件设备购置费、单项工程服务费等)(含税):
人民币(大写: ) (¥小写: 元);
(2)工程建设其他费用(包括:建设单位管理费、建设项目前期咨询费等)(含税):
人民币(大写: ) (¥小写: 元);
(3)预备费(含税)(如果有):
人民币(大写: ) (小写: 元);
(4)其他(含税)(如果有)( ):
人民币(大写: ) (小写: 元)。
2.合同价格形式
本合同的价格形式为总价包干模式。
九、付款方式
1.合同签订后,合同承包人提供合法、有效、等额的含税发票给合同发包人,合同发包人负责办理相关付款资料,审批流程完成后发包人向承包人支付合同价款总额的 %(不高于20%)的款项。
2.项目建设完毕已试运行且通过初步验收后,合同承包人提供合法、有效、等额的含税发票给合同发包人,合同发包人负责办理相关付款资料,审批流程完成后发包人向承包人支付合同价款总额的 %的款项。
3.项目竣工验收完毕后,合同承包人提供合法、有效、等额的含税发票给合同发包人,合同发包人负责办理相关付款资料,审批流程完成后发包人向承包人支付合同价款总额的 %的款项。
4.项目结算、决算完毕后,合同承包人提供合法、有效、等额的含税发票给合同发包人,合同发包人负责办理相关付款资料,审批流程完成后发包人向承包人支付合同价款总额的 %(不低于15%)的款项。
建设内容货物采购部分(如果有):货物到货经工程监理方组织发包人和承包人共同验收后,合同承包人提供合法、有效、等额的含税发票给合同发包人,合同发包人负责办理相关付款资料,审批流程完成后发包人向承包人支付合同中硬件部分价款总额的 %的款项(到货阶段支付比例建议为合同中硬件部分价款总额的60%—65%,加上合同预付款后累计支付比例在80%—85%;在项目结算、决算后支付比例不低于合同中货款总额的15%)。
十、用户培训
1.承包人按照其投标文件中的承诺,对发包人提供现场培训。在对本合同之系统的用户进行培训时不得向发包人收取任何费用。
2.承包人应制订详细的用户培训计划,编写用户培训材料。承包人应指定专门的培训教师进行用户培训,对发包人指派的设备操作人员进行系统操作和维修方面的培训,使之达到对承包人提供的产品能熟练操作并进行日常维护和简单维修的水平,确保工程移交后发包人维护人员能够独立完成相关维护工作。
3.承包人在进行用户培训时,发包人有义务为承包人提供必要的条件和协助。
4.承包人不得拒绝培训,如因承包人原因在培训过程中未能尽责,致使经过培训的发包人系统管理人员在未来的工作中,不能完全独立承担对整个系统的日常管理和维护工作的,则视为承包人构成违约,承包人应负责继续培训直至发包人人员能够独立对系统进行管理和维护,承包人并应向发包人支付本合同总金额 %的违约金。
十一、设备及售后维护服务
1.承包人应保证本合同项下所供货物是全新的、未经使用过的,是成熟稳定的产品。承包人保证,本合同项下提供的全部货物无设计、材料及工艺上的缺陷,并且不存在因承包人的故意或疏忽行为而产生的缺陷。
2.承包人提供的设备除了应满足约定的标准外,还应同时满足中国国家标准、行业标准及生产国国家标准的要求。各个标准之间不一致的,以标准更高者为准。
3.承包人提供的设备,其技术配置和技术参数应与约定的内容完全符合,其质量标准不低于投标文件所承诺的标准。
4.竣工验收合格后,即进入本合同的系统维保期。设备的质保期从本项目竣工验收合格之日起开始计算,质保期为 年,质保期内的维修保养按承包人在投标书中提供的维修保养计划执行。质保期满后进入保修期,保修期为 年,保修期内的维修保养按承包人在投标书中提供的维修保养计划执行。
5.若设备在质保期内发现缺陷,发包人应尽快以书面形式通知承包人,承包人应在收到通知后的 天内,对有缺陷的设备或部件进行无偿的维修或更换。
6.承包人承诺在 年的维保期内,若在本项目中采购的设备发生故障或发现有安全隐患问题的,承包人要求供应商维修响应及故障解决的时间为:一旦发生产品质量及安装问题,供应商保证在接到通知24小时内赶到现场,进行免费维修或更换有缺陷的设备或部件;响应时间:6小时响应;修复时间:72小时内;冗余服务:在24小时内或紧急情况下,未能修复,提供具有同样功能的设备供使用单位使用。
7.承包人承诺提供在本合同维修保养责任外(如使用方人为损坏、不合理使用、偷盗、撞击等情况)的有偿服务,包括系统正常运转所需的备件、辅料附件、易损件、专用工具、施工费用或经营费用等的供货价格和供货保证。
8.对于承包人所提供的厂家设计、制造该产品的规定使用寿命期限大于 年的维保期的货物,承包人应当保证该产品能够满足设计使用寿命期限内的正常、安全地使用,不得以维保期已过为由拒不承担产品质量瑕疵担保责任。
十二、项目经理
为保证本合同内容的顺利完成,双方确定,在本合同有效期内发包人指定 为承包人的项目经理,联系电话: ,邮箱: ,承包人指定 为承包人的项目经理,联系电话: ,邮箱: 。
项目经理权利和责任如下:
1.项目联络;
2.组织和协调项目进展;
3.代表委派方签署合同变更的文件(包括但不限于项目相关文件的签字确认权)。
一方变更项目经理的,应当提前 日以书面形式通知另一方。未及时通知并影响本合同履行或造成损失的,应当由过错方承担相应的责任。
十三、双方权利义务及违约责任
1.发包人的权利义务
(1)对本项目承包人履行合同情况进行监督、提出合理意见,验收本合同的项目成果。
(2)发包人应按照本合同的规定,按时支付合同价款。
(3)本合同签定后,发包人应配合承包人对系统需求进行了解。
(4)在项目实施过程中,发包人负责提供工程建设过程中所需的包括安装调试的网络环境等具体条件。
(5)对本项目履行过程中获悉的承包人秘密进行保密。
2.承包人的权利义务
(1)根据合同进度向发包人申请领取项目款项。
(2)承包人组织技术人员根据发包人要求及时完成安装调试。
(3)承包人应按规范、标准、设计要求及发包人依据本合同发出的指令进行施工,随时接受发包人派出人员的检查,并给予积极配合和改进,为检查提供便利条件。
(4)承包人负责所有设备的施工、部署及安装调试服务。
(5)工程质量不符合设计要求和有关规定,发包人有权要求停工和返工,承包人需立即执行,返工所发生的一切费用由承包人承担,工期不顺延。
(6)承包人应当保证对发包人向承包人提供一切资料仅用于与合作有关的用途和目的。
(7)承包人保证保密信息控制在最小知悉人员范围内,做好人员的保密教育并指出其应该承担的保密义务和法律责任。
(8)完成项目后,承包人按照发包人要求根据相关规定处理技术材料。该项目取得的科研成果,未经发包人审核同意不得擅自申请专利、转让技术、对外披露。
(9)承包人及承包人工作人员进场施工前必需与发包人签订保密承诺书。
(10)承包人应根据项目建设进度,及时向发包人提供合法、有效、等额的发票。
(11)承包人需对进入项目施工现场的工作人员加强安全生产教育,并应按安全施工、文明施工的有关规定,采取严格、科学的安全防护措施;按有关规定购买施工人员保险,确保施工安全和第三者的安全,承担由于自身安全措施不力造成的一切责任和发生的一切费用,发包人对此不负任何责任。
3.发包人的违约责任
(1)如发包人无正当理由未按合同规定期限或金额向承包人支付合同价款造成逾期的,每逾期一日发包人向承包人支付未付款部分费用0.01%的违约金。如逾期超过 日,承包人有权解除合同并要求发包人赔偿由此造成的相应损失。
(2)若一方未按合同约定单方面终止合同,另一方有权要求该方支付合同总额 %的违约金或赔偿损失。
(3)若发包人侵害了承包人知识产权,则应负责赔偿由此而给承包人造成的经济损失,并对连带的其他法律后果承担责任。
(4)因发包人未能履行合同中规定的保密条款,造成其他方损失的,发包人应根据所造成的损失大小向其他方赔偿,其他方保留向发包人提出法律诉讼的权利。
(5)发包人若无正当理由而拒收承包人交付的、符合招标书要求和本合同规定的合格产品设备,因而拒绝支付产品设备款项的,发包人应向承包人赔偿不高于设备总值3%的违约金。
4.承包人的违约责任
(1)如因承包人的原因未按本合同规定的项目阶段进度要求完成工作,每延期一日,由承包人按应交付项目服务费用的0.01%承担违约金,发包人在支付相关阶段款项时扣除。如承包人同意阶段付款向后合并,延期日从下一阶段截止日开始计算,如在下一阶段截止日完成工作进度,不用支付延期违约金。延期 个工作日后,发包人有权解除合同。发包人解除合同后,承包人应立即通过承包人向发包人全额退还发包人所付款项,并赔偿发包人的损失。
(2)若承包人侵害了发包人知识产权,则应负责赔偿由此而给发包人造成的经济损失,并对连带的其他法律后果承担责任。
(3)因承包人未能履行合同中规定的保密条款,造成其他方损失的,承包人应根据所造成的损失大小向其他方赔偿,其他方保留向承包人提出法律诉讼的权利。
(4)承包人在履行售后服务过程中,因整改造成发包人损失的,应承担修复和赔偿责任。
(5)承包人未能履行合同义务或迟延履行造成重大损失的,发包人有权拒绝支付尾款或延长免费维护期,承包人应根据所造成的损失大小向发包人赔偿。造成重大损失和严重后果的,发包人有权追究承包人的法律责任。
(6)在初验阶段,承包人根据发包人的整改意见进行整改,整改后的软件系统在发包人及工程检测方初步验收时仍未达到合同约定的质量要求,发包人仍有权要求承包人整改。多次整改导致项目进度延期造成发包人损失的,承包人应当赔偿发包人所受的相应损失。
(7)承包人未达到技术方案中所确定的技术要求或合同约定的质量要求,在收到监理方书面整改通知后,超过约定时间 个工作日不能完成整改,发包人有权要求承包人终止项目工作,可以拒付终止日以后的全部费用,承包人应赔偿发包人损失。
(8)如果发包人因按照合同及附件的约定使用承包人提供的设备和/或软件而被第三方提出侵权指控,承包人须承担由此而引起的相关责任和费用,并赔偿发包人由此引起的一切损失。
(9)承包人不履行合同义务并经催告多次仍拒绝履行的,发包人有权解除合同,承包人应立即退还不符合合同约定部分的发包人所付款项,并赔偿发包人的损失,承包人应承担有关法律责任。除法律规定外,承包人无权单方中止或解除合同。
(10)承包人因本协议的履行或预期履行而产生的协议、侵权、不实陈述、恢复原状或其他责任的总计责任限额,不超过承包人基于本协议实际收取的总金额的100%,但承包人恶意或者故意违约行为除外。
(11)在任何情况下,一方都不对其他方(或通过发包人索赔的任何人)所承受的以下任何损失或损害承担任何责任,无论这些损失或损害是直接还是间接的,是立即的还是后果性的,是基于协议、侵权(包括过失)或任何其他诉求产生的:利润损失、预期收益损失、商业机会的丧失、商誉损失。
(12)特别约定(如果有),承包人未经发包人书面同意,不得将本合同之项目的部分或全部转包给第三方进行实施或施工,否则,承包人须向发包人交纳本合同总金额的 %作为项目违约金。同时,承包人须向发包人退回发包人已向承包人支付的所有本合同工程款,本合同即时解除。
(13)若承包人所交付的设备和系统软件品种、型号、规格、质量不符招标书的要求和本合同规定标准,发包人有权拒绝收货。同时,在承担更换、修理、重做等形式的基础上,承包人应向发包人赔偿不高于设备总值 %的违约金。
(14)质量不合格的违约处理。若承包人对本合同采购的设备和施工质量不合格负有责任,而发包人提出了索赔,承包人应退货并将货款退还给发包人,并承担由此发生的项目相关损失和费用。
十四、所有权、知识产权和使用权
1.各方既有产品的知识产权归各自所有。由发包人基于项目提供的资料、信息的知识产权归属于发包人所有。承包人基于本合同项目所提供既有的产品或软件的知识产权属于承包人所有。
2.除专用条款另有约定外,发包人提供给承包人的图纸、发包人为实施工程自行编制或委托编制的技术规范以及反映发包人要求的或其他类似性质文件的著作权属于发包人,承包人可以为实现本合同目的而复制或者以其他方式使用此类文件,但不能用于与本合同无关的其他事项。未经发包人书面同意,承包人不得为了本合同以外的目的复制或者以其他方式使用上述文件或将之提供给任何第三方。
3.除专用条款另有约定外,承包人为履行本合同约定而编制的成果文件,其著作权属于承包人所有(也可由双方友好协商确定)。承包人可以为实现合同目的而复制、使用此类文件,但不能擅自修改或用于与本合同无关的其他事项。
本合同涉及的全部资料(包括但不限于发包人向承包人提供的资料、承包人履行合同制作的过程性、成果性的电子或纸质材料),承包人须在本合同履行完毕后五个工作日内及时移交发包人,承包人不得擅自留存。若因承包人原因造成发包人损失,则承包人应承担相应法律责任。
4.双方保证在履行本合同过程中不侵犯对方及第三方的知识产权。因承包人侵犯他人知识产权所引起的责任,由承包人承担;因发包人提供的基础资料导致侵权的,由发包人承担责任。
5.未经发包人同意,承包人不能以发包人的名义或易引起他人误以为是发包人的方式从事与本项目无关的活动。
6.非本合同约定或未经对方书面同意,非知识产权所有方不得以任何方式向第三方披露、转让或许可使用本项目有关的软件成果、专利技术、技术秘密等。
十五、保密
1.发包人、承包人双方应保守的秘密是指不为公众所知悉、能为权利人带来经济利益、具有实用性并经权利人采取保密措施的技术信息和经营信息,或由双方在履行本合同过程中明确指明为秘密的、法律所认可的任何信息,以及承包人在履行本合同过程中所获得或接触到的任何发包人内部数据资料。
2.对于一方向另一方提供或使用的资料和秘密信息,另一方负有安全保护和保密的责任,不得向任何第三方透露、不得随意丢弃而造成泄密;对于本合同项目的最终成果及阶段性成果,双方均负有保密义务,否则即构成违约,违约方应以合同总价款 %的标准向另一方支付违约金并赔偿因违约给另一方造成的损失,构成犯罪的依法追究刑事责任。
3.获取对方秘密的一方仅可以将该秘密用于履行其在本合同项下的义务,且只能由相关的技术人员使用。
4.获取对方秘密的一方应当采取有效的保护方式防止秘密未经授权而被使用、传播或公开。
5.上述保密义务不适用以下情况:
(1)获取的信息已被合法公开;
(2)获得信息拥有方书面许可;
(3)国家法律、法规规定的情形。
6.承包人实施项目的程序应符合国家安全、保密的有关规定和标准。
7.承包人同意签订保密承诺书,以保障上述保密条款所规定义务的有效履行。
8.其他(如果有):
本合同保密条款具有独立性,在本合同终止或解除后仍长期有效。
十六、本合同工程的系统功能变更
承包人在本合同工程实施过程中,不得自行改变本合同实施的系统功能或结构。在项目实施过程中,发包人可按需求的变化提出功能或结构的修改意见,在与承包人充分协商的基础上,承包人应根据发包人的意见对系统进行变更。
十七、承诺
1.发包人承诺按照法律规定履行项目审批手续、筹集工程建设资金并按照合同约定的期限和方式支付合同价款,履行本合同所约定的全部义务。
2.承包人承诺按照法律规定及合同约定组织完成设计、采购、施工,确保工程质量和安全,不进行转包及违法分包,并在缺陷责任期及保修期内承担相应的工程维修责任,履行本合同所约定的全部义务。
3.发包人和承包人理解并承诺不再就同一工程另行签订与合同实质性内容相背离的协议。
4.双方承诺在任何情况下,一方都不对其他方(或通过发包人索赔的任何人)所承受的以下任何损失或损害承担任何责任,无论这些损失或损害是直接还是间接的,是立即的还是后果性的,是基于协议、侵权(包括过失)或任何其他诉求产生的:利润损失、预期收益损失、商业机会的丧失、商誉损失。
十八、组成合同的文件
在合同订立及履行过程中形成的与合同有关的文件均构成合同文件组成部分。组成合同的各个文件应该是一个整体,彼此相互解释,互为说明。除本合同有特别说明外,本合同组成文件及优先解释顺序如下:
(1)本合同签订后双方新签订的补充协议;
(2)合同(协议)书;
(3)中标通知书及其附件(如果有);
(4)投标函及投标函附录(如果有);
(5)专用合同条件(若与本合同有冲突的地方,以本合同为准)及《发包人要求》等附件;
(6)通用合同条件(若与本合同有冲突的地方,以本合同为准);
(7)承包人建议书;
(8)价格清单;
(9)其他合同文件。
上述各项合同文件包括双方就该项合同文件所作出的补充和修改,属于同一类内容的合同文件应以最新签署的为准。专用合同条款及其附件须经合同当事人签字或盖章。
十九、争议解决等
1.不可抗力
(1)发生诸如自然灾害、战争、地震突发事件等人力不可抗拒的情况时,承包人应及时通知发包人,积极采取措施,减少损失,并及时报告受害情况,双方承担各自的损失。由于其中一方延迟履行合同义务后发生不可抗力的,不能免除责任。
(2)由于不可抗力,造成本合同不能正常履行,则由合同双方协商决定是否继续履行合同。
2.争议解决
(1)双方就合同条款的解释或履行以及与项目密切相关的事项发生争议,应在 个工作日内友好协商解决,协商不成,应提交发包人所在地法院进行诉讼解决。
(2)因质量问题发生的争议,由双方共同书面指定的国家权威技术单位进行质量鉴定,该鉴定结论是终局的,双方应当接受。
二十、其他
1.本合同的适用法律:合同双方应遵守《中华人民共和国民法典》及其他相关的法令和条例。因本合同引起的或与本合同有关的争议,双方应通过协商解决;协商解决不成的,双方均同意向发包人所在地人民法院诉讼解决。
2.本合同未尽事宜,双方可协商解决,并签订书面补充协议。该补充协议与本合同具同等的法律效力。
3.承包人就本合同工程的投标文件的内容,与本合同具有同等的法律效力。投标文件中和本合同条款有差异的部分,按照本合同条款的规定执行。在本合同中未涉及但在承包人的投标文件中涉及到的内容按投标文件中的条款执行。
4.(如果有)本合同附件与本合同具有同等的法律效力。若附件与本合同有冲突的地方,以本合同为准。
5.本合同自双方法定代表人或授权代表签字并加盖双方主体印章之日起生效。本合同壹式 份,发包人执 份,承包人执 份,均具同等法律效力。
6.本合同订立时间: 年 月 日;
(以下无正文,为合同签字页)
打印、下载











"i福田"小程序
幸福福田公众号
福田政务公众号